Запчасти Case IH 1270 (292) - CAB, PLENUM, WITHOUT HEATER OR AIR CONDITIONER, USED PRIOR TO CAB SERIAL NUMBER 7814176 (09) - CHASSIS/ATTACHMENTS

Схема запчастей Case IH 1270 - (292) - CAB, PLENUM, WITHOUT HEATER OR AIR CONDITIONER, USED PRIOR TO CAB SERIAL NUMBER 7814176 (09) - CHASSIS/ATTACHMENTS
12
21
1
12
9
7
6
16
5
3
17
12
17
16
11
8
23
15
18
10
19
4
10
18
13
20
22
24
2
FIT
1:1
100%

Артикул

Название

Примечание

Количество

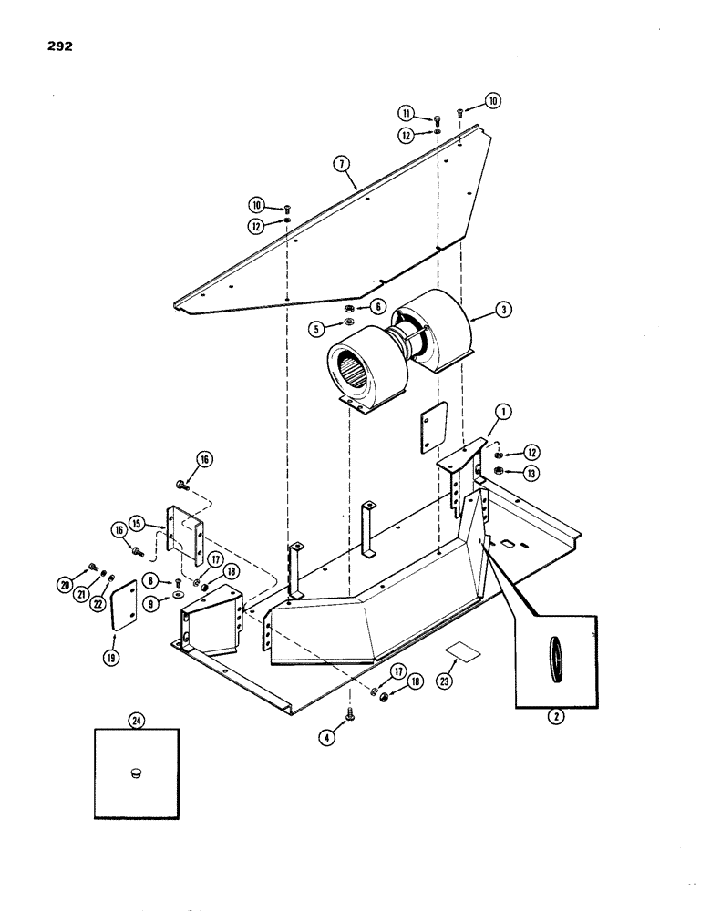
1

F89652

PLENUM ASSY. - cab

1шт.

2

A42502

GROMMET

- blower wire

1шт.

3

NSS

NOT SOLD SEPARAT

BLOWER ASSY. - cab air (See Figure 296)

1шт.

4

175-402

SCREW,Sl Truss Hd, 1/4" - 20 x 5/8"

- 1/4 x 5/8" N.C. sltd. truss hd.

4шт.

5

192-19

LOCK WASHER,Helical Spring, 0.256" ID, CST, ZND

WASHER, LOCK, 1/4"

4шт.

6

7770

NUT,Hex, 1/4 - 20, Cl 5

1/4"-20, G5

4шт.

7

F63286

COVER - plenum

1шт.

8

173-204

SCREW,Sl Rnd Hd, #10 - 24 x 3/4"

- #10 x 3/4" rd. hd. sltd.

4шт.

9

195-101

WASHER,3/16"

- 1/4 x 9/16 x 3/64"

4шт.

10

175-402

SCREW,Sl Truss Hd, 1/4" - 20 x 5/8"

- 1/4 x 5/8" N.C. sltd. truss hd.

12шт.

11

113-2

BOLT,Hex, 1/4" - 20 x 5/8", Gr 5

2шт.

12

192-19

LOCK WASHER,Helical Spring, 0.256" ID, CST, ZND

WASHER, LOCK, 1/4"

14шт.

13

7770

NUT,Hex, 1/4 - 20, Cl 5

1/4"-20, G5

14шт.

15

A42532

FILLER - plenum, R.H. & L.H.

2шт.

16

113-2

BOLT,Hex, 1/4" - 20 x 5/8", Gr 5

8шт.

17

192-19

LOCK WASHER,Helical Spring, 0.256" ID, CST, ZND

WASHER, LOCK, 1/4"

8шт.

18

7770

NUT,Hex, 1/4 - 20, Cl 5

1/4"-20, G5

8шт.

19

F63250

SEAL

-, Serial Range: plenum-cab

2шт.

20

113-1

BOLT,Hex, 1/4" - 20 x 1/2", Gr 5

4шт.

21

192-19

LOCK WASHER,Helical Spring, 0.256" ID, CST, ZND

WASHER, LOCK, 1/4"

4шт.

22

195-518

WASHER,1/4", SAE

(9/32 x 5/8 x 1/16") 1/4", SAE

4шт.

23

NSS

NOT SOLD SEPARAT

TAPE -drip pan holes, 2" wide x 3" long

2шт.

Выбрано товаров: 0