Запчасти Case IH 1270 (294) - CAB, BLOWER, FIRST USED CAB SERIAL NUMBER 7814176 (09) - CHASSIS/ATTACHMENTS

Схема запчастей Case IH 1270 - (294) - CAB, BLOWER, FIRST USED CAB SERIAL NUMBER 7814176 (09) - CHASSIS/ATTACHMENTS
7
4
10
8
2
3
11
7
8
6
9
1
6
7
8
7
11
5
5
8
FIT
1:1
100%

Артикул

Название

Примечание

Количество

1

NSS

NOT SOLD SEPARAT

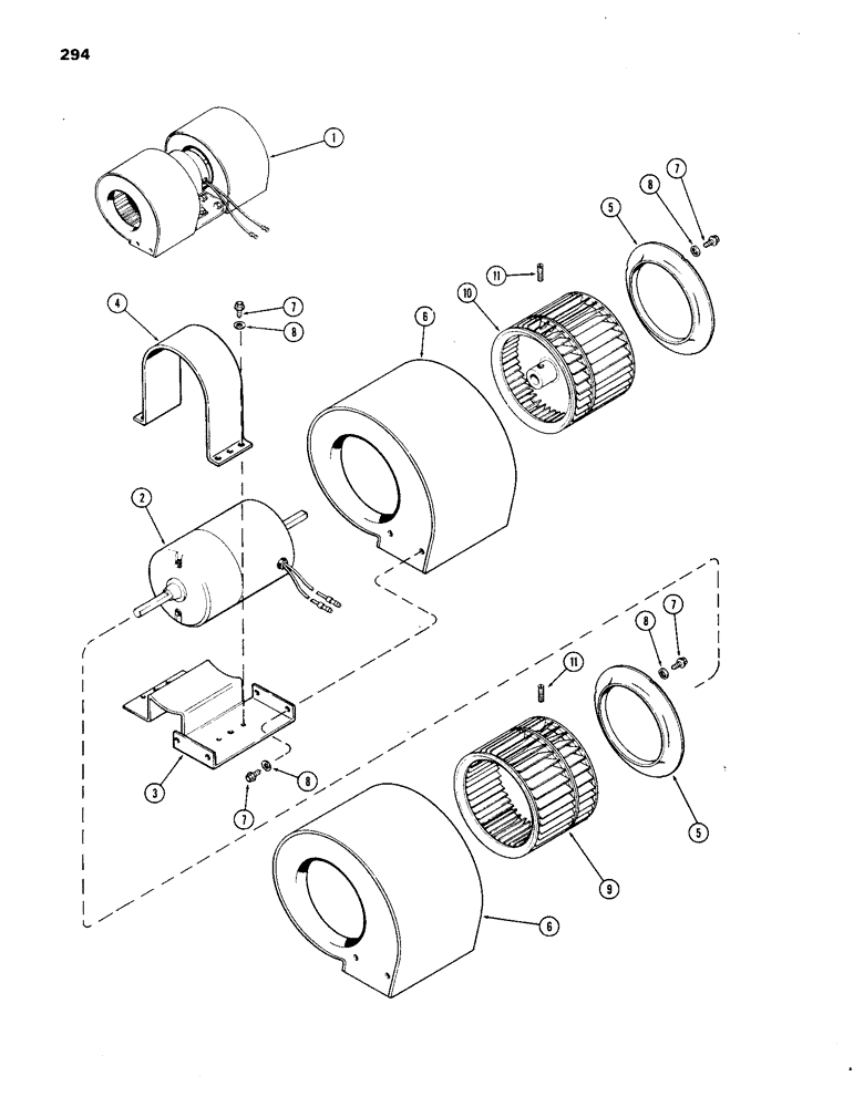
BLOWER ASSY. - cab air, Includes: Ref. 2 - 11

1шт.

2

F89750

MOTOR, ELECTRIC

MOTOR - blower

1шт.

3

F63652

MOTOR, ELECTRIC

MOUNT - motor

1шт.

4

F63650

CLAMP

- motor

1шт.

5

F63655

RETAINER

EYE - inlet

2шт.

6

F89797

HOUSING

- blower

2шт.

7

187-1054

SELF-TAP SCREW,Hex Wash Hd, #10 x 1/2"

SCREW - #10-24 x 1/2" hex. sltd. washer hd.

13шт.

8

193-6

LOCK WASHER,Ext Tooth, #10

WASHER - lock, #10 int. Shakeproof

13шт.

9

A42568

WHEEL

- blower, R.H.

1шт.

10

A42569

BLOWER,Fan, RH

- blower, L.H.

1шт.

11

84-410

SET SCREW,Hex Soc, 1/4"-28 x 5/8"

SCREW - set, 1/4" N.F. cup point socket hd.

2шт.

Выбрано товаров: 0