Запчасти Case IH 1270 (336) - CAB, MIRRORS (09) - CHASSIS/ATTACHMENTS

Схема запчастей Case IH 1270 - (336) - CAB, MIRRORS (09) - CHASSIS/ATTACHMENTS
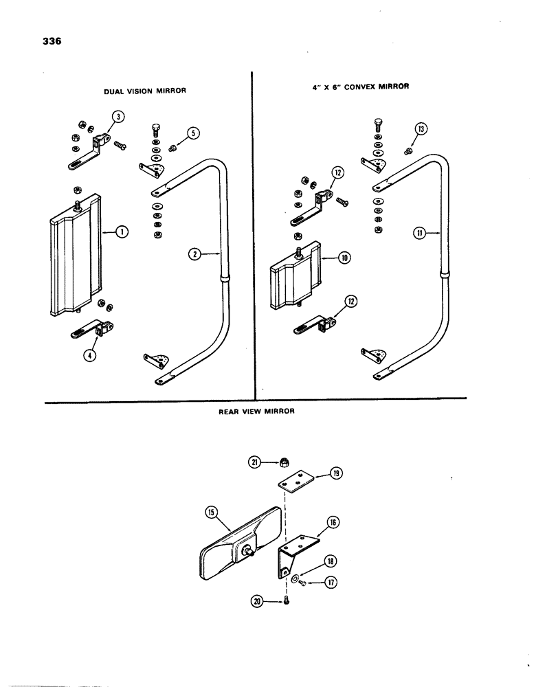
20
17
19
12
16
1
11
12
5
13
18
3
4
10
21
15
2
FIT
1:1
100%

Артикул

Название

Примечание

Количество

A61895

ATTACHMENT

- mirror (Mach. Item), dual vision, Includes: Ref. 1 - 5

1шт.

NSS

NOT SOLD SEPARAT

MIRROR ASSY. - dual vision (Order A61895), Includes: Ref. 1 - 5

1шт.

1

A42765

MIRROR

- dual vision

1шт.

2

A42764

BRACKET

- mirror swing away, dual vision

1шт.

3

A42766

ADAPTER

- mirror bracket (small), dual vision

1шт.

4

A42767

ADAPTER

- mirror bracket (large), dual vision

1шт.

5

187-1009

BOLT

- 1/4 x 3/8" hex., Shakeproof, dual vision

4шт.

A61897

KIT

ATTACHMENT - mirror (Mach. Item), 4 x 6 convex, Includes: Ref. 10 - 13

1шт.

NSS

NOT SOLD SEPARAT

MIRROR ASSY. - 4 x 6 convex (Order A61897)

1шт.

10

A42768

MIRROR

- 4 x 6 convex

1шт.

11

A42764

BRACKET

- mirror swing away, 4 x 6 convex

1шт.

12

A42767

ADAPTER

- mirror bracket, 4 x 6 convex

2шт.

13

187-1009

BOLT

- 1/4 x 3/8" hex., Shakeproof, 4 x 6 convex

4шт.

F89785

MIRROR

ATTACHMENT - inside rear view mirror, Includes: Ref. 15 - 21

1шт.

15

F89695

MIRROR

- rear view, inside

1шт.

16

F63369

BRACKET

- mounting, inside rear view

1шт.

17

163-18

SCREW,Hex, #10 - 24 x 3/8"

- #10-24 x 3/8" hex. hd., inside rear view

1шт.

18

195-511

WASHER,#10

- plain, 13/64 x 15/32 x 1/16", inside rear view

1шт.

19

F63381

PLATE

- back-up, mirror, inside rear view

1шт.

20

173-212

SCREW,Sl Rnd Hd, #10 - 24 x 1/2"

- #10-24 x 1/2" rd. hd. machine, inside rear view

3шт.

21

86625057

NUT,#10-24, GB

NUT, LOCK, , Esna, Inside rear view #10-24, GB

3шт.

Выбрано товаров: 0