Запчасти Case IH 1270 (044) - FUEL TANK SUPPORTS, 451 BDT, DIESEL ENGINE, FIRST USED TRACTOR S/N 8715153 (03) - FUEL SYSTEM

Схема запчастей Case IH 1270 - (044) - FUEL TANK SUPPORTS, 451 BDT, DIESEL ENGINE, FIRST USED TRACTOR S/N 8715153 (03) - FUEL SYSTEM
31
8
11
13
28
25
16
15
24
5
14
6
2
24
30
21
1
22
25
20
10
24
15
27
9
12
25
29
3
26
4
23
7
FIT
1:1
100%

Артикул

Название

Примечание

Количество

1

A63705

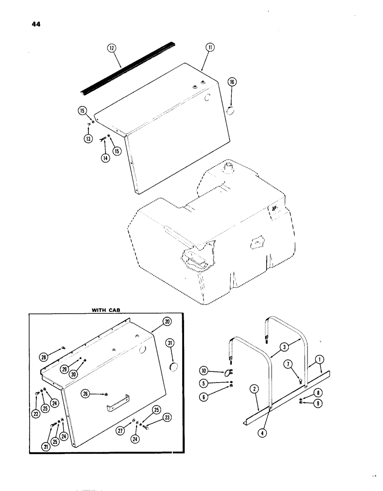
STRAP

ASSY. - fuel tank mounting, Includes: Ref. 2 - 4

1шт.

2

A63706

BRACKET

ANGLE - anchor

1шт.

3

A63992

STRAP

- mounting

2шт.

4

49-48

RIVET,Truss Hd, 1/4" x 1/2"

- strap to angle, 1/4 x 1/2" truss hd.

2шт.

5

92-6

LOCK WASHER,3/8"

2шт.

6

25-106

NUT,3/8"-16, G5

- 3/8" N.C. hex.

2шт.

7

13-616

BOLT,Hex, 3/8" - 16 x 1", Gr 5, Full Thd

2шт.

8

92-6

LOCK WASHER,3/8"

2шт.

9

25-106

NUT,3/8"-16, G5

- 3/8" N.C. hex.

2шт.

10

A66050

SPRING

- mounting strap

2шт.

11

A66158

COVER

- fuel tank (w/o cab), covers

1шт.

12

A64866

GUARD

MOLDING - cover, fuel tank

1шт.

13

113-206

BOLT,Hex, 3/8" - 16 x 3/4", Gr 5, Full Thd

Fuel tank covers Hex, 3/8"-16 x 3/4", G5, Full Thd

6шт.

14

113-213

BOLT,Hex, 3/8" - 16 x 2-1/4", Gr 5

Fuel tank covers Hex, 3/8"-16 x 2 1/4", G5

2шт.

15

195-526

WASHER,7/16" x 7/8" x .083"

- 7/16 x 1 x 5/32", fuel tank covers

8шт.

16

205-72

HOLE PLUG BUTTON,3"

PLUG - access hole (3-5/16" button type), fuel tank covers

1шт.

20

A66160

COVER

- fuel tank, used with cab

1шт.

21

113-287

BOLT,Hex, 3/8" - 16 x 1-3/4", Gr 8

- 3/8 x 1-3/4" N.C. hex., fuel tank covers, used with cab

2шт.

22

113-386

BOLT - 3/8 x 3/4" N.C. hex., fuel tank covers, used with cab

4шт.

23

113-2223

BOLT,Hex, 3/8" - 16 x 1-1/2", Gr 8

- 3/8 x 1-1/2" N.C. hex., fuel tank covers, used with cab

2шт.

24

195-104

WASHER,3/8"

- 7/16 x 1 x 5/32", fuel tank covers, used with cab

8шт.

25

195-21

WASHER,5/16"

- lock, 3/8", Fuel tank covers, used with cab

8шт.

26

129-103

NUT,Hex, 3/8" - 16, Gr 5

NUT, , Fuel tank covers, used w/ cab 3/8"-16, G5

2шт.

27

A62687

SHIM,.11" Thk

Cover, Fuel tank covers, used with cab .11" Thk

1шт.

28

113-102

BOLT,Hex, 5/16" - 18 x 3/4", Gr 5

Hex, 5/16"-18 x 3/4", G5, Full Thd, Fuel tank covers, used with cab

7шт.

29

192-20

LOCK WASHER,Helical Spring, 0.318" ID, CST, ZND

WASHER, LOCK, , Fuel tank covers, used w/cab 5/16"

7шт.

30

9635082

NUT,5/16" - 18, Gr 5

Fuel tank covers, used with cab 5/16"-18, G5

7шт.

31

205-72

HOLE PLUG BUTTON,3"

PLUG - access hole (3-5/16" button type), fuel tank covers, used with cab

1шт.

Выбрано товаров: 28