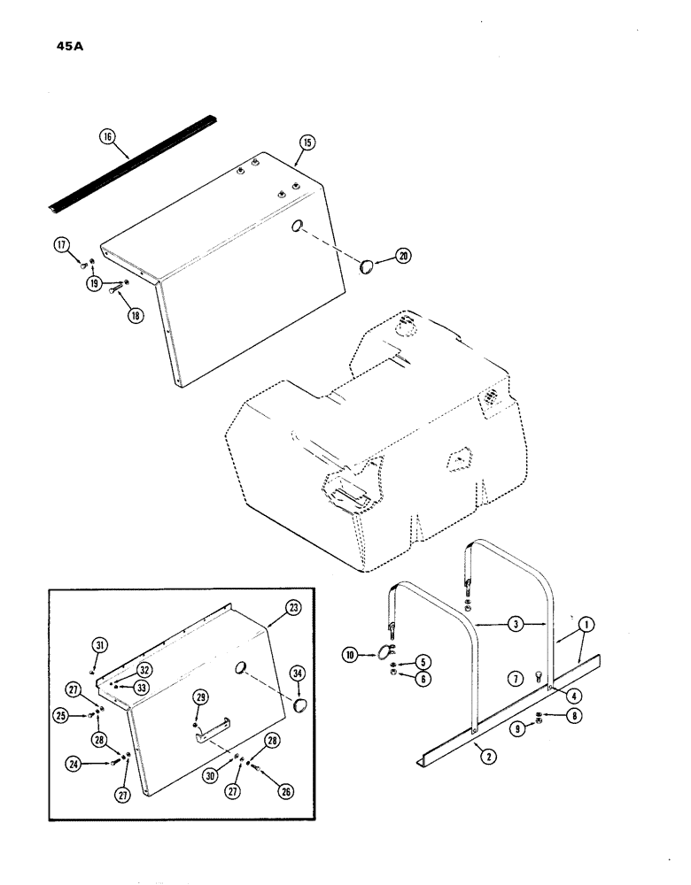
Запчасти Case IH 1270 (045A) - FUEL TANK SUPPORTS, 451BDT, DIESEL ENGINE, USED PRIOR TO TRACTOR S/N 8715153 (03) - FUEL SYSTEM

Схема запчастей Case IH 1270 - (045A) - FUEL TANK SUPPORTS, 451BDT, DIESEL ENGINE, USED PRIOR TO TRACTOR S/N 8715153 (03) - FUEL SYSTEM
33
2
32
16
17
7
26
24
31
27
27
28
23
19
5
10
27
29
1
34
20
30
6
28
3
15
4
8
9
18
25
FIT
1:1
100%

Артикул

Название

Примечание

Количество

1

A63705

STRAP

ASSY. - fuel tank mounting

1шт.

2

A63706

BRACKET

ANGLE - anchor

1шт.

3

A63992

STRAP

- mounting

2шт.

4

49-48

RIVET,Truss Hd, 1/4" x 1/2"

- strap to angle

2шт.

5

92-6

LOCK WASHER,3/8"

4шт.

6

25-106

NUT,3/8"-16, G5

- 3/8" N.C. hex

4шт.

7

13-616

BOLT,Hex, 3/8" - 16 x 1", Gr 5, Full Thd

2шт.

8

92-6

LOCK WASHER,3/8"

2шт.

9

25-106

NUT,3/8"-16, G5

- 3/8" N.C. hex.

2шт.

10

A66050

SPRING

- mounting strap

2шт.

15

A63708

COVER

- fuel tank (w/o cab)

1шт.

16

A64866

GUARD

MOLDING - fuel tank cover

1шт.

17

113-206

BOLT,Hex, 3/8" - 16 x 3/4", Gr 5, Full Thd

Fuel tank covers Hex, 3/8"-16 x 3/4", G5, Full Thd

6шт.

18

113-213

BOLT,Hex, 3/8" - 16 x 2-1/4", Gr 5

Fuel tank covers Hex, 3/8"-16 x 2 1/4", G5

2шт.

19

195-526

WASHER,7/16" x 7/8" x .083"

- 7/16 x 1 x 5/32", fuel tank covers

8шт.

20

205-72

HOLE PLUG BUTTON,3"

PLUG - button, sending unit access hole, fuel tank covers 3"

1шт.

23

A64116

COVER - fuel tank (w/cab)

1шт.

24

113-287

BOLT,Hex, 3/8" - 16 x 1-3/4", Gr 8

- 3/8 x 1-3/4" N.C. hex, fuel tank covers

2шт.

25

113-286

BOLT,Hex, 3/8" - 16 x 3/4", Gr 8, Full Thd

- 3/8 x 3/4" N.C. hex., fuel tank covers

4шт.

26

113-2223

BOLT,Hex, 3/8" - 16 x 1-1/2", Gr 8

- 3/8 x 1-1/2" N.C. hex., fuel tank covers

2шт.

27

195-104

WASHER,3/8"

- 7/16 x 1 x 5/32", fuel tank covers

8шт.

28

192-21

LOCK WASHER,3/8"

WASHER, LOCK, , Fuel tank covers 3/8"

8шт.

29

129-103

NUT,Hex, 3/8" - 16, Gr 5

NUT, , Fuel tank covers 3/8"-16, G5

2шт.

30

A62687

SHIM,.11" Thk

Cover, Fuel tank .11" Thk

1шт.

31

113-102

BOLT,Hex, 5/16" - 18 x 3/4", Gr 5

Hex, 5/16"-18 x 3/4", G5, Full Thd, Fuel tank covers

7шт.

32

192-20

LOCK WASHER,Helical Spring, 0.318" ID, CST, ZND

WASHER, LOCK, , Fuel tank covers 5/16"

7шт.

33

9635082

NUT,5/16" - 18, Gr 5

Fuel tank covers 5/16"-18, G5

7шт.

34

205-72

HOLE PLUG BUTTON,3"

PLUG - access hole (3-5/16" button type), fuel tank covers

1шт.

Выбрано товаров: 28