Запчасти Case IH 1270 (095A) - FRONT WHEELS, FOR 18 INCH TIRE (05) - STEERING

Схема запчастей Case IH 1270 - (095A) - FRONT WHEELS, FOR 18 INCH TIRE (05) - STEERING
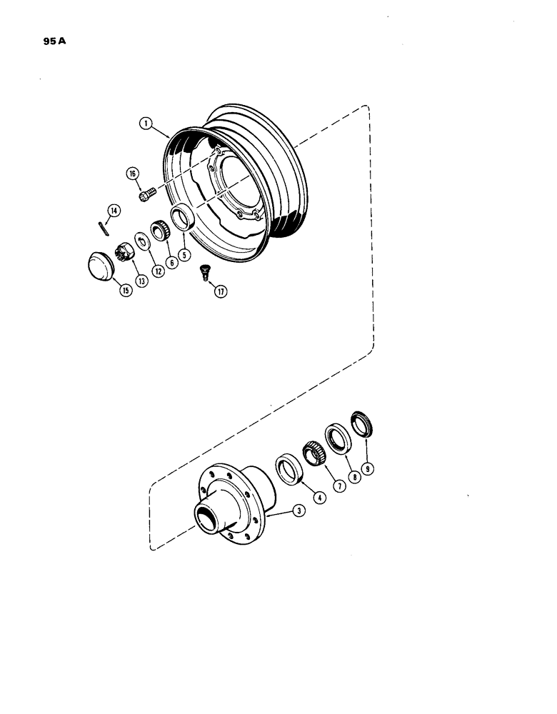
17
13
15
7
6
8
9
5
12
4
16
3
1
14
FIT
1:1
100%

Артикул

Название

Примечание

Количество

1

A63797

WHEEL - 3/4" offset (for 7.50 x 18 tire)

2шт.

3

A63801

HUB

ASSY. - front wheel, Includes: Ref. 4 and 5

2шт.

4

A61446

BEARING CUP

CUP - inner bearing (3-35/64" O.D.)

1шт.

5

G15214

BEARING CUP

CUP - outer bearing (3-3/16" O.D.)

1шт.

6

G15215

ROLLER BEARING

CONE - outer bearing (1-25/32" I.D.)

2шт.

7

A61447

ROLLER BEARING,2.1651" ID x 0.9045" Thk

CONE - inner bearing (2-5/32" I.D.)

2шт.

8

A61448

OIL SEAL,67.26mm ID x 97.16mm OD x 12.7mm Thk

- oil, outer

2шт.

9

A61449

SEAL,64.97mm ID x 94.67mm OD x 12.45mm Thk

- oil, inner

2шт.

11

A62919

WASHER

- wheel (plain for spindle w/o slot)

2шт.

12

A16357

WASHER

- wheel (w/tang for spindle w/slot)

2шт.

13

25-1918

SLOTTED NUT,1 1/8"-12, G5, Thk

NUT - slotted, 1-1/8" N.F. hex.

2шт.

14

132-99

COTTER PIN,3/16" x 2"

PIN - cotter, 3/16 x 1-7/8"

2шт.

15

A61450

BEARING CAP,3.155" ID x 3.41" OD x 1.38"

CAP - oil retainer

2шт.

16

B18264

WHEEL BOLT

BOLT - lug, front wheel (9/16 x 1-3/32" N.F. special)

16шт.

17

A38261

VALVE

- tubeless tire

2шт.

Выбрано товаров: 15