Запчасти Case IH 1270 (098) - TORQUE TUBE HOUSING (06) - POWER TRAIN

Схема запчастей Case IH 1270 - (098) - TORQUE TUBE HOUSING (06) - POWER TRAIN
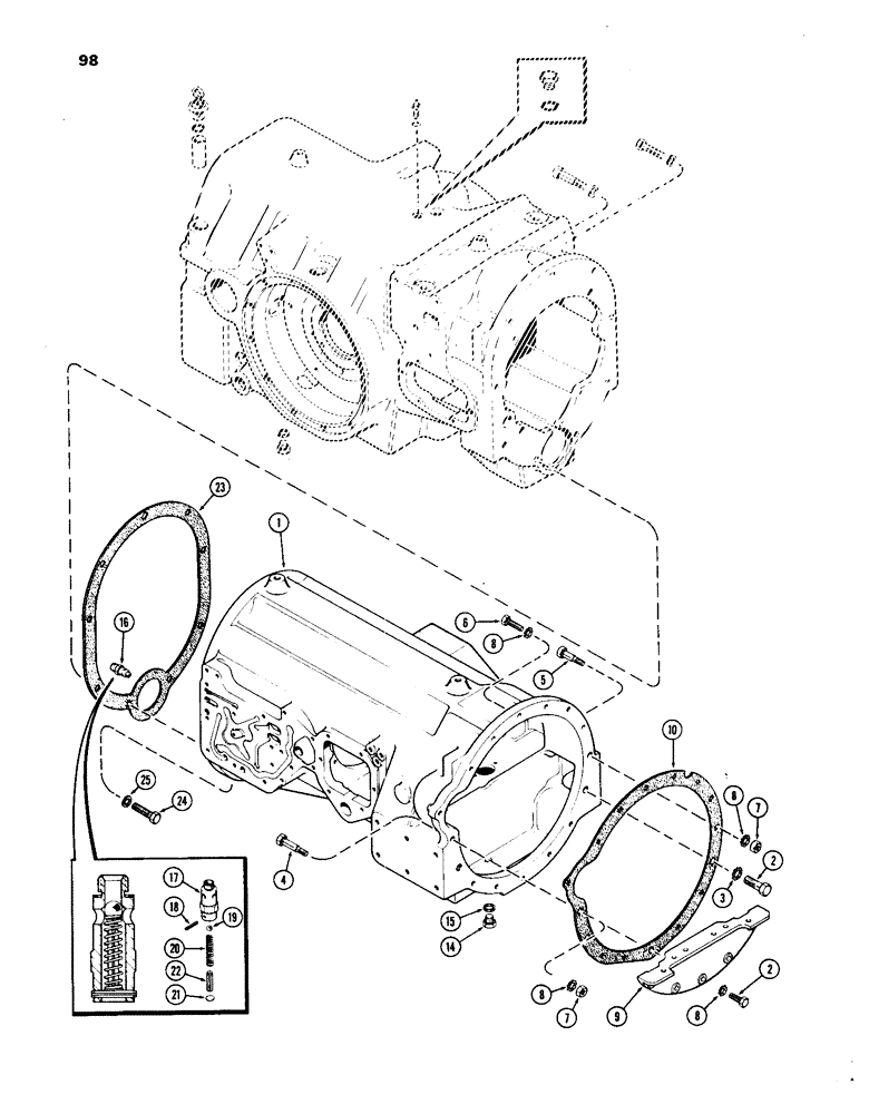
1
8
7
4
3
10
2
14
20
24
8
7
15
5
23
18
8
17
22
8
9
25
19
2
16
6
21
FIT
1:1
100%

Артикул

Название

Примечание

Количество

1

A63084

TUBE

- torque

1шт.

2

113-748

BOLT

- (3/4-10 N.C. x 2-1/2" hex.) (eng. to torque tube)

2шт.

3

A34651

LOCK WASHER

- lock (3/4" ext. tooth, heavy duty)

2шт.

4

A63730

BOLT

- dowel (1/2-13 N.C. x 3" hex. hd.)

1шт.

5

A63731

BOLT

- dowel (1/2-13 N.C. x 3-1/2" hex. hd.)

1шт.

6

113-465

BOLT

- (1/2 x 2" N.C. hex.) (eng. to torque tube)

6шт.

6

113-485

BOLT - (1/2 x 1-5/8" N.C. hex.) (cover to torque tube)

5шт.

7

25-168

NUT,1/2"-13, G5, Hvy

- hex (1/2" N.C.) (heavy)

2шт.

8

A34650

LOCK WASHER

- lock (1/2" ext. tooth, heavy duty)

13шт.

9

A75305

PLATE

- cover (1st used eng. ser. no. 2531943)

1шт.

10

A58139

GASKET

- torque, Serial Range: tube-engine

1шт.

14

A14280

PLUG

- drain, torque tube

1шт.

15

A58608

GASKET

- drain plug, torque tube

1шт.

16

A60890

VALVE

ASSY - relief, lube oil, Includes: Ref. 17 - 22

1шт.

17

NSS

NOT SOLD SEPARAT

BODY - relief valve

1шт.

18

138-57

LOCK PIN,1/8" x 3/4", Slotted

PIN, , 1/8" x 3/4", Slotted

1шт.

19

211-9

BALL,5/16" Dia

- (. chrome steel) 5/16" Dia

1шт.

20

A60889

SPRING

- relief valve

1шт.

21

195-6

WASHER,#6

- shim (5/32 x 5/16 x 1/32")

1шт.

22

138-96

LOCK PIN,3/16" x 1", Slotted

PIN, , Spring guide 3/16" x 1", Slotted

1шт.

23

A64087

GASKET

- trans. hsg. to torque tube

1шт.

24

13-1044

BOLT,Hex, 5/8" - 11 x 2-3/4", Gr 5

- (5/8 x 2-3/4" N.C. hex.) torque tube to trans. case

8шт.

25

92-10

LOCK WASHER,5/8"

WASHER, LOCK, 5/8"

8шт.

26

A63086

STEP BOLT

BOLT - dowel, torque tube

1шт.

27

92-12

LOCK WASHER,3/4"

WASHER, LOCK, 3/4"

1шт.

30

A66172

HOUSING

ASSY. - transmission, (Replaces A64406), Includes: Ref. 31 and 32

1шт.

31

A64405

TUBE

- oil filter

1шт.

32

221-31

DRAIN PLUG,Sq Soc, 1/4"-18 NPTF

PLUG - pipe, 1/4" sq. socket

1шт.

33

A14280

PLUG

- drain, trans. hsg.

1шт.

34

A58608

GASKET

- drain plug, trans. hsq.

1шт.

36

A64404

BREATHER

ASSY. - trans, oil, Includes: Ref. 37

1шт.

37

A7623

O-RING,0.139" Thk x 0.984" ID, -214, Cl 5, 75 Duro

"O" RING - (1 x 1 - 1/4 x 1/8")

1шт.

38

218-671

FITTING,Blkhd, 7/16"-20, 37 Degree x 7/16"-20, 37 Degree

- bulkhead (1/4" tube x 7/16" - 20) (Replaces A63093)

1шт.

-

(Used on tractors w/ differential lock)

1шт.

39

218-5003

O-RING,0.072" Thk x 0.351" ID, -904, Cl 6, 90 Duro

"O" RING - bulkhead fitting (Used on tractors w/ differential lock)

1шт.

40

9672438

PLUG,7/16" - 20 ORB

Assy (Used on tractors w/o differential lock) Hex Hd, 7/16"-20 ORB

1шт.

41

218-5003

O-RING,0.072" Thk x 0.351" ID, -904, Cl 6, 90 Duro

"O" RING - (23/64 x 1/4 x 5/64")

1шт.

Выбрано товаров: 37