Запчасти Case IH 1270 (099A) - TRANSMISSION HOUSING (06) - POWER TRAIN

Схема запчастей Case IH 1270 - (099A) - TRANSMISSION HOUSING (06) - POWER TRAIN
2
8
12
14
13
7
4
6
15
19
16
5
17
3
5
4
18
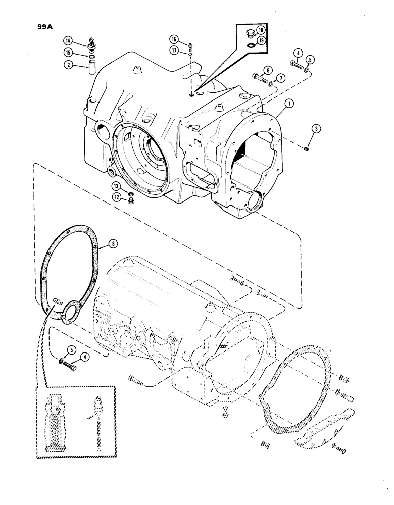
1
FIT
1:1
100%

Артикул

Название

Примечание

Количество

1

A66172

HOUSING

ASSY. - transmission (Replaces A64406)

1шт.

2

A64405

TUBE

- oil filler

1шт.

3

221-31

DRAIN PLUG,Sq Soc, 1/4"-18 NPTF

PLUG - pipe, 1/4" sq. socket

1шт.

4

13-1044

BOLT,Hex, 5/8" - 11 x 2-3/4", Gr 5

- (5/8 x 2-3/4" N.C. hex.) torque tube to trans.

8шт.

5

92-10

LOCK WASHER,5/8"

WASHER, LOCK, 5/8"

8шт.

6

A63086

STEP BOLT

BOLT - dowel, torque tube

1шт.

7

92-12

LOCK WASHER,3/4"

WASHER, LOCK, 3/4"

1шт.

8

A64087

GASKET

- transmission to torque tube

1шт.

12

A14280

PLUG

- drain, trans. hsg.

1шт.

13

A58608

GASKET

- drain plug, trans. hsg.

1шт.

14

A64404

BREATHER

ASSY. - trans. oil

1шт.

15

A7623

O-RING,0.139" Thk x 0.984" ID, -214, Cl 5, 75 Duro

"O" RING - (1 x 1-1/4 x 1/8")

1шт.

16

218-671

FITTING,Blkhd, 7/16"-20, 37 Degree x 7/16"-20, 37 Degree

- bulkhead (7/16"-20 N.F.) (Replaces A63093) (used on tractors w/differential lock)

1шт.

17

218-5003

O-RING,0.072" Thk x 0.351" ID, -904, Cl 6, 90 Duro

"O" RING - bulkhead fitting (used on tractors w/ differential lock)

1шт.

18

9672438

PLUG,7/16" - 20 ORB

Assy (Used on tractors w/o differential lock) Hex Hd, 7/16"-20 ORB

1шт.

19

218-5003

O-RING,0.072" Thk x 0.351" ID, -904, Cl 6, 90 Duro

"O" RING - (23/64 x 1/4 x 5/64")

1шт.

Выбрано товаров: 16