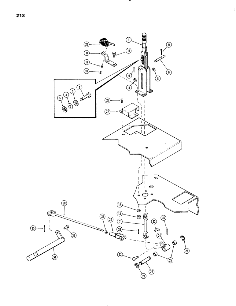
Запчасти Case IH 1270 (218) - PARKING BRAKE LINKAGE, USED PRIOR TO TRANSMISSION SERIAL NUMBER 10028201 (06) - POWER TRAIN

Схема запчастей Case IH 1270 - (218) - PARKING BRAKE LINKAGE, USED PRIOR TO TRANSMISSION SERIAL NUMBER 10028201 (06) - POWER TRAIN
12
28
28
6
8
31
35
11
5
18
25
9
21
26
35
1
10
33
20
33
13
4
22
23
32
8
27
9
34
3
24
19
2
7
30
FIT
1:1
100%

Артикул

Название

Примечание

Количество

1

A59410

LEVER

ASSEMBLY - hand, parking brake, Includes Ref: 2-5

1шт.

2

A42204

PIN

- lever

1шт.

3

A55934

WASHER

- spring (21/64 x 39/64 x 1/64") (Replaces D47261)

1шт.

4

195-521

WASHER,5/16", SAE

- (11/32 x 11/16 x 16 gauge)

1шт.

5

C14652

RING

- pin retaining

1шт.

6

A76379

PIN

- clevis (connects link to brake hand lever)

1шт.

7

A63702

CLEVIS

LINK - hand, Serial Range: lever-bellcrank

1шт.

8

195-21

WASHER,5/16"

- plain () 5/16"

2шт.

9

132-26

COTTER PIN

Pin, Split (Cotter), 3/32" x 3/4"

2шт.

10

113-293

BOLT

- (3/8 x 1" N.C. hex.) lever &, Serial Range: bracket-platform

4шт.

11

A63698

BRACKET

- parking brake light switch

1шт.

12

92-6

LOCK WASHER,3/8"

4шт.

13

25-106

NUT,3/8"-16, G5

- hex (3/8" N.C.)

4шт.

18

174-95

SCREW,Sl Rd Hd, #10 - 32 x 3/8"

- machine (#10 x 3/8" N.F. rd. hd.) brake light switch to bracket

2шт.

19

193-26

LOCK WASHER,Int Tooth, #10

WASHER, LOCK, Int Tooth, #10

2шт.

20

A33977

SWITCH

- brake light

1шт.

21

187-1053

SELF-TAP SCREW,Truss Hd, #10 x 1/2"

SCREW - (#10 x 1/2" self tapping truss hd.) cover to seat support

3шт.

22

A63699

COVER

- parking brake light switch

1шт.

23

141-3

CLEVIS PIN,5/16" x .940"

PIN, CLEVIS, (Link to bellcrank) 5/16" x .940"

1шт.

24

A65836

DIPPER

BELLCRANK ASSEMBLY - parking brake, Includes Ref: 25

1шт.

25

A59429

BUSHING,15.95mm ID x 19.13mm OD x 12.83mm L

- parking brake bellcrank

2шт.

26

132-26

COTTER PIN

Pin, Split (Cotter), 3/32" x 3/4"

1шт.

27

A65838

SHAFT

- bellcrank to bracket on platform

1шт.

28

A27785

CIRCLIP,#62, .480" Dia, E-Type

Ring, Retaining, #62, .480" Dia, E-Type

2шт.

30

A59775

ROD

- connecting

1шт.

31

25-116

NUT,Hex, 3/8"-24, G5

- hex. (3/8" N.F.)

1шт.

32

213-4

ADJUSTABLE CLEVIS,3/8"-24 x 2 1/2"

CLEVIS - adjusting (connecting rod)

1шт.

33

141-4

CLEVIS PIN,3/8" x 1.060"

PIN, CLEVIS, (Connecting rod) 3/8" x 1.060"

2шт.

34

A65834

SHAFT

- brake

1шт.

35

132-26

COTTER PIN

Pin, Split (Cotter), 3/32" x 3/4"

2шт.

Выбрано товаров: 30