Запчасти Case IH 1270 (486) - CAB, PLENUM ASSEMBLY (09) - CHASSIS/ATTACHMENTS

Схема запчастей Case IH 1270 - (486) - CAB, PLENUM ASSEMBLY (09) - CHASSIS/ATTACHMENTS
20
19
8
8
18
4
8
22
2
17
12
21
8
3
13
18
16
1
7
15
8
19
5
23
FIT
1:1
100%

Артикул

Название

Примечание

Количество

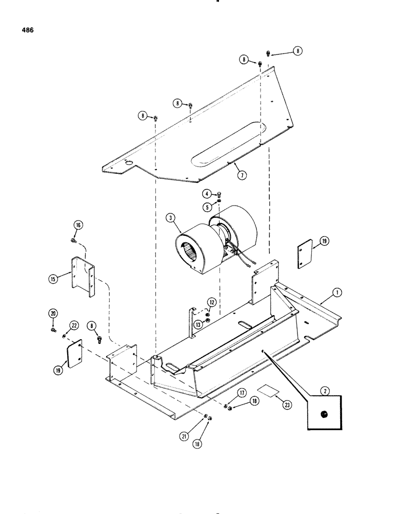
1

F89840

HEATER

PLENUM - cab

1шт.

2

A42502

GROMMET

- blower wire

1шт.

3

REF

INSTRUCTION

BLOWER ASSEMBLY - cab air, See Figure: 488

1шт.

4

117-1054

SCREW

- #10-24 x 1/2" hex. sltd. washer hd

4шт.

5

193-6

LOCK WASHER,Ext Tooth, #10

WASHER - lock, #10 int. Shakeproof

4шт.

7

F63745

HEATER

COVER - plenum

1шт.

8

187-1088

SELF-TAP SCREW,Hex Wash Hd, #10 x 1/2"

SCREW - #10-16 x 1/2" hex. sltd. washer hd

13шт.

12

195-511

WASHER,#10

- plain, 13/64 x 15/32 x 1/16"

1шт.

13

129-17

NUT,Hex, #10 - 24

NUT - hex #10-24

1шт.

15

F63749

BRACKET

FILLER - plenum, R.H. & L.H.

2шт.

16

113-2

BOLT,Hex, 1/4" - 20 x 5/8", Gr 5

8шт.

17

192-19

LOCK WASHER,Helical Spring, 0.256" ID, CST, ZND

WASHER, LOCK, 1/4"

8шт.

18

7770

NUT,Hex, 1/4 - 20, Cl 5

1/4"-20, G5

12шт.

19

F63250

SEAL

-, Serial Range: plenum-cab

2шт.

20

113-1

BOLT,Hex, 1/4" - 20 x 1/2", Gr 5

4шт.

21

192-19

LOCK WASHER,Helical Spring, 0.256" ID, CST, ZND

WASHER, LOCK, 1/4"

4шт.

22

195-518

WASHER,1/4", SAE

- plain, 9/32 x 5/8 x 1/16"

4шт.

23

345-38

TAPE - drip pan holes (7-1/2" long, Serial Range: cut-size)

1шт.

Выбрано товаров: 18