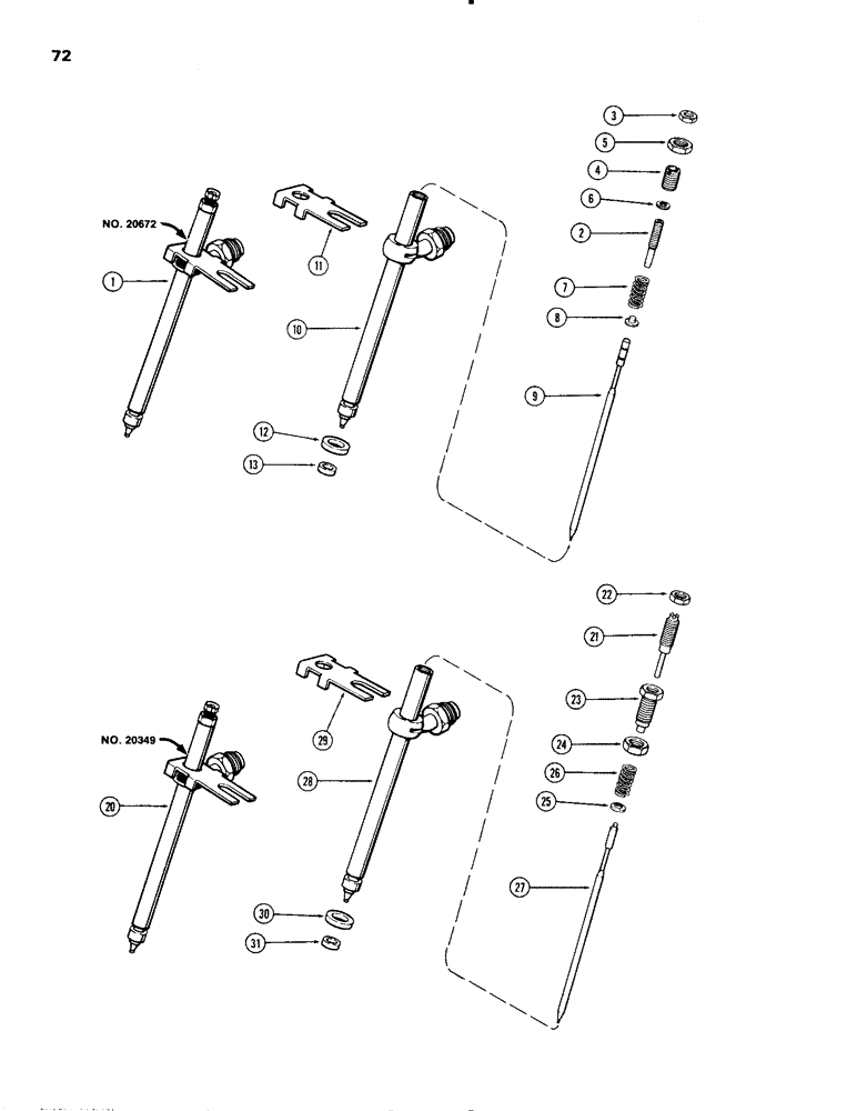
Запчасти Case IH 1270 (072) - FUEL INJECTION NOZZLE, (451BDT) DIESEL ENGINE, FIRST USED ENGINE SERIAL NUMBER 2577908 (03) - FUEL SYSTEM

Схема запчастей Case IH 1270 - (072) - FUEL INJECTION NOZZLE, (451BDT) DIESEL ENGINE, FIRST USED ENGINE SERIAL NUMBER 2577908 (03) - FUEL SYSTEM
4
29
12
21
13
30
27
28
6
24
2
5
3
20
9
1
23
25
10
7
26
8
11
31
22
FIT
1:1
100%

Артикул

Название

Примечание

Количество

1

A138323

NOZZLE CAP

NOZZLE ASSEMBLY - injection (See Note) (Replaces A76193) (Supplier No. 20672 stamped on body) (Color code red & white), Includes Ref: 2-13

6шт.

A138323R

REMAN-INJECT NOZZLE

1270 (S/N 8736001 & AFTER) FIRST USED ENGINE SERIAL NUMBER 2577908 (1/71-12/78)

6шт.

A138323C

CORE-NOZZLE, INJECT

Return Number

1шт.

2

A45293

ADJUSTMENT SCREW

SCREW - lift adjusting

1шт.

3

A43602

NUT

- lock, lift adjusting (#10-56 hex.)

1шт.

4

A45292

SCREW

- pressure adjusting

1шт.

5

A42424

LOCK NUT

- lock, pressure adjusting (5/16"-48 hex.)

1шт.

6

NLS

NO LONGER SERVICED

SEAT - pressure spring (Replaces A45291)

1шт.

7

A45290

SPRING

- pressure (43/64" free length) (green code)

1шт.

8

A45289

SEAT

- lower, pressure spring

1шт.

9

NSS

NOT SOLD SEPARAT

VALVE - nozzle

1шт.

10

NSS

NOT SOLD SEPARAT

BODY

1шт.

11

A41768

PLATE

- locating

1шт.

12

A41403

WASHER,9.55mm ID x 14.18mm OD x 3.38mm Thk

- plain (See Note)

1шт.

13

A41402

SEAL,7.89mm ID x 9.74mm OD x 2.87mm Thk

- carbon stop (See Note)

1шт.

20

A76193

NUT

NOZZLE ASSEMBLY - injection (Order A138323) (See Note) (Suppliers No. 20349 stamped on body) (Color code red & white), Used Prior To Eng. Ser. No. 2577908, Includes Ref: 21-31

6шт.

A138323R

REMAN-INJECT NOZZLE

1270 (S/N 8736001 & AFTER) Prior to ENG. Ser. No. 2577908 (1/71-12/78), Reman for new PN A76193

6шт.

A138323C

CORE-NOZZLE, INJECT

Return Number

1шт.

21

A43599

ADJUSTMENT SCREW,#10 - 56 x 1.39"

SCREW - lift adjusting, Used Prior To Eng. Ser. No. 2577908

1шт.

22

A43602

NUT

- lock, lift adjusting (#10-56 hex.), Used Prior To Eng. Ser. No. 2577908

1шт.

23

A43600

ADJUSTMENT SCREW,#10 - 56 x 0.68"

SCREW - pressure adjusting, Used Prior To Eng. Ser. No. 2577908

1шт.

24

A42424

LOCK NUT

- lock, pressure adjusting (5/16"-48 hex.), Used Prior To Eng. Ser. No. 2577908

1шт.

25

A44369

SEAT

- spring, Used Prior To Eng. Ser. No. 2577908

1шт.

26

A43601

SPRING

- pressure (1/2" free length) (brown stripe code), Used Prior To Eng. Ser. No. 2577908

1шт.

27

NSS

NOT SOLD SEPARAT

VALVE - nozzle, Used Prior To Eng. Ser. No. 2577908

1шт.

28

NSS

NOT SOLD SEPARAT

BODY, Used Prior To Eng. Ser. No. 2577908

1шт.

29

A41768

PLATE

- nozzle locating, Used Prior To Eng. Ser. No. 2577908

1шт.

30

A41403

WASHER,9.55mm ID x 14.18mm OD x 3.38mm Thk

- plain (See Note), Used Prior To Eng. Ser. No. 2577908

1шт.

31

A41402

SEAL,7.89mm ID x 9.74mm OD x 2.87mm Thk

- carbon stop (See Note), Used Prior To Eng. Ser. No. 2577908

1шт.

Выбрано товаров: 29