Запчасти Case IH 1370 (328) - AIR CONDITIONER, HOSES AND TUBES, USED PRIOR TO CAB SERIAL NUMBER 7814176 (09) - CHASSIS/ATTACHMENTS

Схема запчастей Case IH 1370 - (328) - AIR CONDITIONER, HOSES AND TUBES, USED PRIOR TO CAB SERIAL NUMBER 7814176 (09) - CHASSIS/ATTACHMENTS
15
30
14
36
39
4
37
19
27
18
17
5
11
42
16
17
10
19
18
10
17
29
32
31
12
10
1
33
26
41
13
6
8
7
40
38
25
9
35
34
10
3
28
2
43
26
44
FIT
1:1
100%

Артикул

Название

Примечание

Количество

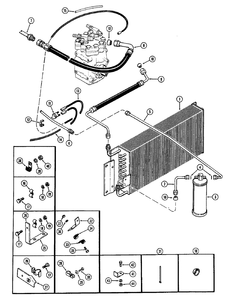
1

A64149

COIL

- condenser

1шт.

2

A64150

TUBE

-, Serial Range: condenser-receiver

1шт.

3

A61688

TANK

RECEIVER - drier

1шт.

4

A61198

O-RING,0.07" Thk x 0.301" ID, -11

"O" RING - 5/16 x 7/16 x 1/16"

2шт.

5

A64156

TUBE - receiver to tube (See note)

1шт.

6

A64152

TUBE - receiver tube to coupling (See note)

1шт.

7

A64399

TUBE - cab to compressor hose (See note)

1шт.

8

A61207

HOSE

- tube to compressor (See note)

1шт.

9

A64151

HOSE

-, Serial Range: compressor-condenser

1шт.

10

222-993

GASKET,3/8 Tube, Fl, Copper

1шт.

10

222-994

GASKET,1/2 Tube, Fl, Copper

- flare, copper (For 1/2" tube)

1шт.

10

222-995

SEALING WASHER,15.88mm ID

- flare, copper (For 5/8" tube)

1шт.

11

A61291

THERMOSTAT

- high temperature (See note)

1шт.

12

A61789

CLAMP

- thermostat (See note)

1шт.

13

A61755

ELECTRICAL WIRE

WIRE - thermostat to compressor clutch (See note)

1шт.

14

A42931

ELECTRICAL WIRE

WIRE - thermostat to cab harness

1шт.

15

A62053

HARNESS

LOOM - wire

1шт.

16

A61199

CLIP

- tube

1шт.

17

13-48

BOLT,Hex, 1/4" - 20 x 1/2", Gr 5

2шт.

18

92-4

LOCK WASHER,1/4"

WASHER, LOCK, 1/4"

2шт.

19

25-104

NUT,1/4"-20, G5

2шт.

25

A64154

BRACKET

- air cond. tube mtg.

1шт.

26

A61704

CLAMP - tubes

2шт.

27

A64397

BRACKET

- air cond. tube mtg.

1шт.

28

A7922

CLIP

- clutch lead wire

1шт.

29

92-6

LOCK WASHER,3/8"

2шт.

30

13-612

BOLT,Hex, 3/8" - 16 x 3/4", Gr 5, Full Thd

2шт.

31

L11541

CABLE TIE,203.2mm L, Nylon

STRAP - wires to tubes & water trap, R.H.

4шт.

32

A64398

BRACKET

- air cond. tube mtg.

1шт.

33

49885

CLAMP

CLIP - tube, 5/8"

1шт.

34

49845

CLAMP

CLIP - tube, 3/8"

1шт.

35

13-614

BOLT,Hex, 3/8" - 16 x 7/8", Gr 5, Full Thd

1шт.

36

92-6

LOCK WASHER,3/8"

1шт.

37

25-106

NUT,3/8"-16, G5

- 3/8" N.C. hex.

1шт.

38

A59718

CLAMP

CLIP - water trap tube, L.H.

1шт.

39

92-6

LOCK WASHER,3/8"

(Attach to step bolt) 3/8"

1шт.

40

25-106

NUT,3/8"-16, G5

- 3/8" N.C. hex. (Attach to step bolt)

1шт.

41

F63376

BOX

CLIP - hose

1шт.

42

113-3

BOLT,Hex, 1/4" - 20 x 3/4", Gr 5

1шт.

43

192-19

LOCK WASHER,Helical Spring, 0.256" ID, CST, ZND

WASHER, LOCK, 1/4"

1шт.

44

7770

NUT,Hex, 1/4 - 20, Cl 5

1/4"-20, G5

1шт.

Выбрано товаров: 0