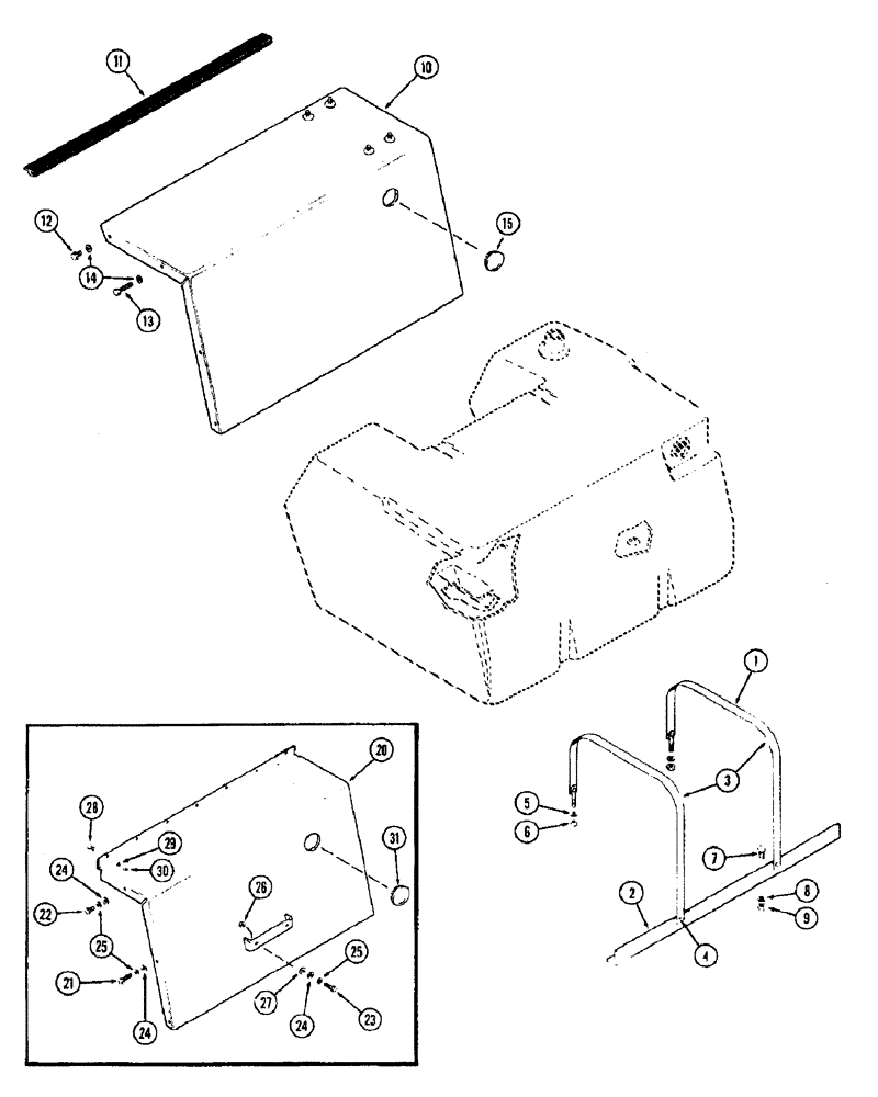
Запчасти Case IH 1370 (045A) - FUEL TANK SUPPORTS AND COVERS, 504BDT, DIESEL ENGINE, USED PRIOR TO TRACTOR S/N 8715153 (03) - FUEL SYSTEM

Схема запчастей Case IH 1370 - (045A) - FUEL TANK SUPPORTS AND COVERS, 504BDT, DIESEL ENGINE, USED PRIOR TO TRACTOR S/N 8715153 (03) - FUEL SYSTEM
25
24
31
28
12
5
24
8
2
13
26
4
22
1
7
21
3
10
11
27
25
30
23
29
6
14
15
24
20
9
FIT
1:1
100%

Артикул

Название

Примечание

Количество

1

A63705

STRAP

ASSY. - fuel tank mounting, Includes Ref: 2 - 4

1шт.

2

A63706

BRACKET

ANGLE - anchor

1шт.

3

A63992

STRAP

- mounting

2шт.

4

49-48

RIVET,Truss Hd, 1/4" x 1/2"

- strap to angle, 1/4 x 1/2" truss hd.

2шт.

5

92-6

LOCK WASHER,3/8"

4шт.

6

25-106

NUT,3/8"-16, G5

- 3/8" N.C. hex.

4шт.

7

13-616

BOLT,Hex, 3/8" - 16 x 1", Gr 5, Full Thd

2шт.

8

92-6

LOCK WASHER,3/8"

2шт.

9

25-106

NUT,3/8"-16, G5

- 3/8" N.C. hex.

2шт.

10

A66050

SPRING

- mounting strap

2шт.

14

A63708

COVER

- fuel tank

1шт.

15

A64866

GUARD

MOLDING - fuel tank cover (Replaces A59498)

1шт.

16

113-206

BOLT,Hex, 3/8" - 16 x 3/4", Gr 5, Full Thd

6шт.

17

113-213

BOLT,Hex, 3/8" - 16 x 2-1/4", Gr 5

2шт.

18

195-526

WASHER,7/16" x 7/8" x .083"

- 7/16" x 1 x 5/32"

8шт.

19

205-72

HOLE PLUG BUTTON,3"

PLUG - button, sending unit access hole (3-5/16" O.D.)

1шт.

20

A64116

COVER - fuel tank, used with cab

1шт.

21

113-287

BOLT,Hex, 3/8" - 16 x 1-3/4", Gr 8

- 3/8 x 1-3/4" N.C. hex., used with cab

2шт.

22

113-286

BOLT,Hex, 3/8" - 16 x 3/4", Gr 8, Full Thd

- 3/8 x 3/4" N.C. hex., used with cab

4шт.

23

113-2223

BOLT,Hex, 3/8" - 16 x 1-1/2", Gr 8

- 3/8 x 1-1/2" N.C. hex., used with cab

2шт.

24

195-104

WASHER,3/8"

- 7/16 x 1 x 5/32", used with cab

8шт.

25

192-21

LOCK WASHER,3/8"

WASHER, LOCK, , Used w/cab 3/8"

8шт.

26

129-103

NUT,Hex, 3/8" - 16, Gr 5

NUT, , Used w/ cab 3/8"-16, G5

2шт.

27

A62687

SHIM,.11" Thk

Cover, Used with cab .11" Thk

1шт.

28

113-102

BOLT,Hex, 5/16" - 18 x 3/4", Gr 5

Hex, 5/16"-18 x 3/4", G5, Full Thd, Used with cab

7шт.

29

192-20

LOCK WASHER,Helical Spring, 0.318" ID, CST, ZND

WASHER, LOCK, , Used w/cab 5/16"

7шт.

30

9635082

NUT,5/16" - 18, Gr 5

Used with cab 5/16"-18, G5

7шт.

31

205-72

HOLE PLUG BUTTON,3"

PLUG - button, sending unit access hole (3-5/16" O.D.), used with cab

1шт.

Выбрано товаров: 28