Запчасти Case IH 1370 (082) - HYDROSTATIC STEERING, TILT AND TELESCOPIC STEERING (05) - STEERING

Схема запчастей Case IH 1370 - (082) - HYDROSTATIC STEERING, TILT AND TELESCOPIC STEERING (05) - STEERING
35
23
47
52
30
3
48
24
27
32
6
43
10
2
33
54
34
28
7
9
21
4
11
44
14
15
16
49
48
29
45
46
48
22
8
30
49
1
12
42
20
51
50
13
12
52
28
31
25
13
5
41
23
53
FIT
1:1
100%

Артикул

Название

Примечание

Количество

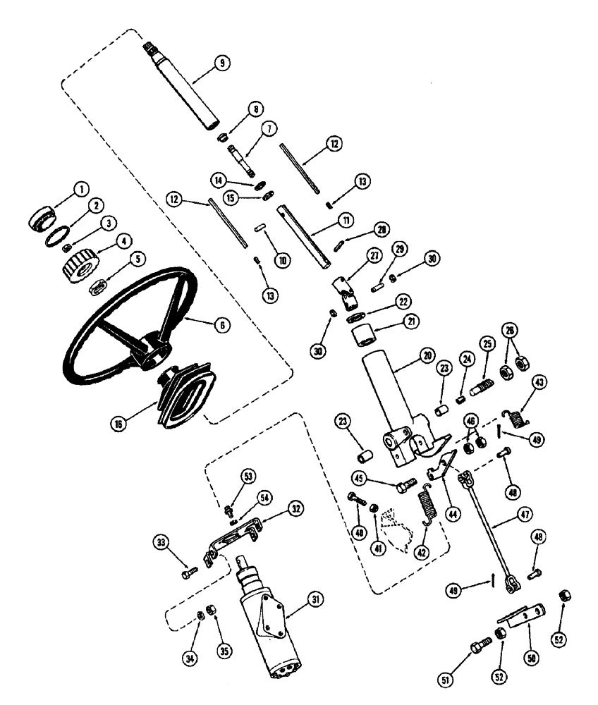
1

A62210

PLUG

MEDALLION - steering wheel lock knob

1шт.

2

D26115

O-RING,0.139" Thk x 2.109" ID, -227, Cl 5, 75 Duro

RING - medallion retaining

1шт.

3

25-146

JAM NUT,Jam, 3/8"-16, G5

- (3/8" N.C. hex. jam), knob to shaft

1шт.

4

A61293

KNOB

- steering wheel lock

1шт.

5

A14567

JAM NUT

- (13/16" N.F. hex.), Serial Range: Wheel-shaft

1шт.

6

A65544

STEERING WHEEL

(Replaces A61007)

1шт.

7

A63683

SHAFT

- steering, telescopic lock

1шт.

8

A63684

LOCK NUT

- steering lock (1/2-13 N.C. special) (L.H. thread)

1шт.

9

A63681

SHAFT

- steering, outer

1шт.

10

A63685

PIN

- stop

1шт.

11

A63697

SHAFT

- steering, inner

1шт.

12

A63686

KEY

- steering lock

2шт.

13

A63687

LOCK

- friction

2шт.

14

A63688

FRICTION WASHER

- friction lock retainer

1шт.

15

A58116

RING

- snap, internal

1шт.

16

A61910

BOOT

- rubber

1шт.

20

A64122

STEERING ASSY

COLUMN ASSY. - tilt steering, Includes Ref: 21 - 23

1шт.

21

A59808

BEARING

- steering column

1шт.

22

A61736

WIPER SEAL

- wiper, steering column

1шт.

23

A59809

BUSHING,12.8mm ID x 15.93mm OD x 25.4mm L

- steering column stud

2шт.

24

A59842

BUMPER

SNUBBER - pivot, steering column

2шт.

25

A59163

STUD

- steering column pivot

2шт.

26

425-1410

JAM NUT,Jam, 5/8"-11, G5

- hex. (5/8" N.C. jam), Column to pivot

4шт.

27

A63689

JOINT

- universal

1шт.

28

138-172

LOCK PIN,3/8" x 1 1/4", Slotted

PIN, 3/8" x 1 1/4", Slotted

1шт.

29

A64000

PIN,9.42mm OD x 38.1mm L

- steering pump shaft

1шт.

30

A27795

RING

"E" RING - steering pump pin

2шт.

31

A63549

PUMP, HYDRAULIC

PUMP ASSY. - hydrostatic steering control (See Figure 086 for repairs)

1шт.

32

A64121

BRACKET - pump mounting (1/4" thick) (Order A65562)

1шт.

32

A65562

BRACKET

- pump mounting (3/16" thick)

1шт.

33

13-516

BOLT,Hex, 5/16" - 18 x 1", Gr 5

(Use w/A64121 bracket) Hex, 5/16"-18 x 1", G5, Full Thd

4шт.

33

13-512

BOLT,Hex, 5/16" - 18 x 3/4", Gr 5

(Use w/A65562 bracket) Hex, 5/16"-18 x 3/4", G5, Full Thd

4шт.

34

92-5

LOCK WASHER,5/16"

4шт.

35

9635082

NUT,5/16" - 18, Gr 5

- hex. (5/16" N.C.)

4шт.

40

13-524

BOLT,Hex, 5/16" - 18 x 1-1/2", Gr 5

- hex, 5/16 NC x 1-1/2", Tilt steering stop bracket

1шт.

41

25-145

JAM NUT,Jam, 5/16"-18, G5

- hex. (5/16" N.C. jam)

1шт.

42

A63690

SPRING

- tilt return

1шт.

43

A64125

SPRING

- tilt latch

1шт.

44

A64338

LATCH

- tilt steering

1шт.

45

13-824

BOLT,Hex, 1/2" - 13 x 1-1/2", Gr 5, Full Thd

Latch to plate Hex, 1/2"-13 x 1 1/2", G5, Full Thd

1шт.

46

25-108

NUT,1/2"-13, G5

- hex. (1/2" N.C.)

2шт.

47

A64126

ROD

- tilt latch

1шт.

48

141-4

CLEVIS PIN,3/8" x 1.060"

PIN, CLEVIS, 3/8" x 1.060"

2шт.

49

132-26

COTTER PIN

Pin, Split (Cotter), 3/32" x 3/4"

2шт.

50

A64127

PEDAL

- tilt steering

1шт.

51

13-824

BOLT,Hex, 1/2" - 13 x 1-1/2", Gr 5, Full Thd

Tilt pedal pivot Hex, 1/2"-13 x 1 1/2", G5, Full Thd

1шт.

52

25-108

NUT,1/2"-13, G5

- hex. (1/2" N.C.) Pivot bolt to fire wall

2шт.

53

166-24

12 PT SCREW,Flg, 5/16" - 18 x 3/4", Gr 8

SCREW - (5/16 x 3/4" Ferry cap)

4шт.

54

92-5

LOCK WASHER,5/16"

4шт.

Выбрано товаров: 49