Запчасти Case IH 1370 (390) - INSTRUMENT PANEL (09) - CHASSIS/ATTACHMENTS

Схема запчастей Case IH 1370 - (390) - INSTRUMENT PANEL (09) - CHASSIS/ATTACHMENTS
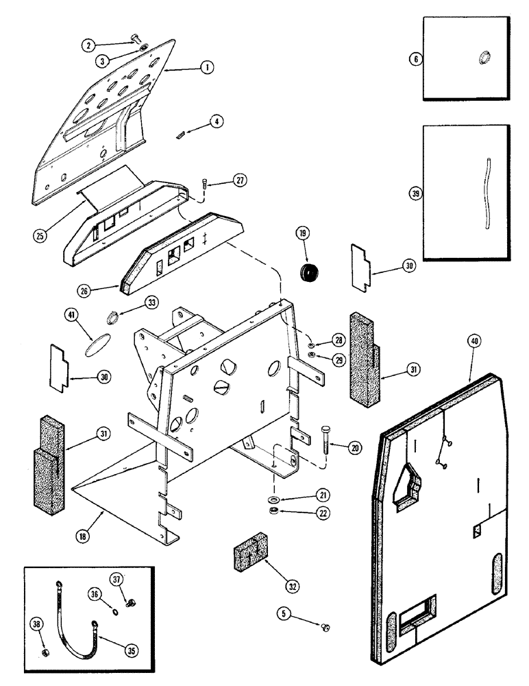
39
5
30
41
19
6
4
22
30
2
18
32
28
20
35
36
37
38
40
27
26
3
33
25
1
31
31
29
21
FIT
1:1
100%

Артикул

Название

Примечание

Количество

1

A145842

PANEL

ASSEMBLY - (With silk screen decals) (1st used P.I.N. 8819204) (Replaces A66924 and A143384)

1шт.

See Figure 416 for panel decals.

1шт.

1

A143384

PANEL

ASSEMBLY - (With silk screen decals) (Used P.I.N. 8801288 to 8819204) (Used w/park lock) (Order A145842)

1шт.

See Figure 416 for panel decals.

1шт.

1

A66925

PANEL

ASSEMBLY - (w/o decals) (Used P.I.N. 8797501 to 8801288) (Used w/park lock) (Order A145842)

1шт.

See Figure 416 for panel decals.

1шт.

1

A66924

PANEL

ASSEMBLY - (Includes decals) (Used P.I.N. 8753831 to 8797501) (Replaces A65994) (Order A145842)

1шт.

See Figure 416 for panel decals.

1шт.

1

A65994

PANEL

ASSEMBLY - (Includes decals), Serial Range: -8753831

1шт.

See Figure 416 for panel decals.

1шт.

2

A63896

SCREW,Hex, #10 - 32 x 7/8"

- #10 x 7/8" N.F. hex. hd. mach. (Brass)

6шт.

3

193-93

LOCK WASHER,#10

WASHER - Shakeproof, int. #10

6шт.

4

195-103

WASHER,5/16"

- 3/8 x 7/8 x 3/32"

6шт.

5

A63897

NUT

- #10 N.F. well (Neoprene)

6шт.

6

353-411

PLUG,Dome, 1.000" hole, Nylon

Panel Dome, 1.000" hole, Nylon

1шт.

6

353-407

PLUG,Dome, .687" hole, Nylon

- panel (11/16" dia.)

1шт.

18

A65531

FRAME

FIREWALL ASSEMBLY

1шт.

Where Ref. 18 is pointing on the artwork, there is a bracket coming off the right side of this triangle. The nut used in the hole is 131-625.

1шт.

19

A59719

GROMMET

- firewall, 1-1/8 x 2-1/2 x 2-1/2 x 1/2" (1st used P.I.N. 8736001)

1шт.

20

13-832

BOLT,Hex, 1/2" - 13 x 2", Gr 5

Firewall (1st used P.I.N. 8736001) Hex, 1/2"-13 x 2", G5

4шт.

21

92-8

LOCK WASHER,1/2"

firewall (1st used P.I.N. 8736001) 1/2"

4шт.

22

25-108

NUT,1/2"-13, G5

- 1/2" N.C. hex., firewall ( 1st used P.I.N. 8736001)

4шт.

25

A66374

BAFFLE

- firewall, top ( 1st used P.I.N. 8736001)

1шт.

26

A143643

FOAM

PAD - firewall top baffle (Replaces A66545) ( 1st used P.I.N. 8736001)

1шт.

27

13-412

BOLT,Hex, 1/4" - 20 x 3/4", Gr 5, Full Thd

Firewall (1st used P.I.N. 8736001) Hex, 1/4"-20 x 3/4", G5, Full Thd

4шт.

28

92-4

LOCK WASHER,1/4"

WASHER, LOCK, , Firewall (1st used P.I.N. 8736001) 1/4"

4шт.

29

25-104

NUT,1/4"-20, G5

Firewall ( 1st used P.I.N. 8736001) 1/4"-20, G5

4шт.

30

A66378

SUPPORT

- firewall sides sealing foam (1st used P.I.N. 8736001)

2шт.

31

A66379

BAFFLE

- firewall sides bottom foam ( 1st used P.I.N. 8736001) To be attached with adhesive 345-22.

2шт.

32

A64965

SEAL

- firewall sealing (1st used P.I.N. 8736001) To be attached with adhesive 345-22.

4шт.

33

205-61

HOLE PLUG BUTTON,1 1/2"

PLUG - 1-1/2" button, firewall ( 1st used P.I.N. 8736001)

4шт.

35

A64704

STRAP

- grounding, inst. panel (70" long), firewall ( 1st used P.I.N. 8736001)

1шт.

36

193-87

LOCK WASHER,Ext-Int Tooth, 1/2"

WASHER, LOCK, , Firewall, (1st used P.I.N. 8736001) Ext-Int Tooth, 1/2"

2шт.

37

113-1

BOLT,Hex, 1/4" - 20 x 1/2", Gr 5

Firewall (1st used P.I.N. 8736001) Hex, 1/4"-20 x 1/2", G5, Full Thd

1шт.

38

7770

NUT,Hex, 1/4 - 20, Cl 5

1/4"-20, G5, Firewall (1st used P.I.N. 8736001)

1шт.

39

345-27

BEAD - filler (Use 345-17 sealant), firewall ( 1st used P.I.N. 8736001)

1шт.

40

A143644

FOAM

PAD - acoustical, firewall (Replaces A66552) ( 1st used P.I.N. 8736001)

1шт.

41

A63059

COVER

- floor plate (w/o diff. lock), firewall ( 1st used P.I.N. 8736001)

1шт.

Выбрано товаров: 38