Запчасти Case IH 1370 (464) - CAB, REAR WINDOW, FIRST USED CAB SERIAL NUMBER 7878400 (09) - CHASSIS/ATTACHMENTS

Схема запчастей Case IH 1370 - (464) - CAB, REAR WINDOW, FIRST USED CAB SERIAL NUMBER 7878400 (09) - CHASSIS/ATTACHMENTS
2
27
17
31
26
11
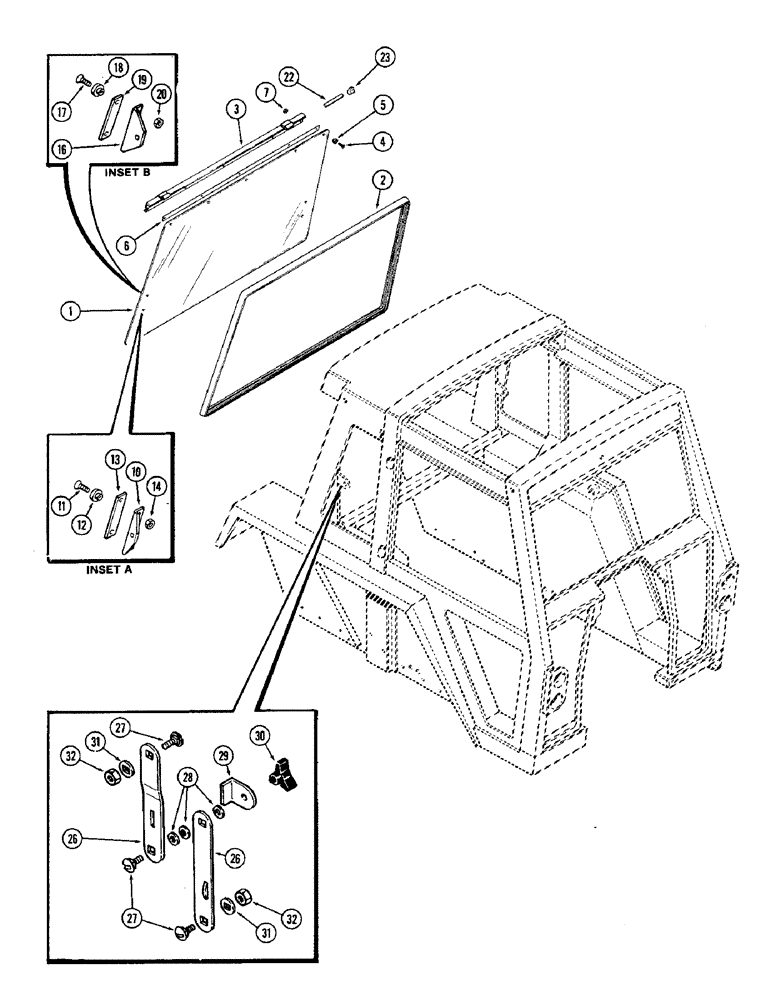
1
23
10
27
5
32
14
31
13
12
26
20
22
32
30
18
6
4
16
7
29
28
3
19
FIT
1:1
100%

Артикул

Название

Примечание

Количество

F98222

FRAME

WINDOW ASSEMBLY - rear, Includes: Ref. 1 - 14

1шт.

1

F64202

GLASS

- (See Figure 470 for glass data)

1шт.

2

F64499

SEAL

- rear window (Replaces F64206)

1шт.

3

F98160

FRAME

CHANNEL - rear window

1шт.

4

179-155

SCREW,Cross Oval Hd, #10 - 24 x 3/4"

- channel to glass (#10-24 x 3/4")

5шт.

5

F64198

BUMPER,4.98mm ID x 7.92mm OD x 10.21mm L

- screw pilot (Nylon)

5шт.

6

F64205

SPACER

- channel cushion (Rubber)

1шт.

7

131-1142

LOCK NUT,Hex, #10 - 24, Gr A

NUT, LOCK, #10-24, GA

5шт.

10

F64138

BRACKET

- regulator arm (See inset A and Ref. 16) (1st used cab serial no. 7888884)

2шт.

11

179-155

SCREW,Cross Oval Hd, #10 - 24 x 3/4"

- bracket to glass (#10-24 x 1")

4шт.

12

F64198

BUMPER,4.98mm ID x 7.92mm OD x 10.21mm L

- screw pilot (Nylon)

4шт.

13

F64140

SPACER

- bracket (0.030" polyethylene)

4шт.

14

131-1142

LOCK NUT,Hex, #10 - 24, Gr A

NUT, LOCK, #10-24, GA

4шт.

16

F64204

BRACKET

- regulator arm (See inset B and Ref. 10), Serial Range: -7888884

2шт.

17

179-159

SCREW,Cross Oval Hd, #10 - 24 x 1"

- bracket to glass (#10-24 x 1")

4шт.

18

F64198

BUMPER,4.98mm ID x 7.92mm OD x 10.21mm L

- screw pilot (Nylon)

4шт.

19

F64140

SPACER

- bracket (.030" polyethylene)

10шт.

20

131-1142

LOCK NUT,Hex, #10 - 24, Gr A

NUT, LOCK, #10-24, GA

4шт.

22

A42524

PIN,9.53mm OD x 119.38mm L

- hinge

2шт.

23

A42589

SNAP RING,#37, Ext

Ring, Snap, , hinge pin #37, Ext

4шт.

26

F63203

ARM

ASSEMBLY - window control, right hand, Includes: Ref. 27 - 29

1шт.

26

F63280

ARM

ASSEMBLY - window control, left hand, Includes: Ref. 27 - 29

1шт.

27

A42923

CARRIAGE BOLT

BOLT - 5/16 x 7/8" N.C. carriage head

3шт.

28

F63299

WASHER

- friction, 5/16 x 1 x 1/16"

3шт.

29

F63665

CLIP

- stop limit

1шт.

30

F63415

KNOB

- lock, control arms

2шт.

31

195-521

WASHER,5/16", SAE

- 5/16 x 11/16 x 1/16"

4шт.

32

131-176

LOCK NUT,Prev Torque, Hex, 5/16" - 18, Gr A

NUT - arm ends, 5/16" N.C. hex.

4шт.

Выбрано товаров: 0