Запчасти Case IH 1370 (058) - FUEL TANK SUPPORTS AND COVERS (03) - FUEL SYSTEM

Схема запчастей Case IH 1370 - (058) - FUEL TANK SUPPORTS AND COVERS (03) - FUEL SYSTEM
8
13
25
11
31
10
2
24
14
25
22
25
27
26
7
12
30
29
5
3
28
15
6
16
21
4
23
20
9
15
24
24
FIT
1:1
100%

Артикул

Название

Примечание

Количество

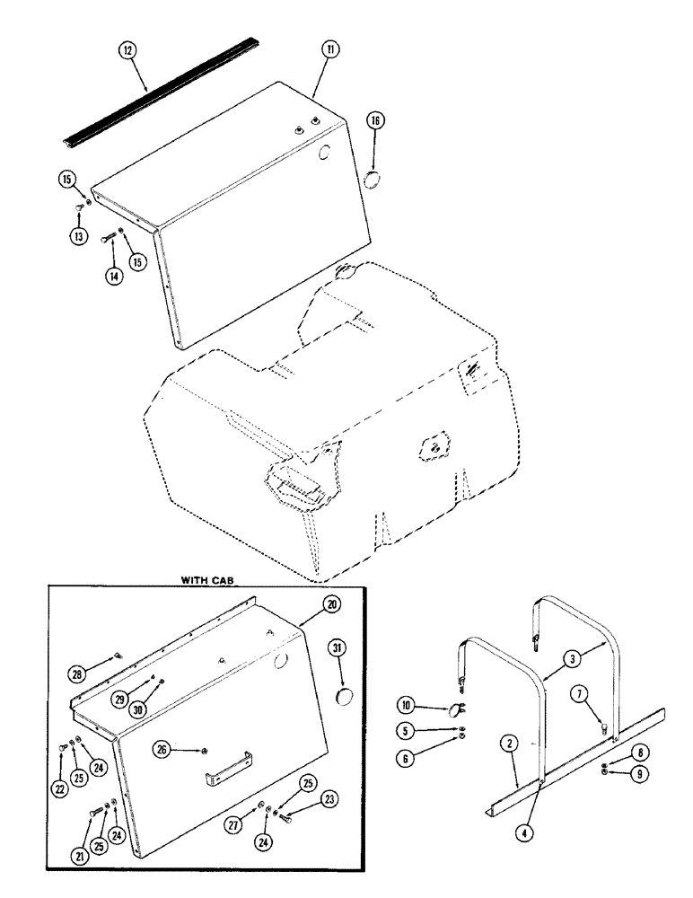
A63705

STRAP

ASSEMBLY - fuel tank mounting, Includes: Ref. 2 - 4

1шт.

2

A63706

BRACKET

ANGLE - anchor

1шт.

3

A63992

STRAP

ASSEMBLY - mounting

2шт.

4

49-48

RIVET,Truss Hd, 1/4" x 1/2"

- strap to angle

2шт.

5

92-6

LOCK WASHER,3/8"

2шт.

6

25-106

NUT,3/8"-16, G5

- 3/8" N.C. hex.

2шт.

7

13-616

BOLT,Hex, 3/8" - 16 x 1", Gr 5, Full Thd

2шт.

8

92-6

LOCK WASHER,3/8"

2шт.

9

25-106

NUT,3/8"-16, G5

- 3/8" N.C. hex.

2шт.

10

A66050

SPRING

- strap tension

2шт.

11

A66666

COVER

- tank (White) (1st used P.I.N. 8736001), used without cab

1шт.

11

A66158

COVER

- tank (Desert sunset) (Order A66666), used without cab, Serial Range: -8736001

1шт.

12

A64866

GUARD

MOLDING - fuel tank cover, used without cab

1шт.

13

113-206

BOLT,Hex, 3/8" - 16 x 3/4", Gr 5, Full Thd

Used without cab Hex, 3/8"-16 x 3/4", G5, Full Thd

6шт.

14

113-213

BOLT,Hex, 3/8" - 16 x 2-1/4", Gr 5

Used without cab Hex, 3/8"-16 x 2 1/4", G5

2шт.

15

195-526

WASHER,7/16" x 7/8" x .083"

- 7/16 x 1 x 5/32", used without cab

8шт.

16

205-72

HOLE PLUG BUTTON,3"

PLUG - button, sending unit access hole ( dia.), used without cab 3"

1шт.

20

A66668

COVER

- tank (White) (1st used P.I.N. 8736001), used with cab

1шт.

20

A66160

COVER

- tank (Desert sunset) (Order A66668), used with cab, Serial Range: -8736001

1шт.

21

113-287

BOLT,Hex, 3/8" - 16 x 1-3/4", Gr 8

- 3/8 x 1-3/4" N.C. hex. (Tank cover to cab side)

2шт.

22

113-286

BOLT,Hex, 3/8" - 16 x 3/4", Gr 8, Full Thd

- 3/8 x 3/4" N.C. hex. (Tank cover to cab side)

4шт.

23

113-2244

BOLT,Hex, 3/8" - 16 x 1-1/4", Gr 8, Full Thd

(Tank cover to casting), used with cab Hex, 3/8"-16 x 1 1/4", G8, Full Thd

2шт.

24

195-104

WASHER,3/8"

- 7/16 x 1 x 5/32", used with cab

8шт.

25

192-21

LOCK WASHER,3/8"

WASHER, LOCK, , Used w/cab 3/8"

8шт.

26

129-103

NUT,Hex, 3/8" - 16, Gr 5

NUT, , Used w/ cab 3/8"-16, G5

2шт.

27

A62687

SHIM,.11" Thk

Cover, Used with cab .11" Thk

1шт.

28

113-102

BOLT,Hex, 5/16" - 18 x 3/4", Gr 5

Hex, 5/16"-18 x 3/4", G5, Full Thd, Used with cab

7шт.

29

192-20

LOCK WASHER,Helical Spring, 0.318" ID, CST, ZND

WASHER, LOCK, , Used w/cab 5/16"

7шт.

30

9635082

NUT,5/16" - 18, Gr 5

Used with cab 5/16"-18, G5

7шт.

31

205-72

HOLE PLUG BUTTON,3"

PLUG - button, sending unit access hole, used with cab 3"

1шт.

Выбрано товаров: 30