Запчасти Case IH 1370 (060) - FUEL INJECTION SYSTEM, (504BDT) DIESEL ENGINE (03) - FUEL SYSTEM

Схема запчастей Case IH 1370 - (060) - FUEL INJECTION SYSTEM, (504BDT) DIESEL ENGINE (03) - FUEL SYSTEM
12
29
26
22
25
18
27
7
8
12
29
30
2
1
11
11
19
3
10
5
9
20
12
22
8
6
11
4
21
28
8
16
21
15
12
17
31
8
11
30
FIT
1:1
100%

Артикул

Название

Примечание

Количество

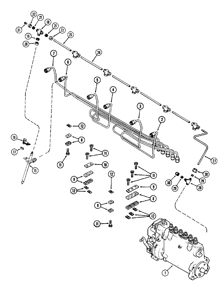
1

REF

INSTRUCTION

PUMP ASSEMBLY - fuel injection (See Figures 066 and 068)

1шт.

2

A58702

TUBE

TUBE ASSEMBLY - fuel injection, #1 cylinder

1шт.

3

A58703

TUBE

ASSEMBLY - fuel injection, #2 cylinder

1шт.

4

A58704

TUBE

ASSEMBLY - fuel injection, #3 cylinder

1шт.

5

A58705

TUBE

ASSEMBLY - fuel injection, #4 cylinder

1шт.

6

A58706

TUBE

ASSEMBLY - fuel injection, #5 cylinder

1шт.

7

A58707

TUBE

ASSEMBLY - fuel injection, #6 cylinder

1шт.

8

A58709

BRACKET

Injection tube

14шт.

9

A58708

PLATE

Injection tube bracket (6 line)

1шт.

10

A58710

PLATE

Injection tube bracket (4 line)

1шт.

11

163-19

SCREW,Sl Hex Wshr Hd, #10 - 24 x 1"

7шт.

12

131-612

SPRING NUT,Flat, #10 - 24, 0.022" Thk

7шт.

15

REF

INSTRUCTION

NOZZLE ASSEMBLY - fuel injection (See Figure 062)

6шт.

16

A58695

CLAMP

ASSEMBLY - nozzle

6шт.

17

A58696

SPACER

SPACER - nozzle clamp

6шт.

18

A58960

TEE,1/2" - 25 NPT x 1/2" - 25 NPT x 9/16" - 24 NPT

CAP ASSEMBLY - nozzle leak-off

6шт.

19

A58962

GROMMET,9.14mm ID x 12.82mm OD x 5.28mm Thk

Cap

6шт.

20

A58961

NUT

Cap

6шт.

21

222-102

SLEEVE,1/4" Tube

12шт.

22

87017024

TUBE NUT,1/2"-24

For 1/4" tube

12шт.

25

A58965

TUBE

Leak-off (4-5/8" long)

3шт.

26

A58964

TUBE

Leak-off (5-5/8" long)

2шт.

27

A58963

TUBE

Leak-off, #1, Serial Range: nozzle-valve

1шт.

28

A59097

VALVE

Leak-off check (In injection pump), Includes Ref. 29 and 30

1шт.

29

222-102

SLEEVE,1/4" Tube

2шт.

30

87017024

TUBE NUT,1/2"-24

1/4" tube

2шт.

31

47-47

RIVET,FH, 1/4" x 7/16"

PLUG - leak-off boot

1шт.

Выбрано товаров: 27