Запчасти Case IH 1370 (062) - FUEL INJECTION NOZZLE, (504BDT) DIESEL ENGINE, FIRST USED ENGINE SERIAL NUMBER 2577908 (03) - FUEL SYSTEM

Схема запчастей Case IH 1370 - (062) - FUEL INJECTION NOZZLE, (504BDT) DIESEL ENGINE, FIRST USED ENGINE SERIAL NUMBER 2577908 (03) - FUEL SYSTEM
28
7
3
21
9
26
23
4
2
12
30
10
29
25
5
8
27
1
22
13
6
31
20
11
24
FIT
1:1
100%

Артикул

Название

Примечание

Количество

1

A138323

NOZZLE CAP

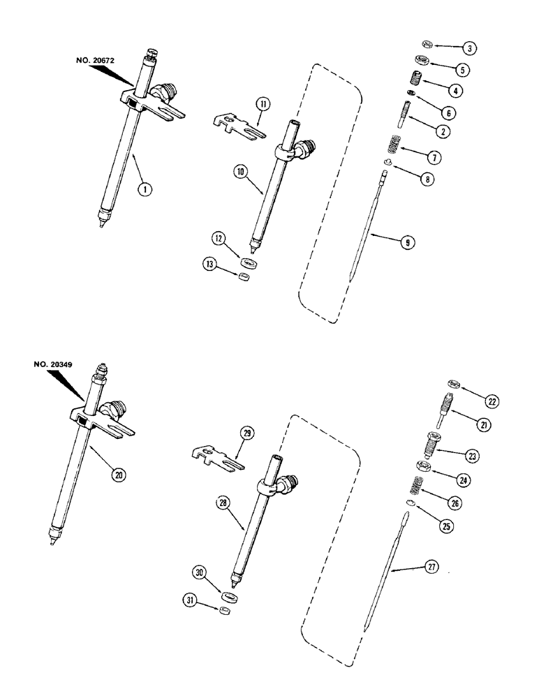
NOZZLE ASSEMBLY - injection (Replaces A76193) (Supplier no. 20672 stamped on body) (Color code red and white), Inc. Ref. 2 - 13

6шт.

Whenever nozzle is removed from head, the seal A41402, and washer, A41403, must be replaced before nozzle is installed back in head.

1шт.

A138323R

REMAN-INJECT NOZZLE

1370 (S/N 8727601 & AFTER) FIRST USED ENGINE SERIAL NUMBER 2577908 (1/71-12/78)

6шт.

A138323C

CORE-NOZZLE, INJECT

Return Number

1шт.

2

A45293

ADJUSTMENT SCREW

SCREW - lift adjusting

1шт.

3

A43602

NUT

- lock, lift adjusting (#10-56 hex.)

1шт.

4

A45292

SCREW

- pressure adjusting

1шт.

5

A42424

LOCK NUT

- lock, pressure adjusting (5/16"-48 hex.)

1шт.

6

A45632

SHIM

SEAT - pressure spring (Replaces A45291)

1шт.

7

A45290

SPRING

- pressure (43/64" free length) (Green code)

1шт.

8

A45289

SEAT

- lower, pressure spring

1шт.

9

NSS

NOT SOLD SEPARAT

VALVE - nozzle

1шт.

10

NSS

NOT SOLD SEPARAT

BODY

1шт.

11

A41768

PLATE

- locating

1шт.

12

A41403

WASHER,9.55mm ID x 14.18mm OD x 3.38mm Thk

- plain

1шт.

Whenever nozzle is removed from head, the seal A41402, and washer, A41403, must be replaced before nozzle is installed back in head.

1шт.

13

A41402

SEAL,7.89mm ID x 9.74mm OD x 2.87mm Thk

- carbon stop

1шт.

Whenever nozzle is removed from head, the seal A41402, and washer, A41403, must be replaced before nozzle is installed back in head.

1шт.

20

A76193

NUT

NOZZLE ASSEMBLY - injection (Order A138323) (Supplier no. 20349 stamped on body) (Color code red and white), used prior to engine serial no. 2577908, Inc. Ref. 21 - 31

6шт.

Whenever nozzle is removed from head, the seal A41402, and washer, A41403, must be replaced before nozzle is installed back in head.

1шт.

A138323R

REMAN-INJECT NOZZLE

1370 (S/N 8727601 & AFTER) Used Prior to Engine Serial no. 2577908 (1/71-12/78), Reman for new PN A76193

6шт.

A138323C

CORE-NOZZLE, INJECT

Return Number

1шт.

21

A43599

ADJUSTMENT SCREW,#10 - 56 x 1.39"

SCREW - lift adjusting, engine, Serial Range: -2577908

1шт.

22

A43602

NUT

- lock, lift adjusting (#10-56 hex.), engine, Serial Range: -2577908

1шт.

23

A43600

ADJUSTMENT SCREW,#10 - 56 x 0.68"

SCREW - pressure adjusting, engine, Serial Range: -2577908

1шт.

24

A42424

LOCK NUT

- lock, pressure adjusting (5/16"-48 hex.), engine, Serial Range: -2577908

1шт.

25

A44369

SEAT

- spring, engine, Serial Range: -2577908

1шт.

26

A43601

SPRING

- adjusting (1/2" free length w/brown stripe), engine, Serial Range: -2577908

1шт.

27

NSS

NOT SOLD SEPARAT

VALVE - nozzle, engine, Serial Range: -2577908

1шт.

28

NSS

NOT SOLD SEPARAT

BODY, engine, Serial Range: -2577908

1шт.

29

A41768

PLATE

- nozzle locating, engine, Serial Range: -2577908

1шт.

30

A41403

WASHER,9.55mm ID x 14.18mm OD x 3.38mm Thk

- plain, engine, Serial Range: -2577908

1шт.

Whenever nozzle is removed from head, the seal A41402, and washer, A41403, must be replaced before nozzle is installed back in head.

1шт.

31

A41402

SEAL,7.89mm ID x 9.74mm OD x 2.87mm Thk

- carbon seal, engine, Serial Range: -2577908

1шт.

Whenever nozzle is removed from head, the seal A41402, and washer, A41403, must be replaced before nozzle is installed back in head.

1шт.

Выбрано товаров: 35