Запчасти Case IH 1370 (088) - PYROMETER ATTACHMENT (04) - ELECTRICAL SYSTEMS

Схема запчастей Case IH 1370 - (088) - PYROMETER ATTACHMENT (04) - ELECTRICAL SYSTEMS
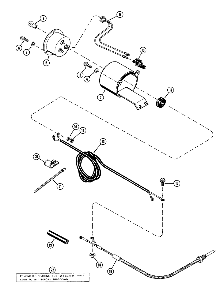
8
11
6
16
14
15
7
17
13
20
21
3
5
22
19
4
10
9
18
2
FIT
1:1
100%

Артикул

Название

Примечание

Количество

A139032

KIT

PYROMETER ATTACHMENT - (Replaces A62554), Includes: Ref. 2 - 22

1шт.

2

A139453

TUBE

- mounting, pyrometer

1шт.

3

187-1109

SELF-TAP SCREW,Cross Pan Hd, #8 x 1/2"

SCREW - #8-32 x 1/2" rd. hd. self-tapping

4шт.

4

195-510

WASHER,#8

- 3/16 x 7/16 x 1/16"

4шт.

5

A139021

ELECTRICAL GAUGE

PYROMETER - engine exhaust

1шт.

6

187-1104

SELF-TAP SCREW,Cross Pan Hd, #6 x 3/4"

SCREW - #6-32 x 3/4" rd. hd. self-tapping

3шт.

7

192-15

LOCK WASHER,Helical Spring, #6, 0.145" ID, CST, ZND

Washer, Lock, #6

3шт.

8

B50213

BULB

- light (Mfrg. #53)

1шт.

9

A139030

SOCKET/RECEPTACLE

SOCKET - light

1шт.

10

A62556

CONNECTOR, ELEC

CONNECTOR - light socket wire

1шт.

11

A27338

GROMMET

- wire harness

1шт.

13

A139025

HARNESS

- wire, Serial Range: meter-thermocouple

1шт.

14

129-27

NUT,Hex, #10 - 32

- hex. #10-32

2шт.

15

195-12

WASHER,#10

- 7/32 x 7/16 x 1/32"

2шт.

16

A139024

PROBE

THERMOCOUPLE - pyrometer

1шт.

17

175-93

SCREW,Sl Truss Hd, #10 - 24 x 1/4"

- #10-24 x 1/4" truss hd.

2шт.

18

131-1142

LOCK NUT,Hex, #10 - 24, Gr A

NUT, LOCK, #10-24, GA

2шт.

19

A139029

BOOT

- connection

1шт.

20

A62209

CLAMP,5/16", Insul, 1/4" Bolt

CLIP - wire

1шт.

21

L18331

CABLE TIE,375.9mm L, Nylon, Black

STRAP - nylon, wire harness (Replaces L11541)

1шт.

22

321-1778

DECAL

- pyrometer temperature

1шт.

Выбрано товаров: 21