Запчасти Case IH 1570 (044) - FUEL INJECTION SYSTEM, 504BDT DIESEL ENGINE (03) - FUEL SYSTEM

Схема запчастей Case IH 1570 - (044) - FUEL INJECTION SYSTEM, 504BDT DIESEL ENGINE (03) - FUEL SYSTEM
12
15
24
8
2
3
10
4
27
6
23
5
11
7
22
17
16
22
27
1
16
11
23
8
26
9
12
25
17
12
22
13
26
8
8
11
FIT
1:1
100%

Артикул

Название

Примечание

Количество

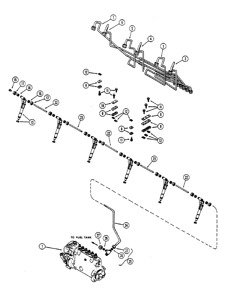
1

A142221

PUMP ASSY fuel injection, See Figure 050

1шт.

2

A76645

TUBE

fuel injection, No. 1 cylinder

1шт.

3

A76646

TUBE

fuel injection, No. 2 cylinder

1шт.

4

A76647

TUBE

fuel injection, No. 3 cylinder

1шт.

5

A76648

TUBE

fuel injection, No. 4 cylinder

1шт.

6

A76649

TUBE

fuel injection, No. 5 cylinder

1шт.

7

A76650

TUBE

fuel injection, No. 6 cylinder

1шт.

8

A58709

BRACKET

injection tube

14шт.

9

A58708

PLATE

injection tube bracket, 6 line

1шт.

10

A58710

PLATE

injection tube bracket, 4 line

1шт.

11

163-19

SCREW,Sl Hex Wshr Hd, #10 - 24 x 1"

hex sltd. head, No. 10 x 1" NC

7шт.

12

131-612

SPRING NUT,Flat, #10 - 24, 0.022" Thk

NUT, Tinnerman, No. 10

7шт.

13

A144033

NOZZLE INJECTION

NOZZLE ASSY fuel injection, See Figure 046

6шт.

14

47-37

RIVET,FH, 3/16" x 7/16"

long, flat hd., 3/16" dia. x 7/16"

1шт.

16

222-101

SLEEVE,3/16" Tube

For 3/16" Tube

12шт.

17

222-111

TUBE NUT,7/16" - 24

NUT, For 3/16" tube

12шт.

22

A76642

TUBE

leak-off, 4-11/16" long

3шт.

23

A76641

TUBE

leak-off, 5-3/4" long

2шт.

24

A136189

TUBE

leak-off, No. 1, Serial Range: nozzle-valve

1шт.

25

A59097

VALVE

ASSY check, leak-off, Includes Ref. 26 and 27

1шт.

26

222-102

SLEEVE,1/4" Tube

2шт.

27

87017024

TUBE NUT,1/2"-24

NUT, For 1/4" tube

2шт.

Выбрано товаров: 22