Запчасти Case IH 1570 (226) - D.O.M. SYSTEM, CROSSBAR AND WISHBONE SPRINGS (09) - CHASSIS/ATTACHMENTS

Схема запчастей Case IH 1570 - (226) - D.O.M. SYSTEM, CROSSBAR AND WISHBONE SPRINGS (09) - CHASSIS/ATTACHMENTS
11
10
8
2
9
1
11
9
6
4
3
5
7
FIT
1:1
100%

Артикул

Название

Примечание

Количество

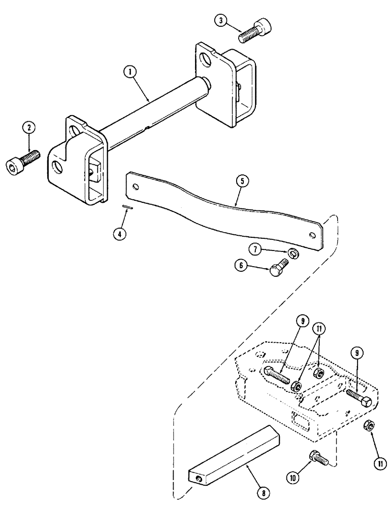
1

A139889

BRACE

CROSSBAR draft-o-matic

1шт.

2

A143604

BOLT,1-1/8" - 7 x 3-1/4", Gr 8

hex, socket head, 1-1/8 x 3-1/4" NC, L.H. thread, stamped on top of head, Replaces A141157

1шт.

3

A143603

BOLT,1-1/8" - 7 x 3-1/4", Gr 8

hex, socket head, 1-1/8 x 3-1/4" NC, R.H. thread, Replaces A139894

1шт.

4

138-136

LOCK PIN,1/4" x 1 1/4", Slotted

PIN, 1/4" x 1 1/4", Slotted

2шт.

5

A63488

SPRING

wish bone

2шт.

6

A63490

BOLT

mounting, wishbone spring

2шт.

7

192-171

LOCK WASHER,1"

WASHER, LOCK, 1"

2шт.

8

A63489

BAR

widshbone spring equalizer

1шт.

9

181-529

SET SCREW,Sq Hd, 3/4"-10 x 3"

SCREW set, square head, oval pt, 3/4 x 3" NC

3шт.

10

113-796

BOLT,Hex, 3/4" - 10 x 2-1/2", Gr 5, Full Thd

hex, 3/4 x 2-1/2" NC

1шт.

11

25-1412

JAM NUT,Jam, 3/4"-10, G5

jam, hex, 3/4" NC

4шт.

Выбрано товаров: 0