Запчасти Case IH 1570 (038) - THROTTLE CONTROLS (03) - FUEL SYSTEM

Схема запчастей Case IH 1570 - (038) - THROTTLE CONTROLS (03) - FUEL SYSTEM
7
9
12
11
8
34
1
9
21
11
23
30
13
36
3
33
8
7
2
22
21
4
6
22
37
26
15
10
16
35
25
17
5
24
27
20
23
FIT
1:1
100%

Артикул

Название

Примечание

Количество

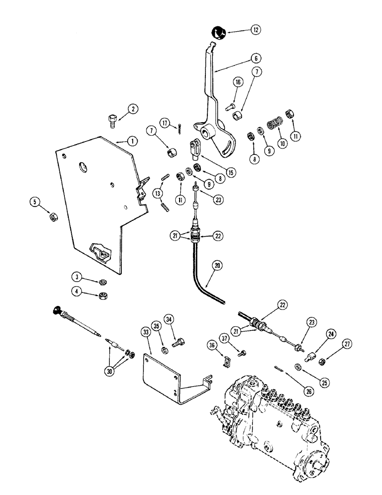
1

A65587

PLATE

console, shaft support

1шт.

2

13-614

BOLT,Hex, 3/8" - 16 x 7/8", Gr 5, Full Thd

1шт.

3

193-46

LOCK WASHER,Ext-Int Tooth, 3/8"

WASHER int.-ext. shakeproof, 3/8"

1шт.

4

25-106

NUT,3/8"-16, G5

hex, 3/8" NC

1шт.

5

131-1306

JAM NUT,Jam, 3/8"-16

NUT hex jam, to console, 3/8" NC

3шт.

6

A137812

LEVER

ASSY throttle, Inlcudes Ref. 7

1шт.

7

A59429

BUSHING,15.95mm ID x 19.13mm OD x 12.83mm L

pivot

2шт.

8

A61069

DISC

friction

2шт.

9

195-2172

WASHER,7/16" x 1 1/4" x .083"

7/16 x 1-1/4 x 5/64"

2шт.

10

A65583

SPRING

friction disc

1шт.

11

131-1306

JAM NUT,Jam, 3/8"-16

NUT jam, hex, 3/8" NC

2шт.

12

A137806

KNOB

hand lever

1шт.

13

A141874

SET SCREW,1/4" - 20 x 1 1/4"

stop, slotted set, 1/4 x 1-1/4" NC

2шт.

15

A63015

YOKE

throttle cable

1шт.

16

141-53

CLEVIS PIN,5/16" x .940"

plated 5/16" x .940"

1шт.

17

132-30

COTTER PIN,3/32" x 1 1/4"

Pin, Split (Cotter), 3/32" x 1 1/4"

1шт.

20

A63013

CABLE

ASSY throtle lever to pump, Inlcudes Ref. 21, 22 and 23

1шт.

21

25-157

JAM NUT,Jam, 7/16"-20, G5

jam, hex, 7/16" NF

4шт.

22

193-31

LOCK WASHER,Int Tooth, 7/16"

WASHER int. shakeproof, 7/16"

4шт.

23

129-37

NUT,#10-32

2шт.

24

A63014

PIVOT

control cable

1шт.

25

195-18

WASHER,1/4"

9/32 x 5/8 x 1/16"

1шт.

26

132-7

COTTER PIN,1/16" x 3/4"

Pin, Split (Cotter), 1/16" x 3/4"

1шт.

27

193-1000

NUT,Keps, w/LW,#10-32

hex Keps, No. 10-32

1шт.

30

A64850

LEVER

CONTROL fuel stop

1шт.

33

A63960

BRACKET

SUPPORT fuel stop control

1шт.

34

13-616

BOLT,Hex, 3/8" - 16 x 1", Gr 5, Full Thd

1шт.

35

92-6

LOCK WASHER,3/8"

1шт.

36

B51765

CLIP

stop cable

1шт.

37

173-274

SCREW,Sl Rnd Hd, #8 - 32 x 1/2"

rd. hd., No. 8-24 x 1/8"

1шт.

Выбрано товаров: 30