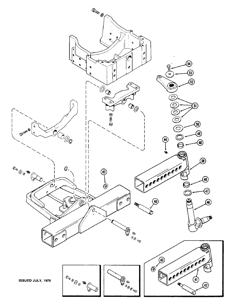
Запчасти Case IH 1570 (095A) - ADJUSTABLE FRONT AXLE (05) - STEERING

Схема запчастей Case IH 1570 - (095A) - ADJUSTABLE FRONT AXLE (05) - STEERING
47
54
48
53
41
43
48
49
51
42
46
50
38
40
43
52
44
FIT
1:1
100%

Артикул

Название

Примечание

Количество

38

A147998

EXTENSION

AXLE end section, R.H., without internal reinforcement plate, 1st used tractor Serial No. 8834487

1шт.

38

A149001

AXLE

end section, L.H., without internal reinforcement plate, 1st used tractor Serial No. 8834487

1шт.

40

A147622

BOLT

axle, hex with spacer, 7/8 x 8-1/2" NC, Used with A147998 and A149001 end sections

4шт.

41

A65512

EXTENSION

AXLE end section, R.H., with internal reinforcement plate, Used prior to tractor Serial No. 8834487

1шт.

41

A65513

CENTER AXLE

AXLE end section, L.H., with internal reinforcement plate, Used prior to tractor Serial No 8834487

1шт.

42

A65526

STEP BOLT

axle, shoulder, 7/8" NC, Used with A65512 and A65513 end sections

4шт.

43

A65435

LOCK NUT

axle bolts, flanged, 7/8" NC

4шт.

46

A137069

STEERING KNUCKLE

SPINDLE front wheel

2шт.

47

A135024

RING

BEARING thrust, lower, nylon, 2-1/4 x 3 x 1/8"

2шт.

48

A143667

BUSHING,59.7mm ID x 62.18mm OD x 19.3mm L

upper and lower, nylon, 2-1/4 x 2-7/16 x 3/4"

4шт.

49

A61399

SEAL

oil, 2-1/4 x 2-7/8 x 1/4"

2шт.

50

A61400

SPACER

SHIELD dust, spindle

2шт.

51

A35345

SHIM,.0359" Thk

Spindle .0359" Thk

1шт.

51

A35346

SHIM,.0598" Thk

Spindle .0598" Thk

1шт.

51

A35347

SHIM,.1345" Thk

Spindle .1345" Thk

1шт.

52

A61404

ARM

steering, R.H.

1шт.

52

A61405

ARM

steering, L.H.

1шт.

53

A61406

WASHER

steering arm, 3/4 x 3 x 5/16"

2шт.

54

13-1228

BOLT,Hex, 3/4" - 10 x 1-3/4", Gr 5

Arm to spindle Hex, 3/4"-10 x 1 3/4", G5

2шт.

Выбрано товаров: 0