Запчасти Case IH 770 (005A) - RADIATOR BAFFLES, (267B) DIESEL & (251B) SPARK IGNITION ENGINES (02) - ENGINE

Схема запчастей Case IH 770 - (005A) - RADIATOR BAFFLES, (267B) DIESEL & (251B) SPARK IGNITION ENGINES (02) - ENGINE
6
5
17
4
29
3
9
2
40
5
15
19
25
42
13
1
16
39
12
38
14
41
28
35
14
8
43
27
18
8
26
6
7
20
36
37
30
7
9
FIT
1:1
100%

Артикул

Название

Примечание

Количество

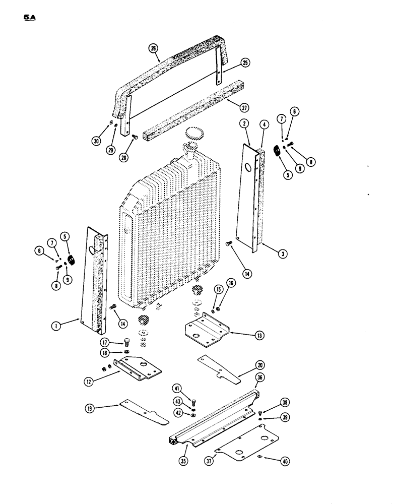
1

A61714

SUPPORT ASSY. - radiator side, R.H., w/air cond. (includes ref. 3 & 4)

1шт.

1

A59868

SUPPORT ASSY. - radiator side, R.H. w/o air cond. (Order A61714) (includes ref. 3 & 4)

1шт.

2

A61715

SUPPORT ASSY. - radiator side, L.H., w/air cond. (includes ref. 3 & 4)

1шт.

2

A59869

SUPPORT ASSY. - radiator side, L.H., w/o air cond. (Order A61715) (includes ref. 3 & 4)

1шт.

3

A59873

SEAL

- radiator side, lower

1шт.

4

A59872

SEAL

- radiator side, upper

1шт.

5

A59862

ANCHOR

MOUNT - radiator support

2шт.

6

187-1303

SELF-TAP SCREW,Hex Hd, #6 x 3/8"

SCREW - #6-32 x 3/8" rd. hd.

4шт.

7

192-5

LOCK WASHER,#6

WASHER, LOCK, #6

4шт.

8

13-416

BOLT,Hex, 1/4" - 20 x 1", Gr 5

2шт.

9

92-4

LOCK WASHER,1/4"

WASHER, LOCK, 1/4"

2шт.

12

A59178

PLATE - radiator support, R.H.

1шт.

13

A59179

PLATE - radiator support, L.H.

1шт.

14

13-614

BOLT,Hex, 3/8" - 16 x 7/8", Gr 5, Full Thd

4шт.

15

92-6

LOCK WASHER,3/8"

4шт.

16

25-106

NUT,3/8"-16, G5

- 3/8" N.C., hex

4шт.

17

13-818

BOLT,Hex, 1/2" - 13 x 1-1/8", Gr 5, Full Thd

4шт.

18

92-8

LOCK WASHER,1/2"

4шт.

19

A61298

BAFFLE

- radiator lower, R.H.

1шт.

20

A61299

BAFFLE

- radiator lower, L.H.

1шт.

25

A61722

BAFFLE ASSY. - radiator front, w/air cond. (includes ref. 26 & 27)

1шт.

25

A59874

BAFFLE ASSY. - radiator front, w/o air cond. (Order A61722) (includes ref. 26 & 27)

1шт.

26

A59878

SEAL - radiator, upper

1шт.

27

A59877

SEAL

- radiator core, upper

1шт.

28

13-412

BOLT,Hex, 1/4" - 20 x 3/4", Gr 5, Full Thd

4шт.

29

92-4

LOCK WASHER,1/4"

WASHER, LOCK, 1/4"

4шт.

30

131-611

NUT,Ret, 1/4"-20

- 1/4" N.C. Tinnerman

4шт.

35

A59879

BAFFLE ASSY. - radiator lower, rear half (includes ref. 36)

1шт.

36

A59880

SEAL

- radiator bottom (See Note)

1шт.

37

A59881

BAFFLE - radiator lower, front half

1шт.

38

13-48

BOLT,Hex, 1/4" - 20 x 1/2", Gr 5

3шт.

39

92-4

LOCK WASHER,1/4"

WASHER, LOCK, 1/4"

3шт.

40

131-610

SPRING NUT,U, Ret, 1/4"-20

Tinnerman U, Ret, 1/4"-20

3шт.

41

13-612

BOLT,Hex, 3/8" - 16 x 3/4", Gr 5, Full Thd

4шт.

42

95-6

WASHER,3/8"

- 7/16 x 1 x 5/64"

4шт.

43

92-6

LOCK WASHER,3/8"

4шт.

Выбрано товаров: 36