Запчасти Case IH 770 (174) - SLIDING GEAR SHAFT, MECHANICAL SHIFT (06) - POWER TRAIN

Схема запчастей Case IH 770 - (174) - SLIDING GEAR SHAFT, MECHANICAL SHIFT (06) - POWER TRAIN
3
16
25
5
10
15
11
26
1
17
4
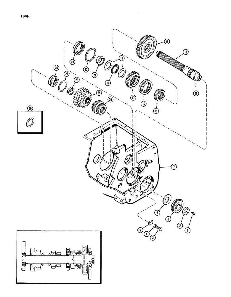
7
18
21
24
19
8
20
6
2
27
22
26
9
23
FIT
1:1
100%

Артикул

Название

Примечание

Количество

1

165-118

HEX SOC SCREW,Prev Torque, 5/16" - 18 x 3/4"

BOLT - 5/16 x 3/4" N.C. hex. sckt. hd.

3шт.

2

A32019

PLATE

- lock, sliding gear shaft front bearing

1шт.

3

13-820

BOLT,Hex, 1/2" - 13 x 1-1/4", Gr 5, Full Thd

2шт.

4

193-32

LOCK WASHER,Int Tooth, 1/2"

WASHER, LOCK, Int Tooth, 1/2"

2шт.

5

A32788

CLAMP

- retaining, sliding gear shaft front bearing plate

2шт.

6

A32018

BALL BEARING,44.99mm ID x 100mm OD x 25mm W

BEARING - ball, sliding gear shaft, front

1шт.

7

A58971

HOUSING - transmission

1шт.

8

A60040

WASHER

- thrust, low range gear

1шт.

9

A61314

GEAR

- driven, low range (47 & 20 helical teeth) (Replaces A34347)

1шт.

10

A34905

SHAFT

- sliding gear

1шт.

11

138-215

LOCK PIN,3/16" x 3/8", Slotted

PIN, , thrust washer 3/16" x 3/8", Slotted

1шт.

15

A32024

COLLAR

- range clutch (20 ext. & int. teeth)

1шт.

16

A62977

SLEEVE

- range clutch (27 int. teeth) (Replaces A32025)

1шт.

17

A61317

GEAR

- driven, high range (20 & 32 teeth) (Replaces A34348)

1шт.

18

A32784

WASHER

RACE - thrust

2шт.

19

A32785

THRUST BEARING,2.125" ID x 2.875" OD x 0.0781"

BEARING - thrust

1шт.

20

A57970

WASHER

- thrust, sliding gear shaft (Order 2-A32784 race & 1-A32785 bearing)

1шт.

21

A34772

BEARING, CONE,32T

RACE - center roller bearing (inner)

1шт.

22

A32005

RING

- snap, retaining, center bearing, sliding gear shaft

1шт.

23

A32004

BEARING ASSY,55mm ID x 100mm OD x 21mm W

BEARING - roller, sliding gear shaft, center

1шт.

24

A33564

GEAR

- sliding cluster (1st-2nd & 5th-6th) (15 & 19 teeth)

1шт.

25

A62094

GEAR - sliding cluster (3rd-4th & 7th-8th) (23 &27 external & 32 internal teeth) (Replaces A58147)

1шт.

26

A33043

ROLLER BEARING,34.99mm ID x 20.87mm W

RACE - rear roller bearing (inner)

1шт.

27

A33041

RING, SNAP

RING - snap, rear roller bearing

1шт.

28

A33042

BEARING ASSY

BEARING - roller, sliding gear shaft, rear

1шт.

Выбрано товаров: 25