Запчасти Case IH 770 (006) - OIL COOLER, (267B) DIESEL & (251B) SPARK IGNITION ENGINES (02) - ENGINE

Схема запчастей Case IH 770 - (006) - OIL COOLER, (267B) DIESEL & (251B) SPARK IGNITION ENGINES (02) - ENGINE
10
16
11
13
1
18
14
5
3
2
4
14
15
10
19
15
17
12
13
FIT
1:1
100%

Артикул

Название

Примечание

Количество

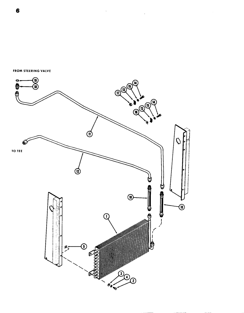
A60181

ATTACHMENT - oil cooler (Mach. Item) (includes ref. 1 - 17)

1шт.

1

A60398

COOLER

- oil

1шт.

2

13-412

BOLT,Hex, 1/4" - 20 x 3/4", Gr 5, Full Thd

4шт.

3

95-4

WASHER,1/4"

- 5/16 x 3/4 x 1/16"

4шт.

4

92-4

LOCK WASHER,1/4"

WASHER, LOCK, 1/4"

4шт.

5

131-611

NUT,Ret, 1/4"-20

- 1/4" N.C. Tinnerman

4шт.

10

A60399

HOSE

-, Serial Range: tube-cooler

2шт.

11

A60400

TUBE - oil cooler, upper

1шт.

12

A64010

PANEL

TUBE - oil cooler, lower

1шт.

13

A60404

CLIP

- tube mounting

2шт.

14

13-420

BOLT,Hex, 1/4" - 20 x 1-1/4", Gr 5

2шт.

15

195-18

WASHER,1/4"

- 9/32 x 5/8 x 1/16"

2шт.

16

131-611

NUT,Ret, 1/4"-20

- 1/4" N.C. Tinnerman

1шт.

17

25-104

NUT,1/4"-20, G5

1шт.

18

218-5059

HYD CONNECTOR,3/4"-16, 37 Degree x 3/4"-16, O-Ring

CONNECTOR Assy - 1/2" tube, 3/4" P.T. (Incl. Ref 19)

2шт.

19

218-5006

O-RING,0.087" Thk x 0.644" ID, -908, Cl 6, 90 Duro

"O" RING - 1/2 x 21/32 x 3/32"

1шт.

Выбрано товаров: 16