Запчасти Case IH 770 (250) - D.O.M. UPPER SENSING LINKAGE (09) - CHASSIS/ATTACHMENTS

Схема запчастей Case IH 770 - (250) - D.O.M. UPPER SENSING LINKAGE (09) - CHASSIS/ATTACHMENTS
25
35
12
18
5
16
29
31
3
11
6
9
14
4
19
28
21
2
7
10
22
30
15
1
13
26
23
6
34
24
14
21
33
17
FIT
1:1
100%

Артикул

Название

Примечание

Количество

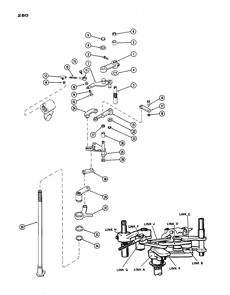
1

A32320

LEVER

- draft control (Link "H")

1шт.

2

166-27

SCREW - cap, "H" link (5/16 x 1-1/4" N.C. Ferry head)

1шт.

3

A59599

SHAFT - manual, draft control

1шт.

4

A33316

WASHER - manual shaft, (1-1/32 x 1-11/16 x 12 ga.)

1шт.

5

A33314

SPACER

- manual shaft, (53/64 x 1-3/64 x 9/16")

1шт.

6

A32309

SEAL,18.8mm ID x 25.5mm OD x 3.1mm Thk

- oil, manual control shaft (3/4 x 1 x 1/8")

1шт.

7

A57088

LINK

LEVER - draft control (Link "F")

1шт.

8

F20286

WASHER

- "F" link (29/32 x 1-3/8 x 16 Ga.)

1шт.

9

F62205

RING, SNAP

SNAP RING - retaining, "F" link

1шт.

10

A32347

ROD

- draft control link

1шт.

11

A35134

BEARING

- link rod

1шт.

12

A27382

BALL

JOINT - draft control link

1шт.

13

13-514

BOLT,Hex, 5/16" - 18 x 7/8", Gr 5

Brg. to "F" link Hex, 5/16"-18 x 7/8", G5, Full Thd

1шт.

14

92-5

LOCK WASHER,5/16"

2шт.

15

25-155

JAM NUT,Jam, 5/16"-24, G5

- hex. (5/16" N.F. Jam)

1шт.

16

A32395

WASHER

SPACER - ball joint (25/64 x 9/16 x 16 Ga.)

1шт.

17

A32331

LINK

LEVER - draft control

1шт.

18

A32334

PIN

- "J" link to draft valve spool

1шт.

19

G46146

SNAP RING,#37, Ext

RING - snap, , draft valve spool pin #37, Ext

1шт.

21

A32335

LINK

- draft control (Link "G")

1шт.

22

B18080

WASHER

- "G" link (21/32 x 1-1/4 x 16 ga.)

1шт.

23

A26828

RING

SNAP RING - retaining, "G" link

1шт.

24

A57365

LEVER

- draft control (Link "D")

1шт.

25

A32310

LINK

- draft control (Link "C")

1шт.

26

A32914

SPACER

- sensitivity hub (21/32 x 3/4 x 1")

1шт.

27

A32308

OIL SEAL

- oil, sensitivity shaft (5/8 x 7/8 x 1/8")

1шт.

28

A33393

LEVER

- draft control (Link "K")

1шт.

29

A57090

WASHER

- "C" Link (21/32 x 1-1/8 x 23 Ga.)

1шт.

30

A57362

LINK

LEVER - draft control (Link "B")

1шт.

31

A32324

LEVER

- draft control (Link "A")

1шт.

33

B18302

WASHER

- "A" link

1шт.

34

R13338

SNAP RING,#150, Ext

RING - snap, , "K" link #150, Ext

1шт.

35

A34834

SHAFT

- draft signal

1шт.

Выбрано товаров: 33