Запчасти Case IH 770 (280) - CONTROL CONSOLE (09) - CHASSIS/ATTACHMENTS

Схема запчастей Case IH 770 - (280) - CONTROL CONSOLE (09) - CHASSIS/ATTACHMENTS
1
11
10
10
5
8
6
10
2
4
3
11
11
8
7
9
FIT
1:1
100%

Артикул

Название

Примечание

Количество

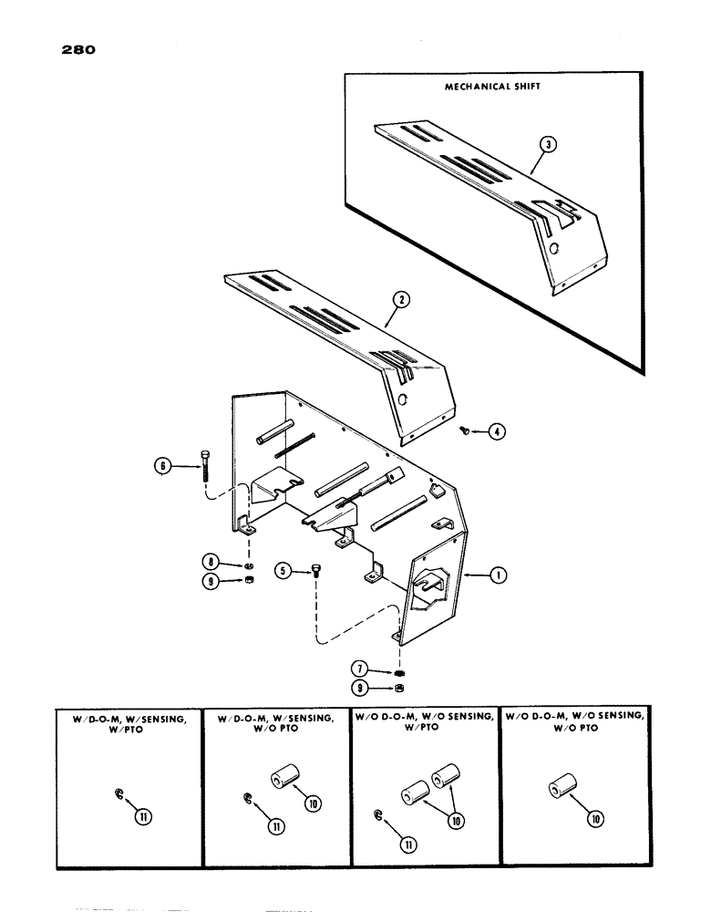
1

A62422

CONSOLE ASSY. - control, Start Serial: 8670148

1шт.

1

A60657

CONSOLE ASSY. - control, Serial Range: -8670148

1шт.

2

A59786

COVER

- control console, power shift

1шт.

3

A59787

COVER

- control console, mechanical shift

1шт.

4

113-1

BOLT,Hex, 1/4" - 20 x 1/2", Gr 5

6шт.

5

13-614

BOLT,Hex, 3/8" - 16 x 7/8", Gr 5, Full Thd

3шт.

6

13-646

BOLT,Hex, 3/8" - 16 x 2-7/8", Gr 5

Hex, 3/8"-16 x 2 7/8, G5

1шт.

7

193-46

LOCK WASHER,Ext-Int Tooth, 3/8"

WASHER - Shakeproof, 3/8" int./ext.

3шт.

8

92-6

LOCK WASHER,3/8"

1шт.

9

25-106

NUT,3/8"-16, G5

- 3/8" N.C. hex.

4шт.

10

A59994

SPACER

- D-O-M sensing & P.T.O. (See Insets)

1шт.

11

A27785

CIRCLIP,#62, .480" Dia, E-Type

RING - retaining, (see insets) #62, .480" Dia, E-Type

1шт.

Выбрано товаров: 12