Запчасти Case IH 770 (063A) - FUEL INJECTION NOZZLE, (267B) DIESEL ENGINE, 1ST USED ENG. SER. NO. 2504221 (03) - FUEL SYSTEM

Схема запчастей Case IH 770 - (063A) - FUEL INJECTION NOZZLE, (267B) DIESEL ENGINE, 1ST USED ENG. SER. NO. 2504221 (03) - FUEL SYSTEM
23
6
11
25
21
8
20
3
17
5
24
1
16
2
10
9
4
7
18
19
15
22
20
FIT
1:1
100%

Артикул

Название

Примечание

Количество

1

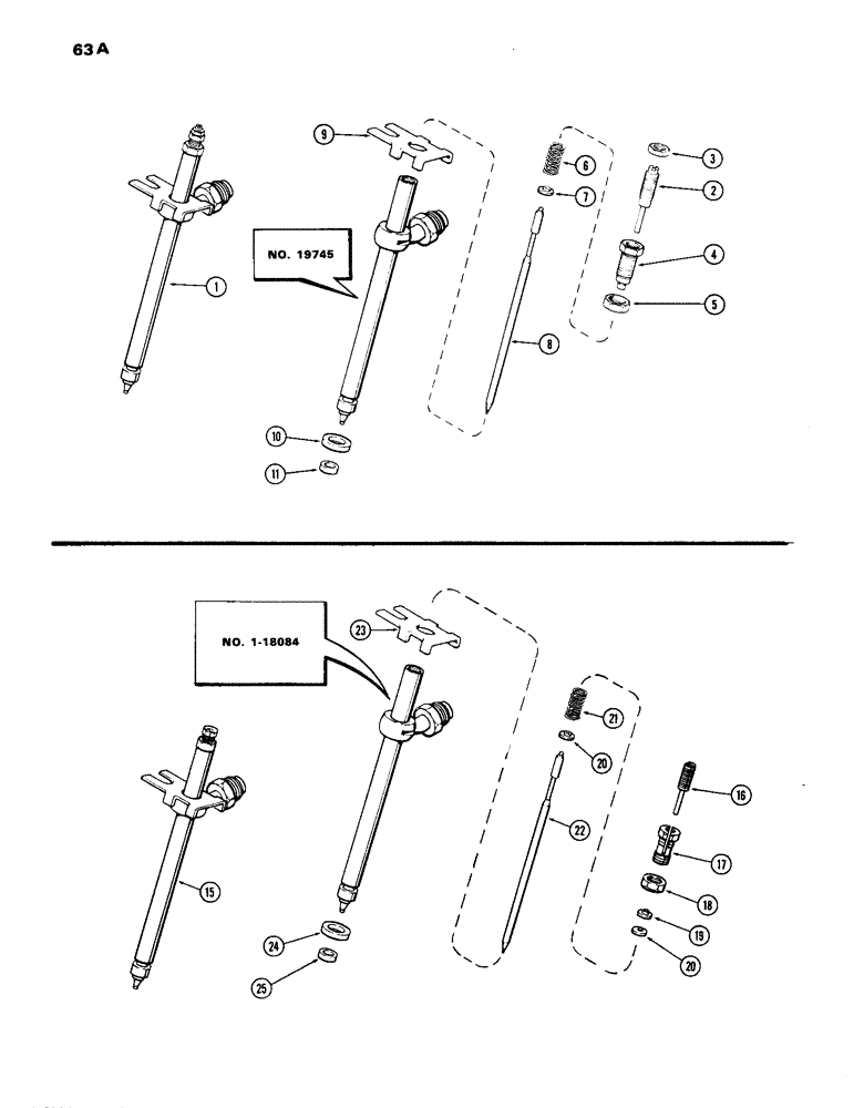
A62809

NOZZLE CAP

NOZZLE ASSY. - injection (Supplier's No. 19745 stamped on body) (color coded red) (includes ref. 2 - 11)

1шт.

Whenever nozzle is removed from head, the seal A41402 & washer A41403 must be replaced before nozzle is installed back in head.

1шт.

A138322R

REMAN-INJECT NOZZLE

770 (PRIOR TO S/N 8675001) 1ST USED ENG. SER. NO. 2504221 (1/69-12/72) REMAN FOR NEW P/N A62809

1шт.

A138322C

CORE-NOZZLE, INJECT

Return Number

1шт.

2

A43599

ADJUSTMENT SCREW,#10 - 56 x 1.39"

SCREW - lift adjusting

1шт.

3

A43602

NUT

- lock, lift adjusting (#10-56 thrd.)

1шт.

4

A43600

ADJUSTMENT SCREW,#10 - 56 x 0.68"

SCREW - pressure adjusting

1шт.

5

A42424

LOCK NUT

- lock, pressure adjusting (5/16"-48 thrd.)

1шт.

6

A43601

SPRING

- pressure adjusting (brown color code) (33/64" free length)

1шт.

7

A41401

SEAT

- spring

1шт.

8

NSS

NOT SOLD SEPARAT

VALVE - nozzle

1шт.

9

A41768

PLATE

- nozzle locating

1шт.

10

A41403

WASHER,9.55mm ID x 14.18mm OD x 3.38mm Thk

- plain

1шт.

11

A41402

SEAL,7.89mm ID x 9.74mm OD x 2.87mm Thk

- carbon stop

1шт.

15

A58694

NOZZLE

ASSY. - injection (Supplier's No. I-18084 stamped on body) (includes ref. 16 - 25), Serial Range: -2504221

4шт.

Whenever nozzle is removed from head, the seal A41402 & washer A41403 must be replaced before nozzle is installed back in head.

1шт.

A138322R

REMAN-INJECT NOZZLE

770 (PRIOR TO S/N 8675001) Serial Range: -2504221 (1/69-12/72) REMAN FOR NEW P/N A58694

4шт.

A138322C

CORE-NOZZLE, INJECT

Return Number

1шт.

16

A41408

ADJUSTMENT SCREW,#10 - 56 x 1.40"

SCREW - lift adjusting, Serial Range: -2504221

1шт.

17

A41409

ADJUSTMENT SCREW,5/16" - 48

SCREW - pressure adjusting, Serial Range: -2504221

1шт.

18

A42424

LOCK NUT

- hex, Serial Range: -2504221

1шт.

19

A41407

WASHER

- ball, Serial Range: -2504221

1шт.

20

A41401

SEAT

- spring, Serial Range: -2504221

2шт.

21

A41444

VALVE SPRING

SPRING - nozzle pressure adjusting, Serial Range: -2504221

1шт.

22

NSS

NOT SOLD SEPARAT

VALVE - nozzle, Serial Range: -2504221

1шт.

23

A41768

PLATE

- nozzle locating, Serial Range: -2504221

1шт.

24

A41403

WASHER,9.55mm ID x 14.18mm OD x 3.38mm Thk

- plain, Serial Range: -2504221

1шт.

25

A41402

SEAL,7.89mm ID x 9.74mm OD x 2.87mm Thk

- carbon stop, Serial Range: -2504221

1шт.

Выбрано товаров: 28