Запчасти Case IH 770 (068) - FUEL TANK & LINES, (251B) SPARK IGNITION ENGINE (03) - FUEL SYSTEM

Схема запчастей Case IH 770 - (068) - FUEL TANK & LINES, (251B) SPARK IGNITION ENGINE (03) - FUEL SYSTEM
24
6
5
15
12
23
8
4
1
22
12
9
7
2
16
14
17
21
3
17
25
13
FIT
1:1
100%

Артикул

Название

Примечание

Количество

1

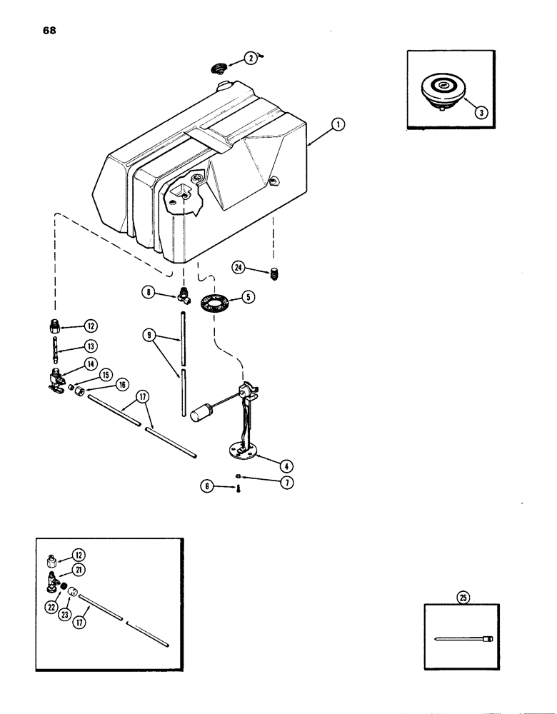
A59490

FUEL TANK

TANK - fuel

1шт.

2

A32119

CAP

- fuel tank filler (w/o lock)

1шт.

3

A32120

CAP

- fuel tank filler (w/lock)

1шт.

4

A62092

UNIT

- fuel gauge sending (Replaces A59491)

1шт.

5

A11822

GASKET

- sending unit

1шт.

6

173-221

SCREW,Sl Rnd Hd, #10 - 32 x 7/16"

- #10 x 7/16" N.F. rd. hd. mach.

5шт.

7

192-18

LOCK WASHER,Helical Spring, #10, 0.196" ID, CST, ZND

WASHER, LOCK, #10

5шт.

8

217-107

VALVE

- drain cock

1шт.

9

A22988

HOSE,0.25" ID x 15.00", SAE SC716 CS

- Water trap drain 0.25" ID x 15.00", SAE SC716 CS

1шт.

12

217-2

ADAPTER,1/4"-18 Fem NPTF x 1/4"-18 NPTF Male

- outlet, 1/4 x 1/4"

1шт.

13

A64596

STRAINER ELEMENT

FILTER - fuel (Replaces A62353)

1шт.

14

A62354

VALVE

ASSY. - fuel outlet & shut-off (includes ref. 15 & 16)

1шт.

15

222-5186

SLEEVE,3/8" Tube

- for 3/8" Tube

1шт.

16

222-5181

NUT,9/16"-24

NUT - for 3/8" tube

1шт.

17

A62027

TUBE

- tank, Serial Range: outlet-engine

1шт.

21

217-278

FITTING

VALVE - outlet & shut-off (Order A62354) (includes ref. 22 & 23)

1шт.

22

222-5186

SLEEVE,3/8" Tube

- for 3/8" Tube

1шт.

23

222-5181

NUT,9/16"-24

NUT - for 3/8" tube

1шт.

24

221-13

PLUG,Sq Hd, 3/8"-18

- 3/8" P.T. sq. hd.

1шт.

25

L11541

CABLE TIE,203.2mm L, Nylon

STRAP - tube

2шт.

A143035

NUT,31.75mm OD x 26.97mm L

GROMMET

1шт.

Use to attach fuel lines or drain cock, if needed

1шт.

A65890

STUD,3/8" - 16 x 1/4" NPT

1шт.

Use to attach fuel lines or drain cock, if needed

1шт.

A65892

WASHER

1шт.

Use to attach fuel lines or drain cock, if needed

1шт.

Выбрано товаров: 26