Запчасти Case IH 770 (080) - BATTERY - CABLES - BATTERY BOX, (267B) DIESEL ENGINE (04) - ELECTRICAL SYSTEMS

Схема запчастей Case IH 770 - (080) - BATTERY - CABLES - BATTERY BOX, (267B) DIESEL ENGINE (04) - ELECTRICAL SYSTEMS
12
5
7
14
18
10
11
2
15
3
4
13
1
6
FIT
1:1
100%

Артикул

Название

Примечание

Количество

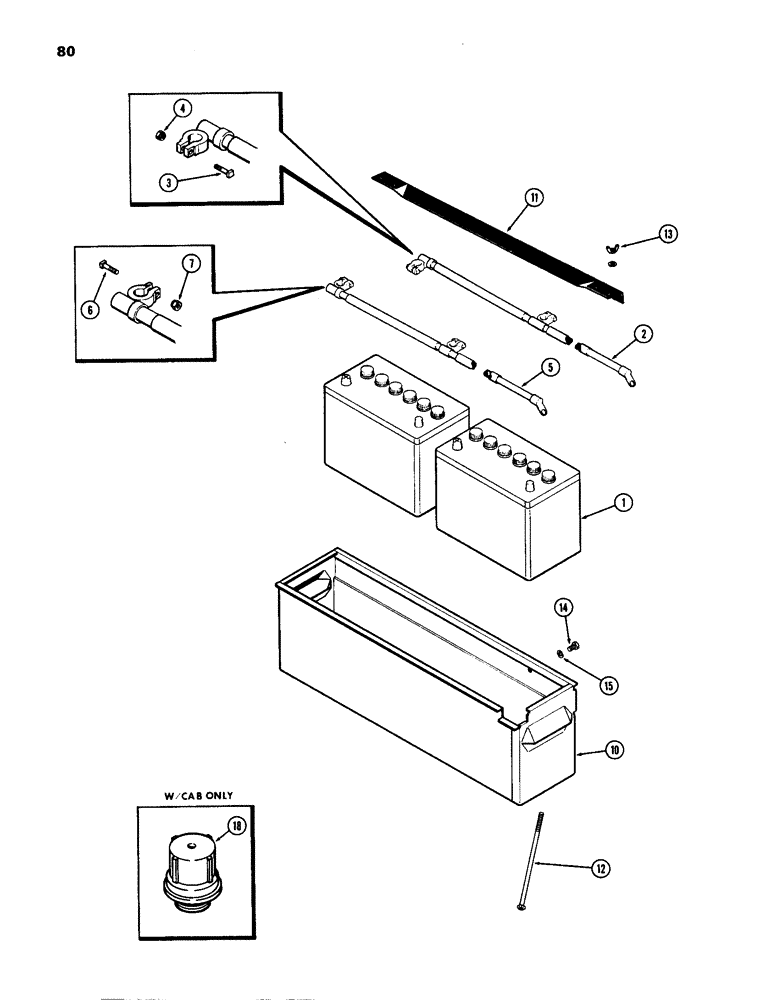
1

A58559

BATTERY

- 12 volt

2шт.

2

A59675

NEG BATTERY CABLE

CABLE - battery, negative (ground) (includes ref. 3 & 4)

1шт.

3

117-108

SQUARE BOLT,5/18" - 16 x 1 3/8", Gr 5

- 5/16 x 1-3/8" N.C. sq. hd.

2шт.

4

129-516

NUT

- 5/16" N.C. hex

2шт.

5

A62139

NEG BATTERY CABLE

CABLE - battery, positive (Replaces A59674) (includes ref. 6 & 7)

1шт.

6

117-108

SQUARE BOLT,5/18" - 16 x 1 3/8", Gr 5

- 5/16 x 1-3/8" N.C. sq. hd.

2шт.

7

129-516

NUT

- 5/16" N.C. hex

2шт.

10

A62137

BOX

ASSY. - battery (Replace A59556)

1шт.

11

A59173

CLAMP

- battery hold down

1шт.

12

11-5160

BOLT

- battery hold down

2шт.

13

G49020

NUT

- 5/16" N.C. wing

2шт.

14

13-514

BOLT,Hex, 5/16" - 18 x 7/8", Gr 5

1шт.

15

92-5

LOCK WASHER,5/16"

( x 7/8" N.C. hex) 5/16"

1шт.

18

A60553

CAP

- battery, non spill vent

12шт.

Выбрано товаров: 14