Запчасти Case IH 770 (088) - ELECTRICAL EQUIPMENT AND WIRING, (251B) SPARK IGNITION ENGINE (04) - ELECTRICAL SYSTEMS

Схема запчастей Case IH 770 - (088) - ELECTRICAL EQUIPMENT AND WIRING, (251B) SPARK IGNITION ENGINE (04) - ELECTRICAL SYSTEMS
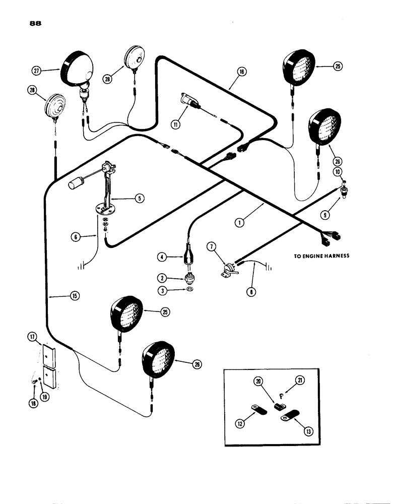
5
16
28
19
21
20
1
27
15
18
28
12
25
8
4
2
3
26
25
6
10
26
13
11
9
7
17
FIT
1:1
100%

Артикул

Название

Примечание

Количество

1

A62413

HARNESS

- trans. wire (Replaces A61132)

1шт.

2

A20990

SWITCH

- safety, neutral start

1шт.

3

G49401

SHIM,.005" Thk

Neutral start switch (Mechanical shift) .005" Thk

1шт.

3

G49402

SHIM,.010" Thk

Neutral start switch (Mechanical shift) .010" Thk

1шт.

4

A61028

BOOT

- neutral start switch

1шт.

5

A62092

UNIT

- fuel sending (Replaces A59491)

1шт.

6

A59710

ELECTRICAL WIRE

WIRE - fuel gauge sender ground

1шт.

7

A33977

SWITCH

- hand brake warning

1шт.

8

A59711

ELECTRICAL WIRE

WIRE - hand brake switch ground

1шт.

9

A21462

SENDER UNIT

UNIT - trans. temp. sending (Replaces A58984)

1шт.

10

129-661

NUT

- #10 N.F. hex, brass

1шт.

11

A8170

SOCKET

- auxiliary outlet

1шт.

12

A37179

CLIP

- trans. sending wire

1шт.

13

A22880

CLIP

- trans wire harness & fuel sending unit

1шт.

15

A62412

HARNESS

- fender wire, R.H., Start Serial: 8675001

1шт.

15

A59708

HARNESS

- fender wire, R.H., Serial Range: -8675001

1шт.

16

A59709

HARNESS

- fender wire, L.H.

1шт.

17

A59720

SHIELD - fender wire harness, R.H. (w/12" fender)

1шт.

17

A59721

SHIELD - fender wire harness, L.H. (w/12" fender)

1шт.

17

A60892

SHIELD - fender wire harness, R.H. & L.H. (w/15" fender)

2шт.

18

13-58

BOLT,Hex, 5/16" - 18 x 1/2", Gr 5

Shield Hex, 5/16"-18 x 1/2", G5, Full Thd

4шт.

19

92-5

LOCK WASHER,5/16"

4шт.

20

NLS

NO LONGER SERVICED

- fender, Serial Range: wires-fender

7шт.

21

187-1009

BOLT

SCREW - clamp, 1/4 x 3/8" hex hd self-tapping

7шт.

22

A62547

CLAMP

- fender wire

1шт.

25

A59701

LAMP

- front head driving (See Fig. 103A)

2шт.

26

A59724

HEADLAMP

LAMP - front cultivator (See Figure 104 ) (for 12" fender)

2шт.

26

A59723

LAMP

- front cultivator (See Figure 104) (For 15" fender)

2шт.

27

A59703

LAMP

- rear flood & tail (See Figure 105A)

1шт.

28

A34853

LAMP

- flasher (See Figure 102)

2шт.

166-93

12 PT SCREW,Flg, 1/2" - 13 x 3", Gr 8

SCREW, 12 Pt Flg, 1/2"-13 x 3", G8

1шт.

Used to mount starter

1шт.

Выбрано товаров: 32