Запчасти Case IH 770 (186) - RANGE SHIFT MECHANISM, COVERS AND RELIEF VALVE, POWER SHIFT (06) - POWER TRAIN

Схема запчастей Case IH 770 - (186) - RANGE SHIFT MECHANISM, COVERS AND RELIEF VALVE, POWER SHIFT (06) - POWER TRAIN
13
25
32
8
37
24
3
23
36
32
30
29
35
7
29
9
34
17
15
21
31
20
28
32
27
16
4
6
26
38
1
5
21
33
12
2
10
5
11
34
FIT
1:1
100%

Артикул

Название

Примечание

Количество

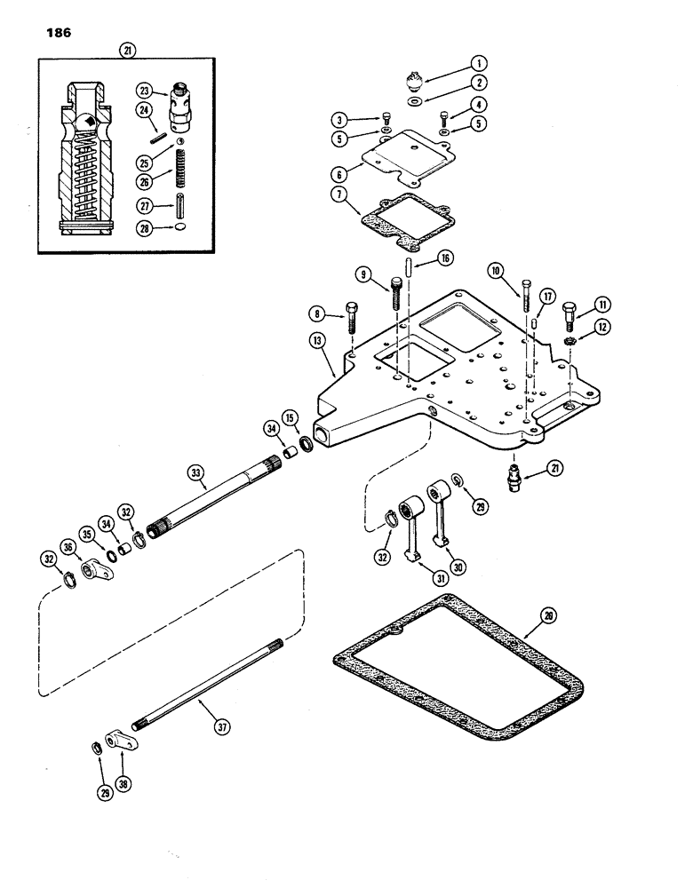
1

A20990

SWITCH

- neutral startSWITCH - safety, neutral start

1шт.

2

G49402

SHIM,.010" Thk

Neutral start switch (19/32 x 1 x 1/100") .010" Thk

1шт.

3

113-217

PREV TORQUE BOLT,Locking, 3/8"-16 x 1", G5, Full Thd

BOLT, , Shift lever cover to trans. top cover Locking, 3/8"-16 x 1", G5, Full Thd

1шт.

4

13-610

BOLT,Hex, 3/8" - 16 x 5/8", Gr 5, Full Thd

Shift lever cover to trans. top cover Hex, 3/8"-16 x 5/8", G5, Full Thd

3шт.

5

95-6

WASHER,3/8"

- wrought (7/16 x 1 x 5/64")

4шт.

6

NSS

NOT SOLD SEPARAT

COVER - gear shift lever & neutral switch (Order A60832)

1шт.

7

A59115

GASKET

- cover, gear shift lever

1шт.

8

13-840

BOLT,Hex, 1/2" - 13 x 2-1/2", Gr 5

- (1/2 x 2-1/2" N.C. hex.)

8шт.

9

166-91

12 PT SCREW,Flg, 1/2" - 13 x 2 1/2, Gr 8

BOLT - (1/2 x 2-1/2" N.C. Ferry cap)

1шт.

10

113-439

SCREW,Locking, 1/2"-13 x 2 1/2", G5

BOLT - (1/2 x 2-1/2" N.C. hex.) (Nylock Insert)

1шт.

11

A60891

STEP BOLT

BOLT - dowel (Nylock Insert)

1шт.

12

193-12

LOCK WASHER,Ext Tooth, 0.52" ID x 0.89" OD, STL, PLN

WASHER, LOCK, Ext Tooth, 1/2"

1шт.

13

A62638

COVER - trans. front top

1шт.

15

A28211

OIL SEAL

- oil, external range shift lever shaft

1шт.

16

A58950

PIN

- dowel, external range shift lever, Serial Range: shaft-cover

1шт.

17

D24005

PIN

- dowel, trans. top front cover to valve body

1шт.

20

A62114

GASKET,0.79mm Thk

- trans. top front cover to trans. hsg.

1шт.

21

A60890

VALVE

ASSY. - lube oil relief, Includes: Ref. 22 - 28

1шт.

23

NSS

NOT SOLD SEPARAT

BODY - relief valve (Order A60890)

1шт.

24

138-57

LOCK PIN,1/8" x 3/4", Slotted

PIN, 1/8" x 3/4", Slotted

1шт.

25

211-9

BALL,5/16" Dia

- (meter chrome steel) 5/16" Dia

1шт.

26

A6088

SCREW

SPRING - relief valve (1-11/16" free length) (5/16" O.D.)

1шт.

27

138-96

LOCK PIN,3/16" x 1", Slotted

PIN, 3/16" x 1", Slotted

1шт.

28

195-6

WASHER,#6

- (5/32 x 5/16 x 1/32")

1шт.

29

A59594

RING

SNAP RING - retaining, internal range shift shaft

2шт.

30

A61281

LEVER

- range shift (1st & 3rd)

1шт.

31

A61280

LEVER

- range shift (2nd & 4th)

1шт.

32

B18208

SNAP RING,#100, Ext

range shift lever to shaft #100, Ext

3шт.

33

A58245

SHAFT

ASSY. - external range shift, Includes: Ref. 34

1шт.

34

A57790

SUPPORT

BUSHING - external range shift lever shaft

2шт.

35

A58949

O-RING,0.614" ID x 0.754" OD

"O" RING - internal range shift lever shaft (5/8 x 3/4 x 1/16")

3шт.

36

A64936

LEVER

- range shift (2nd & 4th) (Replaced A60369)

1шт.

37

A59591

SHAFT

- lever, internal range shift

1шт.

38

A64935

LEVER

- range shift (1st & 3rd) (Replaced A60363)

1шт.

Выбрано товаров: 34