Запчасти Case IH 770 (214) - PARKING BRAKE (06) - POWER TRAIN

Схема запчастей Case IH 770 - (214) - PARKING BRAKE (06) - POWER TRAIN
25
1
32
26
8
35
18
21
19
34
27
22
16
24
28
25
26
24
20
25
2
30
26
14
19
24
15
5
4
33
21
24
13
23
23
7
6
22
31
20
25
12
11
FIT
1:1
100%

Артикул

Название

Примечание

Количество

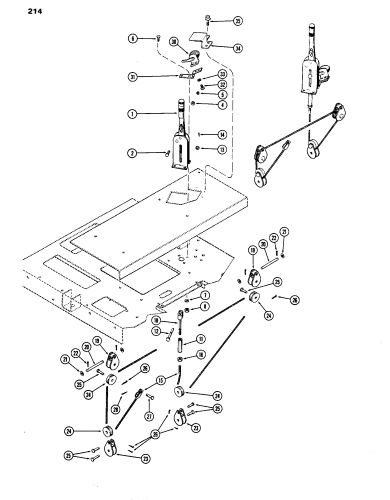
1

A59410

LEVER

ASSY. - hand brake, Includes: Ref. 2 - 5

1шт.

2

A42204

PIN

- hand brake lever

1шт.

D47261

WASHER

- (21/64 x 29/64 x 1/100") (Conical Spring) (Not Illust.)

1шт.

4

195-521

WASHER,5/16", SAE

- (11/32 x 11/16" x 16 ga.)

1шт.

5

C14652

RING

- retaining, hand brake lever pin

1шт.

6

13-616

BOLT,Hex, 3/8" - 16 x 1", Gr 5, Full Thd

3шт.

7

92-6

LOCK WASHER,3/8"

3шт.

8

25-106

NUT,3/8"-16, G5

- (3/8" N.C. hex.)

3шт.

10

A59411

ROD

END - rod

1шт.

11

A59412

TURNBUCKLE

1шт.

12

A59153

CLEVIS PIN

PIN - clevis, brake lever

1шт.

13

195-21

WASHER,5/16"

- (5/16 x 7/8 x 1/16")

2шт.

14

132-26

COTTER PIN

PIN - split (Cotter), 3/32" x 3/4"

1шт.

15

A59420

CABLE

- parking brake

1шт.

16

25-145

JAM NUT,Jam, 5/16"-18, G5

- (5/16" N.C. Jam)

1шт.

19

A62258

SUPPORT

- pulley, park brake

2шт.

20

A62262

PIN

- pulley support

2шт.

21

195-21

WASHER,5/16"

- (5/16 x 7/8 x 1/16")

4шт.

22

132-26

COTTER PIN

PIN - split (Cotter), 3/32" x 3/4"

4шт.

23

A62260

SUPPORT

- pulley, park brake

2шт.

24

A59416

SHEAVE

PULLEY - parking brake cable

4шт.

25

A59419

PIN,7.9mm OD x 30.96mm L

- clevis, parking brake pulley & cable

6шт.

26

132-26

COTTER PIN

PIN - split (Cotter), 3/32" x 3/4"

6шт.

27

141-1

CLEVIS PIN,3/16" x .580"

PIN - clevis (3/16 x 37/64")

1шт.

28

132-5

COTTER PIN,1/16" x 1/2"

Pin, Split (Cotter), 1/16" x 1/2"

1шт.

30

A33977

SWITCH

- brake light

1шт.

31

A60542

BRACKET - brake light switch

1шт.

32

174-95

SCREW,Sl Rd Hd, #10 - 32 x 3/8"

- (#10 x 3/8" N.F. Rd. Hd. Mach.)

2шт.

33

193-26

LOCK WASHER,Int Tooth, #10

WASHER, LOCK, Int Tooth, #10

2шт.

34

A59421

COVER

- parking brake light switch

1шт.

35

187-1053

SELF-TAP SCREW,Truss Hd, #10 x 1/2"

SCREW - (#10 x 1/2" truss hd. self-tapping)

3шт.

Выбрано товаров: 31