Запчасти Case IH 770 (256) - BELT PULLEY (06) - POWER TRAIN

Схема запчастей Case IH 770 - (256) - BELT PULLEY (06) - POWER TRAIN
43
31
46
3
7
49
15
9
32
23
11
14
45
30
33
42
27
1
25
22
13
39
5
40
4
44
24
51
8
20
12
41
29
48
47
21
31
28
26
34
6
50
10
2
FIT
1:1
100%

Артикул

Название

Примечание

Количество

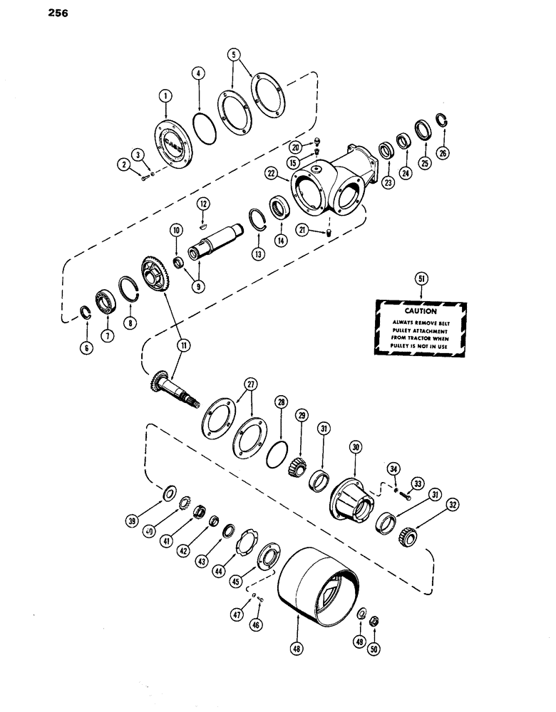
1

A20293

COVER - housing & bearing carrier

1шт.

2

13-620

BOLT,Hex, 3/8" - 16 x 1-1/4", Gr 5, Full Thd

6шт.

3

92-6

LOCK WASHER,3/8"

6шт.

4

A28183

O-RING,0.139" Thk x 6.234" ID, -259, Cl 5, 75 Duro

"O" RING - cover (6-1/4 x 6-1/2 x 1/8")

1шт.

5

A20294

SHIM - cover (.003")

1шт.

5

A20295

SHIM - cover (.005")

1шт.

6

A27760

RING, SNAP

SNAP RING - bearing retainer, outer

1шт.

7

A20291

BALL BEARING,2.3616" ID x 4.3307" OD

BEARING - drive shaft, outer

1шт.

8

A20292

SNAP RING - bearing retainer, inner

1шт.

9

A34040

BOLT

SHAFT ASSY.- drive (15-3/16" long) (540 R.P.M.), Includes: Ref. 10

1шт.

10

41-1024

PLUG,Cup, 1 1/2"

- (1-1/2" cup type)

1шт.

11

A20312

GEAR ASSY. - bevel (matched set) (540 R.P.M.) (Pinion Shaft 17 teeth & Pinion Gear 35 teeth)

1шт.

11

A34043

GEAR ASSY. - bevel (matched set) (1000 R.P.M.) (Pinion Shaft 23 Teeth & Pinion Gear 25 Teeth)

1шт.

12

126-44

WOODRUFF KEY,#129, 3/8" x 2 1/8"

KEY - bevel gear (#129 Woodruff)

1шт.

13

A20287

SNAP RING - inner bearing retainer

1шт.

14

A20286

BEARING - housing, inner

1шт.

15

221-88

REDUCER,Hex, 1/2" x 1/4" NPT

BUSHING - reducing (1/2" to 1/4")

1шт.

20

A27173

BREATHER

- housing

1шт.

21

221-11

PLUG,Sq Hd, 1/8"-27

- pipe, housing (1/8" P.T., square head)

1шт.

23

A20313

RACE - bearing, inner

1шт.

24

A20289

COLLAR - drive shaft (2-5/32 x 2-1/2 x 3/4")

1шт.

25

A20288

SEAL - oil (2-1/2 x 3-1/2 x 15/32")

1шт.

26

A20314

SNAP RING - oil seal retaining

1шт.

27

A20299

SHIM - bevel pinion housing (.003")

1шт.

27

A20300

SHIM - bevel pinion housing (.005")

1шт.

28

R12802

O-RING,0.139" Thk x 4.734" ID, -248, Cl 6, 90 Duro

"O" RING - bevel pinion housing (4-3/4 x 5 x 1/8")

1шт.

29

A27301

ROLLER BEARING,2" ID x 1.193"

CONE - inner bearing

1шт.

30

A20298

HOUSING ASSY. - bevel pinion, Includes: Ref. 31

1шт.

31

A26678

BEARING CUP,3.6718" OD x 0.9375"

CUP - bearing

2шт.

32

A20301

CUP

CONE - outer bearing

1шт.

33

13-824

BOLT,Hex, 1/2" - 13 x 1-1/2", Gr 5, Full Thd

4шт.

34

92-8

LOCK WASHER,1/2"

4шт.

39

A20302

WASHER - thrust, outer bearing

1шт.

40

A20303

WASHER - pinion shaft

1шт.

41

131-1059

LOCK NUT,Bearing, 1.5748" Bore

NUT - pinion shaft retaining

1шт.

42

A20305

SPACER - outer, belt pulley shaft

1шт.

43

A20306

SEAL - oil, pinion (1-3/4 x 2-29/64 x 1/4")

1шт.

44

A20309

GASKET - oil seal carrier

1шт.

45

A20307

CARRIER - oil seal

1шт.

46

13-516

BOLT,Hex, 5/16" - 18 x 1", Gr 5

4шт.

47

92-5

LOCK WASHER,5/16"

4шт.

48

A7427

PULLEY - belt

1шт.

49

A26737

WASHER - lock, belt pulley shaft

1шт.

50

25-1516

NUT,Jam, 1"-14, G5

- hex. (1" N.F. Jam)

1шт.

51

321-333

DECAL

- "Caution", belt pulley

1шт.

Выбрано товаров: 45