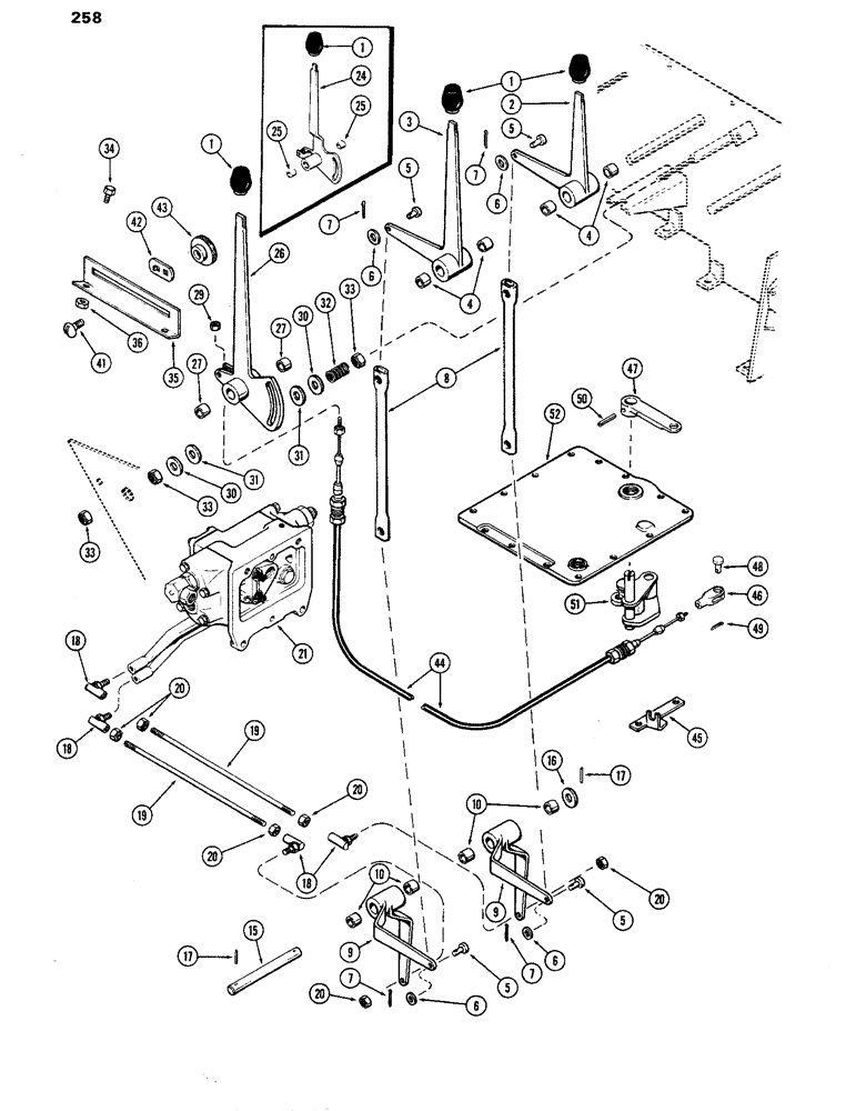
Запчасти Case IH 770 (258) - REMOTE HYDRAULICS AND DRAFT CONTROLS (08) - HYDRAULICS

Схема запчастей Case IH 770 - (258) - REMOTE HYDRAULICS AND DRAFT CONTROLS (08) - HYDRAULICS
20
21
42
18
6
18
7
44
25
34
24
5
10
4
31
36
46
5
1
9
5
32
33
20
19
25
52
9
45
16
41
33
6
1
48
30
6
20
47
8
29
4
2
10
49
33
6
7
31
50
1
51
7
26
5
17
17
27
20
35
27
18
7
3
15
19
20
43
30
FIT
1:1
100%

Артикул

Название

Примечание

Количество

1

A65699

KNOB

- hand lever (Replaced A65541 & A62078)

3шт.

2

A59525

LEVER

ASSY. - remote, inner, Includes: Ref. 4

1шт.

3

A59523

LEVER

ASSY. - remote, outer, Includes: Ref. 4

1шт.

4

A59429

BUSHING,15.95mm ID x 19.13mm OD x 12.83mm L

- remote levers

2шт.

5

141-3

CLEVIS PIN,5/16" x .940"

PIN, CLEVIS, 5/16" x .940"

4шт.

6

195-21

WASHER,5/16"

- plain, () 5/16"

4шт.

7

132-25

COTTER PIN,3/32" x 5/8"

Pin, Split (Cotter), 3/32" x 5/8"

4шт.

8

A61660

LINK - remote levers, upper

2шт.

9

A59527

LEVER ASSY. - remote, bellcrank, Includes: Ref. 10

2шт.

10

A59429

BUSHING,15.95mm ID x 19.13mm OD x 12.83mm L

- remote bellcrank lever

2шт.

15

A59529

SHAFT

- lever, remote bellcrank

1шт.

16

195-41

WASHER,5/8"

1шт.

17

138-62

LOCK PIN,1/8" x 1 1/8", Slotted

PIN, , Levers to shaft, shaft to frame 1/8" x 1 1/8", Slotted

2шт.

18

A60604

BALL JOINT

- remote lever lower rod (5/16")

4шт.

19

A59519

ROD

- remote lever, lower

2шт.

20

25-115

NUT,5/16"-24, G5

- hex (5/16" NF)

6шт.

21

A42248

VALVE

ASSY. - dual remote (See Fig. 274 & 276 For Repairs)

1шт.

24

A63033

LEVER

ASSY. - D.O.M. control, Includes: Ref. 25, Start Serial: 8693001

1шт.

25

A59429

BUSHING,15.95mm ID x 19.13mm OD x 12.83mm L

- D.O.M. hand lever

2шт.

26

A61070

LEVER ASSY. - D.O.M. control, Includes: Ref. 27, Serial Range: -8693001

1шт.

27

A59429

BUSHING,15.95mm ID x 19.13mm OD x 12.83mm L

- D.O.M. hand lever

2шт.

29

193-1000

NUT,Keps, w/LW,#10-32

- Keps (#10 N.F. hex. w/ext. tooth washer)

1шт.

30

195-2172

WASHER,7/16" x 1 1/4" x .083"

- (7/16 x 1-1/4 x 14 ga.) (plated)

2шт.

31

A61069

DISC

- friction, D.O.M. hand lever

2шт.

32

A65583

SPRING

- D.O.M. hand lever (Replaced A26546)

1шт.

33

131-1306

JAM NUT,Jam, 3/8"-16

NUT - hex. (3/8" N.C. top face lock)

3шт.

34

113-102

BOLT,Hex, 5/16" - 18 x 3/4", Gr 5

Hex, 5/16"-18 x 3/4", G5, Full Thd, Quadrant to console

2шт.

35

A59273

BRACKET

QUADRANT - hand lever (D.O.M.)

1шт.

36

131-113

SPRING NUT,J, Ret, 5/16"-18

2шт.

41

111-317

CARRIAGE BOLT,Short NK, 3/8"-16 x 1", G2

BOLT, CARRIAGE, Short NK, 3/8"-16 x 1", G2

2шт.

42

G15950

STOP

- quadrant, D.O.M. hand lever

1шт.

43

G15951

NUT

- knurled, D.O.M. hand lever quadrant stop

2шт.

44

A59522

CABLE

- D.O.M. control

1шт.

45

A61037

BRACKET

- D.O.M. cable, lower

1шт.

46

213-1

ADJUSTABLE CLEVIS,#10-32

YOKE - cable to lower lever (3/16")

1шт.

47

A59521

LEVER

- D.O.M., lower

1шт.

48

141-1

CLEVIS PIN,3/16" x .580"

PIN - clevis (3/16")

1шт.

49

132-7

COTTER PIN,1/16" x 3/4"

Pin, Split (Cotter), 1/16" x 3/4"

1шт.

50

138-2028

PIN,3/16" x 1 1/4", Coiled

1шт.

51

A32310

LINK

- draft control (Link "C")

1шт.

52

A59598

COVER

- rockshaft housing

1шт.

Выбрано товаров: 41