Запчасти Case IH 770 (302) - HOOD AND HANDLES (09) - CHASSIS/ATTACHMENTS

Схема запчастей Case IH 770 - (302) - HOOD AND HANDLES (09) - CHASSIS/ATTACHMENTS
34
23
29
6
12
14
5
29
19
10
7
6
11
13
15
26
3
22
35
8
16
1
36
9
23
6
2
27
25
20
28
24
17
4
25
FIT
1:1
100%

Артикул

Название

Примечание

Количество

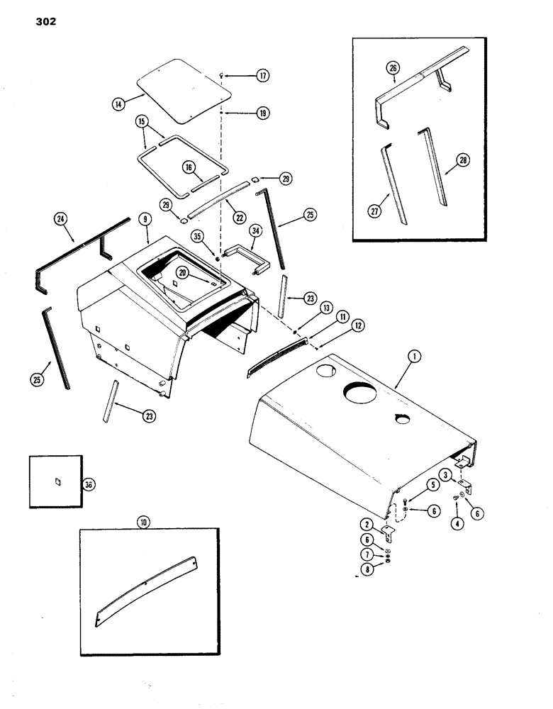
1

A60926

HOOD ASSY. - front

1шт.

2

A62742

BRACKET

- front hood to grille mtg., R.H.

1шт.

3

A62743

BRACKET

- front hood to grille mtg., L.H.

1шт.

4

280345

BOLT,Hex, 5/16" - 18 x 7/8", Gr 5, Full Thd

- (5/16 x 7/8" N.C. hex.) (Black Zinc)

4шт.

5

13-516

BOLT,Hex, 5/16" - 18 x 1", Gr 5

2шт.

6

95-5

WASHER,3/8" x 7/8" x .083"

- 3/8 x 7/8 x 5/64"

8шт.

7

92-5

LOCK WASHER,5/16"

6шт.

8

9635082

NUT,5/16" - 18, Gr 5

- 5/16" N.C. hex.

2шт.

9

A60930

HOOD ASSY. - rear

1шт.

10

A64876

COVER

- hood opening, Start Serial: 8693001

1шт.

11

A59395

SCREEN

- hood opening, Serial Range: -8693001

1шт.

12

182-522

SCREW,Cross Pan Hd, #6 - 32 x 1/2"

- (#6-32 x 1/2" N.C. pan hd. Phillips) (Black Zinc)

3шт.

13

131-618

NUT

- #6 N.C. Tinnerman

3шт.

14

A59391

COVER

- hood access

1шт.

15

A59400

SEAL

- hood access cover, outer

2шт.

Attach with adhesive 345-19

1шт.

16

A59401

SEAL

- hood access cover center

1шт.

Attach with adhesive 345-19

1шт.

17

A61044

STUD

- wing hd., rear hood cover

3шт.

19

A61045

RETAINER

- stud, rear hood cover

3шт.

20

A61046

CLIP

RECEPTACLE CLIP - rear hood cover

3шт.

22

A59406

SEAL

- rear hood center

1шт.

Attach with adhesive 345-19

1шт.

23

A59407

SEAL - rear hood, outer

2шт.

Attach with adhesive 345-19

1шт.

24

A64864

GUARD

MOLDING - rear hood & inst. panel, Start Serial: 8693037

1шт.

25

A64865

SEAT

MOULDING - rear hood lower, R.H. & L.H., Start Serial: 8693037

2шт.

26

A60939

MOLDING

MOULDING - rear hood & instrument panel

1шт.

Attach with adhesive 345-21

1шт.

27

A60940

MOLDING

MOULDING - lower rear hood (R.H.), Serial Range: -8693037

1шт.

Attach with adhesive 345-21

1шт.

28

A60941

EJECTOR

MOULDING - lower rear hood (L.H.), Serial Range: -8693037

1шт.

Attach with adhesive 345-21

1шт.

29

A62122

SEAL

- rear hood, upper

2шт.

34

A60530

HANDLE

- R.H. & L.H.

2шт.

35

230-4216

LOCK NUT,3/8"-16, GA

NUT - 3/8" N.C. hex. lock, Handles

4шт.

36

A59366

PLUG

- handle hole cover (Standard)

4шт.

36

A62811

PLUG

- handle hole cover (Demonstrator)

4шт.

Выбрано товаров: 0