Запчасти Case IH 770 (308) - INSTRUMENT PANEL, USED PRIOR TO TRACTOR S/N 8693001, AND FIREWALL (09) - CHASSIS/ATTACHMENTS

Схема запчастей Case IH 770 - (308) - INSTRUMENT PANEL, USED PRIOR TO TRACTOR S/N 8693001, AND FIREWALL (09) - CHASSIS/ATTACHMENTS
5
3
27
14
31
26
4
10
9
6
16
35
8
29
33
23
32
2
30
25
28
19
31
7
20
34
32
30
17
13
1
FIT
1:1
100%

Артикул

Название

Примечание

Количество

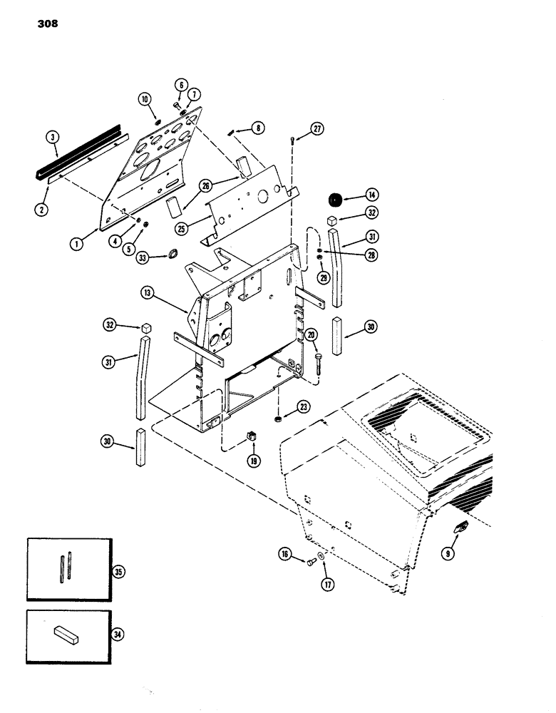
1

A62013

PANEL

ASSY. - instrument (Diesel)

1шт.

1

A62010

PANEL

ASSY. - instrument (Spark)

1шт.

2

A60957

PLATE ASSY. - moulding

1шт.

3

A60956

MOULDING - inst. panel bumper

1шт.

4

92-4

LOCK WASHER,1/4"

WASHER, LOCK, 1/4"

3шт.

5

25-104

NUT,1/4"-20, G5

3шт.

6

A60266

SCREW,Hex, 0.19"-24 x 5/8", Brass, BLK

- #10-24 x 5/8" hex., Brass

6шт.

7

193-93

LOCK WASHER,#10

WASHER - Shakeproof, int. #10

6шт.

8

131-621

NUT,Ret, J, #10-24

- #10-24 Tinnerman

4шт.

9

131-619

SPRING NUT,J, #10 - 24, 0.031" Thk

RETAINER - #10-24 "J" type

2шт.

10

353-407

PLUG,Dome, .687" hole, Nylon

- button (11/16")

1шт.

13

A62365

FIREWALL ASSY.

1шт.

14

A59719

GROMMET

- firewall, 1-1/8 x 2-1/2 x 1/2"

1шт.

16

13-616

BOLT,Hex, 3/8" - 16 x 1", Gr 5, Full Thd

Firewall Hex, 3/8"-16 x 1", G5, Full Thd

4шт.

17

95-6

WASHER,3/8"

- 7/16 x 1 x 5/64", firewall

4шт.

19

131-608

NUT

- 3/8" N.C. Tinnerman cage, firewall

4шт.

20

13-832

BOLT,Hex, 1/2" - 13 x 2", Gr 5

Firewall Hex, 1/2"-13 x 2", G5

2шт.

23

25-108

NUT,1/2"-13, G5

- 1/2" N.C. hex., firewall

2шт.

23

131-1116

LOCK NUT,1/2"-13, GB

NUT, LOCK, , Crown lock, firewall 1/2"-13, GB

2шт.

25

A59803

BAFFLE ASSY. - steering wheel, Includes: Ref. 26, firewall

1шт.

26

A59805

FILLER

BAFFLE - air (See Note), firewall

2шт.

27

13-416

BOLT,Hex, 1/4" - 20 x 1", Gr 5

Firewall Hex, 1/4"-20 x 1", G5

4шт.

28

92-4

LOCK WASHER,1/4"

WASHER, LOCK, , Firewall 1/4"

4шт.

29

25-104

NUT,1/4"-20, G5

Firewall 1/4"-20, G5

4шт.

30

A60773

BAFFLE - steering column support, lower, firewall

2шт.

Attach with adhesive 345-19

1шт.

31

A60774

BAFFLE - steering column support, center, firewall

2шт.

Attach with adhesive 345-19

1шт.

32

A60775

BAFFLE - steering column support, upper, firewall

2шт.

Attach with adhesive 345-19

1шт.

33

205-61

HOLE PLUG BUTTON,1 1/2"

PLUG - button, 1-1/2" dia., firewall

1шт.

34

A60777

FOAM

BAFFLE - hood, firewall & platform sealing

2шт.

35

345-27

BEAD - weather seal (1/4 x 10"), firewall

1шт.

Выбрано товаров: 0