Запчасти Case IH 770 (096) - BATTERY, CABLES, BATTERY BOX, 267B DIESEL AND 251B SPARK ENGINES (04) - ELECTRICAL SYSTEMS

Схема запчастей Case IH 770 - (096) - BATTERY, CABLES, BATTERY BOX, 267B DIESEL AND 251B SPARK ENGINES (04) - ELECTRICAL SYSTEMS
27
9
2
19
17
20
21
24
12
7
26
10
5
18
3
4
1
8
11
25
6
28
22
23
FIT
1:1
100%

Артикул

Название

Примечание

Количество

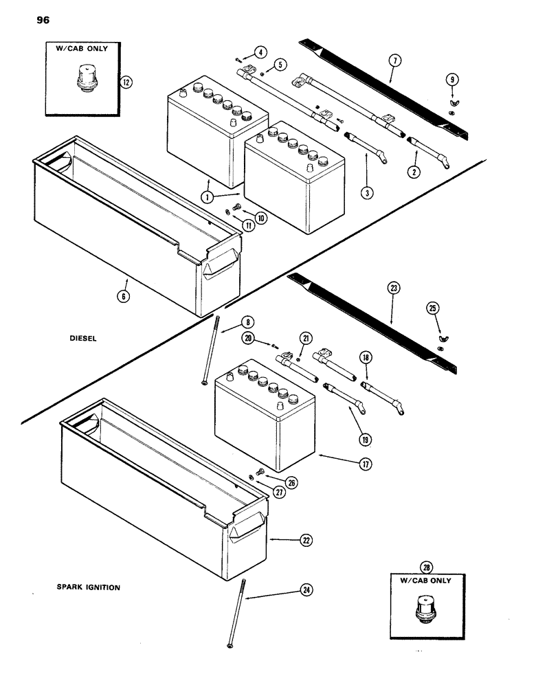
1

A58559

BATTERY

- 12 volt

2шт.

2

A59675

NEG BATTERY CABLE

CABLE ASSY. - battery, negative (ground) (incl. ref. 4 & 5)

1шт.

3

A62139

NEG BATTERY CABLE

CABLE ASSY. - battery, positive (incl. ref. 4 & 5)

1шт.

4

117-108

SQUARE BOLT,5/18" - 16 x 1 3/8", Gr 5

- (5/16 x 1-3/8" N.C. sq. hd.) (plated)

2шт.

5

129-126

NUT,9/16"-18, G8

- (5/16" N.C. hex. shoulder) (plated)

2шт.

6

A62137

BOX

- battery

1шт.

7

A59173

CLAMP

- battery hold down

1шт.

8

11-5160

BOLT

- battery hold down

2шт.

9

G49020

NUT

- (5/16" N.C. wing)

2шт.

10

13-514

BOLT,Hex, 5/16" - 18 x 7/8", Gr 5

1шт.

11

92-5

LOCK WASHER,5/16"

1шт.

12

A60553

CAP

- battery, non-spill vent (used w/cab only)

12шт.

17

A58559

BATTERY

- 12 volt, (251B) spark ignition engine

1шт.

18

A59677

CABLE ASSY. - battery, negative (ground) (incl. ref. 20 & 21), (251B) spark ignition engine

1шт.

19

A62140

CABLE

ASSY. - battery, positive (incl. ref. 20 & 21), (251B) spark ignition engine

1шт.

20

117-108

SQUARE BOLT,5/18" - 16 x 1 3/8", Gr 5

- (5/16 x 1-3/8" N.C. sq. hd.) (plated), (251B) spark ignition engine

2шт.

21

129-516

NUT

- (5/16" N.C. hex. shoulder) (plated), (251B) spark ignition engine

2шт.

22

A62137

BOX

- battery, (251B) spark ignition engine

1шт.

23

A59173

CLAMP

- battery hold down, (251B) spark ignition engine

1шт.

24

11-5160

BOLT

- battery hold down, (251B) spark ignition engine

2шт.

25

G49020

NUT

- (5/16" N.C. wing), (251B) spark ignition engine

2шт.

26

13-514

BOLT,Hex, 5/16" - 18 x 7/8", Gr 5

(251B) Spark ignition engine Hex, 5/16"-18 x 7/8", G5, Full Thd

1шт.

27

92-5

LOCK WASHER,5/16"

(251B) spark ignition engine 5/16"

1шт.

28

A60553

CAP

- battery, non-spill vent (used w/cab only), (251B) spark ignition engine

6шт.

Выбрано товаров: 24