Запчасти Case IH 770 (134) - ADJUSTABLE STEERING COLUMN, USED PRIOR TO TRACTOR S/N 8693001 (05) - STEERING

Схема запчастей Case IH 770 - (134) - ADJUSTABLE STEERING COLUMN, USED PRIOR TO TRACTOR S/N 8693001 (05) - STEERING
10
30
25
39
56
22
37
40
31
1
51
36
5
33
20
18
4
48
47
56
19
35
11
24
16
9
23
21
6
53
49
46
38
17
34
7
3
52
50
8
32
15
2
55
41
54
FIT
1:1
100%

Артикул

Название

Примечание

Количество

1

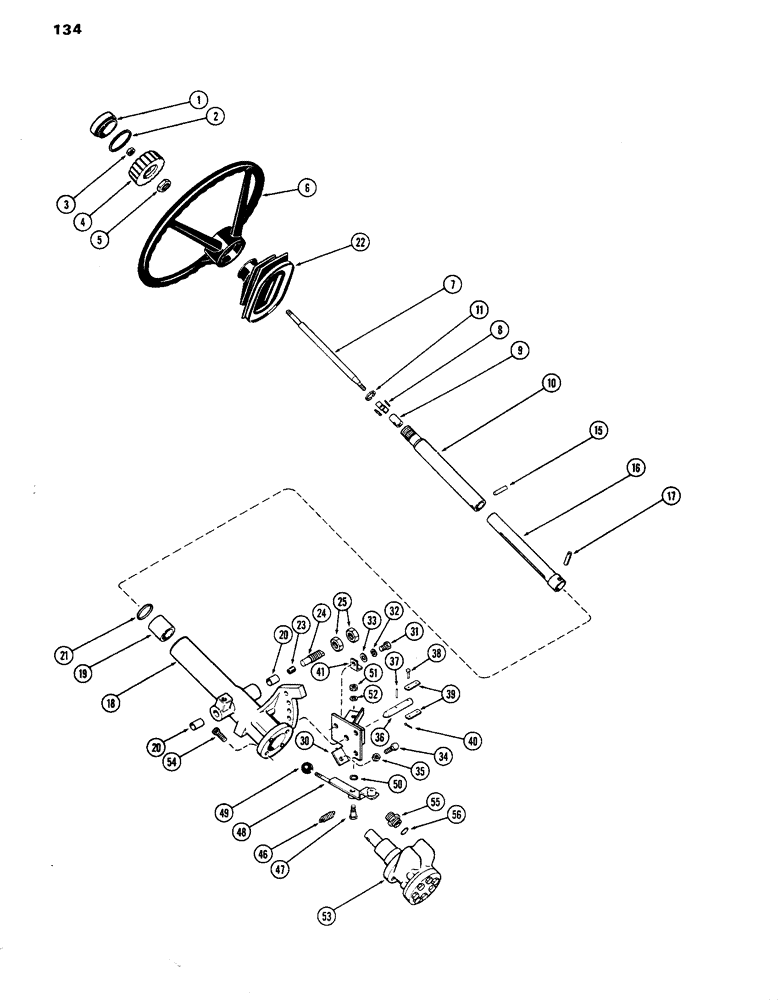
A62210

PLUG

CAP - steering wheel lock knob

1шт.

2

D26115

O-RING,0.139" Thk x 2.109" ID, -227, Cl 5, 75 Duro

RING - retaining, lock knob cap

1шт.

3

25-146

JAM NUT,Jam, 3/8"-16, G5

- lock knob to shaft (3/8" N.C. jam)

1шт.

4

A61293

KNOB

- lock, steering wheel

1шт.

5

A14567

JAM NUT

- steering wheel to shaft (13/16" N.F. thread)

1шт.

6

A65544

STEERING WHEEL

(Replaced A61007)

1шт.

7

A61292

SHAFT

- lock, telescoping

1шт.

8

A61212

WEDGE

- lock, telescoping

4шт.

9

A59819

NUT

COLLAR - lock wedge (5/16" N.C. tap)

1шт.

10

A59812

SHAFT - steering, outer

1шт.

11

A60896

RING, SNAP

SNAP RING - lock wedge retainer

1шт.

15

A59821

PIN

- lock, thru inner shaft & guides in outer shaft

1шт.

16

A62182

SHAFT - steering, inner

1шт.

17

138-173

LOCK PIN,3/8" x 1 3/8", Slotted

PIN, , Inner strg. shaft to hand pump 3/8" x 1 3/8", Slotted

1шт.

A61737

COLUMN ASSY. - steering (not illust.), Includes: Ref. 18 - 21

1шт.

18

NSS

NOT SOLD SEPARAT

COLUMN - steering (Order A61737)

1шт.

19

A59808

BEARING

- steering column

1шт.

20

A59809

BUSHING,12.8mm ID x 15.93mm OD x 25.4mm L

- steering column pivot stud

2шт.

21

A61736

WIPER SEAL

- wiper, steering column

1шт.

22

A61910

BOOT

- steering column

1шт.

23

A59842

BUMPER

SNUBBER - steering column pivot

2шт.

24

A59163

STUD

- pivot, steering column (5/8" N.C. thread)

2шт.

25

425-1410

JAM NUT,Jam, 5/8"-11, G5

- strg. column pivot stud (5/8" N.C. hex., jam)

4шт.

30

A59822

SUPPORT - tilt steering plunger

1шт.

31

13-510

BOLT,Hex, 5/16" - 18 x 5/8", Gr 5, Full Thd

Plunger support to firewall Hex, 5/16"-18 x 5/8", G5, Full Thd

3шт.

32

92-5

LOCK WASHER,5/16"

3шт.

33

95-5

WASHER,3/8" x 7/8" x .083"

- wrought (3/8 x 7/8 x 5/64")

1шт.

34

113-129

BOLT,Hex, 5/16" - 18 x 1-3/4", Gr 5, Full Thd

Strg. column stop Hex, 5/16"-18 x 1 3/4", G5, Full Thd

1шт.

35

25-145

JAM NUT,Jam, 5/16"-18, G5

- (5/16" N.C. hex., jam)

1шт.

36

A61739

PLUNGER

- tilt steering

1шт.

37

138-61

LOCK PIN,1/8" x 1", Slotted

PIN, , Tilt steering plunger stop 1/8" x 1", Slotted

1шт.

38

A59843

PIN - tilt steering plunger to lever link

2шт.

39

A59830

LINK - tilt steering, Serial Range: plunger-lever

2шт.

40

132-5

COTTER PIN,1/16" x 1/2"

Pin, Split (Cotter), 1/16" x 1/2"

2шт.

41

A59835

CLIP - tilt strg. plunger tension spring

1шт.

46

A30707

SPRING

- tension, tilt strg. plunger (2-3/16" free length)

1шт.

47

A59831

BOLT - pivot, tilt strg. lever (5/16" N.C. thread)

1шт.

48

A60719

LEVER - tilt steering

1шт.

49

A61683

BUTTON

KNOB - tilt steering lever

1шт.

50

A59832

WASHER - spring (7/16 x 5/8 x 3/64")

1шт.

51

25-145

JAM NUT,Jam, 5/16"-18, G5

- pivot bolt (5/16" N.C. hex., jam)

1шт.

52

92-5

LOCK WASHER,5/16"

pivot bolt 5/16"

1шт.

53

A620202

PUMP ASSY. - hand, steering (See Fig. 146)

1шт.

54

166-26

12 PT SCREW,Flg, 5/16" - 18 x 1", Gr 8

SCREW - cap, hand pump to strg. column (5/16 x 1" N.C.)

4шт.

55

218-5059

HYD CONNECTOR,3/4"-16, 37 Degree x 3/4"-16, O-Ring

CONNECTOR Assy - (1/2" tube O.D. x 3/4" - 16 thread), Incl. Ref 56

2шт.

56

218-5006

O-RING,0.087" Thk x 0.644" ID, -908, Cl 6, 90 Duro

"O" RING - (1/2 x 21/32 x 3/32")

1шт.

Выбрано товаров: 46