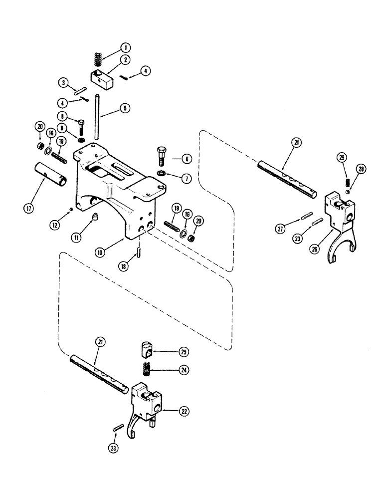
Запчасти Case IH 870 (160) - RANGE SHIFT MECHANISM, RAILS AND FORKS, POWER SHIFT (06) - POWER TRAIN

Схема запчастей Case IH 870 - (160) - RANGE SHIFT MECHANISM, RAILS AND FORKS, POWER SHIFT (06) - POWER TRAIN
16
9
21
18
5
24
19
11
7
23
1
3
22
29
6
4
21
25
20
26
28
8
4
18
19
20
17
10
27
23
12
2
FIT
1:1
100%

Артикул

Название

Примечание

Количество

1

A61705

SPRING

- neutral switch (1-35/64" free length) (21/32" O.D.) (Replaces A60837)

1шт.

2

A60836

LEVER

- neutral switch

1шт.

3

A61030

PIN

- pivot, neutral switch

1шт.

4

132-3

COTTER PIN,1/16" x 3/8"

Pin, Split (Cotter), , Lever to cover 1/16" x 3/8"

2шт.

5

A60713

ROD

- neutral switch

1шт.

6

A32042

STEP BOLT

BOLT - dowel, shifter bracket to trans. case (1-15/16 x 7/16" N.C.)

1шт.

7

193-12

LOCK WASHER,Ext Tooth, 0.52" ID x 0.89" OD, STL, PLN

WASHER, LOCK, Ext Tooth, 1/2"

1шт.

8

13-620

BOLT,Hex, 3/8" - 16 x 1-1/4", Gr 5, Full Thd

- Shifter bracket to trans. hsg., (3/8 x 1-1/2" N.C.)

2шт.

9

193-10

LOCK WASHER,Ext Tooth, 0.391" ID x 0.682" OD, STL, PLN

WASHER, LOCK, Ext Tooth, 3/8"

2шт.

10

A61187

BRACKET

ASSY. - range shift control (Replaces A60716) (includes ref. 11 - 12)

1шт.

11

A60714

PIN

- ball return

1шт.

12

211-28

BALL,13/32" Dia

- (., chrome steel, gr. 3) 13/32" Dia

1шт.

16

193-30

LOCK WASHER,Int Tooth, 3/8"

WASHER, LOCK, Int Tooth, 3/8"

4шт.

17

A59118

TUBE

- range shift interlock

2шт.

18

138-2048

PIN,5/16" x 5/8", Coiled

range shafts to bracket 5/16" x 5/8", Coiled

2шт.

19

83-628

SET SCREW,Hex Soc, 3/8"-16 x 1 3/4"

SCREW - set (3/8 x 1-3/4" N.C., hdless. hex sckt. hd.)

2шт.

19

83-632

SET SCREW,Hex Soc, 3/8"-16 x 2"

SCREW - set, rear face of bracket (3/8 x 2" N.C. hex socket, headless)

2шт.

20

25-146

JAM NUT,Jam, 3/8"-16, G5

- hex (3/8" N.C. jam)

4шт.

21

A61031

SHAFT

RAIL - range shift

2шт.

22

A59108

FORK

- range shift (2nd & 4th)

1шт.

23

138-98

LOCK PIN,3/16" x 1 1/4", Slotted

PIN, , Holds spring in forks 3/16" x 1 1/4", Slotted

4шт.

24

A58492

SPRING

- range shift fork detnet lock (1-1/4" free length)

2шт.

25

A58491

CLIP

LOCK - detent, range shift fork

2шт.

26

A59107

FORK

- range shift (1st & 3rd)

1шт.

27

138-2002

PIN,3/16" x 1 1/4", Coiled

Holds spring in forks 3/16" x 1 1/4", Coiled

2шт.

28

211-14

BALL,9/16" Dia

- detent (., gr. 3, steel) 9/16" Dia

2шт.

29

A59588

SPRING

- range shift fork detent ball (11/16" free length)

2шт.

Выбрано товаров: 27