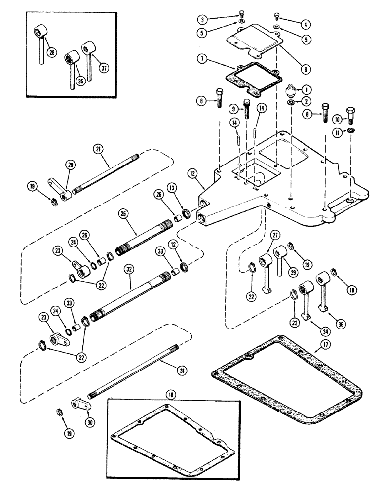
Запчасти Case IH 870 (162) - GEAR SHIFT MECHANISM, COVERS AND SHAFTS, MECHANICAL SHIFT (06) - POWER TRAIN

Схема запчастей Case IH 870 - (162) - GEAR SHIFT MECHANISM, COVERS AND SHAFTS, MECHANICAL SHIFT (06) - POWER TRAIN
25
5
26
20
7
17
37
12
5
33
10
34
4
21
11
18
35
22
33
22
27
2
29
13
19
23
30
14
22
9
12
32
6
8
8
14
24
26
22
3
36
24
28
19
1
19
23
31
19
FIT
1:1
100%

Артикул

Название

Примечание

Количество

1

A20990

SWITCH

- safety, neutral start

1шт.

2

G49402

SHIM,.010" Thk

Neutral start switch (19/32 x 1 x 1/100") .010" Thk

1шт.

3

113-217

PREV TORQUE BOLT,Locking, 3/8"-16 x 1", G5, Full Thd

BOLT, , Shift lever cover to top cover Locking, 3/8"-16 x 1", G5, Full Thd

1шт.

4

13-610

BOLT,Hex, 3/8" - 16 x 5/8", Gr 5, Full Thd

Shift lever cover to top cover Hex, 3/8"-16 x 5/8", G5, Full Thd

3шт.

5

95-6

WASHER,3/8"

- wrought (7/16 x 1 x 5/64")

4шт.

6

A59114

COVER

- gear shift lever

1шт.

7

A59115

GASKET

- cover, gear shift lever

1шт.

8

13-840

BOLT,Hex, 1/2" - 13 x 2-1/2", Gr 5

- hex hd. (1/2 x 2-1/2" N.C.)

9шт.

9

166-91

12 PT SCREW,Flg, 1/2" - 13 x 2 1/2, Gr 8

BOLT - Ferry cap (1/2 x 2-1/2" N.C.)

1шт.

10

A32042

STEP BOLT

BOLT - dowel (7/16 x 1-21/32" N.C. hex)

1шт.

11

193-12

LOCK WASHER,Ext Tooth, 0.52" ID x 0.89" OD, STL, PLN

WASHER, LOCK, Ext Tooth, 1/2"

1шт.

12

A59031

COVER ASSY. - trans. front top w/seals (includes ref. 13)

1шт.

13

A28211

OIL SEAL

- oil, external gear shift lever shaft

2шт.

14

A58950

PIN

- dowel, external gear shift lever shaft (3/8 x 1-3/8")

2шт.

17

A62114

GASKET,0.79mm Thk

- trans. top front cover to trans. hsg. (1st used trans. ser. no. 2356148)

1шт.

18

A58941

GASKET

- trans. top front cover (Used prior to trans. ser. no. 2356148) (Order A62114)

1шт.

19

A59594

RING

SNAP RING - retaining, internal shift shaft

4шт.

20

A59666

LEVER

- range shift

1шт.

21

A59592

SHAFT

- control lever, internal range shift

1шт.

22

B18208

SNAP RING,#100, Ext

gear shift shaft #100, Ext

6шт.

23

A60369

LEVER

- reverse and (1st-2nd) gear shift

2шт.

24

A58949

O-RING,0.614" ID x 0.754" OD

"O" RING - internal gear shift lever shaft (5/8 x 3/4 x 1/16")

6шт.

25

A59032

SHAFT

ASSY. - external reverse shift lever (includes ref. 26)

1шт.

26

A57709

BUSHING

- external gear shift lever shaft

2шт.

27

A61278

LEVER

- shift, reverse (1st used trans. ser. no. 2358770)

1шт.

28

A58951

CAMSHAFT

LEVER - shift, reverse (Used prior to trans. ser. no. 2358770)

1шт.

29

A59590

LEVER

- shift, range

1шт.

30

A60363

LEVER

- gear shift (3rd & 4th)

1шт.

31

A59591

SHAFT

- control lever, internal gear shift

1шт.

32

A58245

SHAFT

ASSY. - external gear shift lever (includes ref. 33)

1шт.

33

A57709

BUSHING

- external gear shift lever shaft

2шт.

34

A61281

LEVER

- gear shift (1st & 2nd) (1st used trans. ser. no. 2358770)

1шт.

35

A58956

LEVER

- gear shift (1st & 2nd) (Used prior to trans. ser. no. 2358770)

1шт.

36

A61280

LEVER

- gear shift (3rd & 4th) (1st used trans. ser. no. 2358770)

1шт.

37

A59595

LEVER

- gear shift (3rd & 4th) (Used prior to trans. ser. no. 2358770)

1шт.

Выбрано товаров: 35