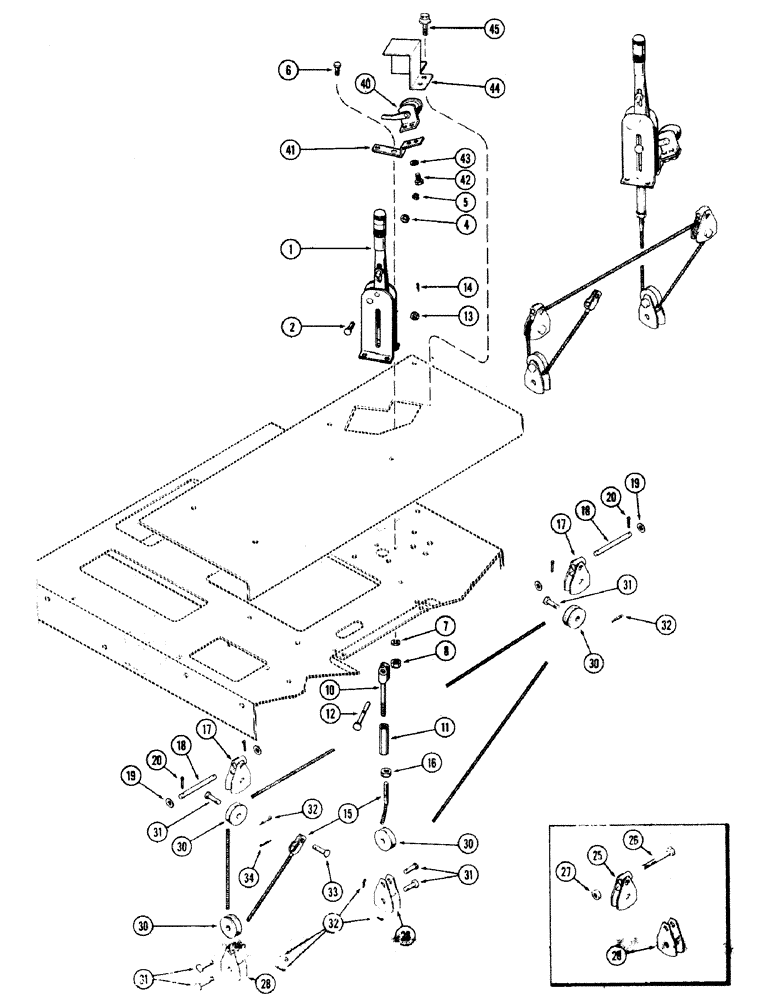
Запчасти Case IH 870 (183A) - PARKING BRAKE (06) - POWER TRAIN

Схема запчастей Case IH 870 - (183A) - PARKING BRAKE (06) - POWER TRAIN
19
30
17
32
25
19
6
7
17
5
16
10
30
27
20
18
18
2
20
15
8
40
1
32
28
31
42
31
32
12
26
13
34
31
41
30
14
44
28
33
43
31
45
30
11
4
FIT
1:1
100%

Артикул

Название

Примечание

Количество

1

A59410

LEVER

ASSY. - hand brake (includes ref. 2, 4 & 5)

1шт.

2

A42204

PIN

- hand brake lever

1шт.

D47261

WASHER

- (21/64 x 39/64 x 1/100") (Conical Spring) (Not illust.)

1шт.

4

195-521

WASHER,5/16", SAE

- (11/32 x 11/16" x 16 ga.)

1шт.

5

C14652

RING

- hand brake lever pin retaining

1шт.

6

13-616

BOLT,Hex, 3/8" - 16 x 1", Gr 5, Full Thd

3шт.

7

92-6

LOCK WASHER,3/8"

3шт.

8

25-106

NUT,3/8"-16, G5

- 3/8" N.C. hex

3шт.

10

A59411

ROD

END - rod

1шт.

11

A59412

TURNBUCKLE

1шт.

12

A59153

CLEVIS PIN

PIN - clevis, brake lever

1шт.

13

195-21

WASHER,5/16"

- 5/16 x 7/8 x 1/16"

2шт.

14

132-26

COTTER PIN

PIN, split (Cotter), 3/32" x 3/4"

1шт.

15

A59420

CABLE

- parking brake

1шт.

16

25-145

JAM NUT,Jam, 5/16"-18, G5

- 5/16" N.C. jam

1шт.

17

A62258

SUPPORT

- pulley, parking brake

2шт.

18

A62262

PIN

- pulley support

2шт.

19

195-21

WASHER,5/16"

- 5/16 x 7/8 x 1/16"

4шт.

20

132-26

COTTER PIN

PIN, split (Cotter), 3/32" x 3/4"

4шт.

25

A61881

SUPPORT

ASSY. - pulley, upper (Replaces A60534) (Order 1-A62258, 1-A62262, 2-195-21 & 2-132-26)

2шт.

26

13-556

BOLT,Hex, 5/16" - 18 x 3-1/2", Gr 5

- hex, 5/16"-18 NC x 3-1/2"

2шт.

27

131-173

NUT,5/16"-18, GA

- 5/16" N.C. lock

2шт.

28

A62260

SUPPORT

ASSY. - pulley lower

2шт.

29

A61882

SUPPORT

ASSY. - pulley (Replaces A60540) (Order A62260)

2шт.

30

A59416

SHEAVE

PULLEY - parking brake cable

4шт.

31

A59419

PIN,7.9mm OD x 30.96mm L

- clevis, parking brake pulley & cable

6шт.

32

132-26

COTTER PIN

PIN, split (Cotter), 3/32" x 3/4"

6шт.

33

141-1

CLEVIS PIN,3/16" x .580"

PIN - clevis, 3/16 x 37/64"

1шт.

34

132-5

COTTER PIN,1/16" x 1/2"

Pin, Split (Cotter), 1/16" x 1/2"

1шт.

40

A33977

SWITCH

- brake light

1шт.

41

A60542

BRACKET - brake light switch

1шт.

42

174-95

SCREW,Sl Rd Hd, #10 - 32 x 3/8"

- #10 x 3/8" N.F. rd. hd. mach.

2шт.

43

193-26

LOCK WASHER,Int Tooth, #10

WASHER, LOCK, Int Tooth, #10

2шт.

44

A59421

COVER

- parking brake light switch

1шт.

45

187-1053

SELF-TAP SCREW,Truss Hd, #10 x 1/2"

SCREW - (#10 x 1/2" truss hd., self-tapping)

4шт.

Выбрано товаров: 35