Запчасти Case IH 870 (212) - REAR WHEEL WEIGHTS (06) - POWER TRAIN

Схема запчастей Case IH 870 - (212) - REAR WHEEL WEIGHTS (06) - POWER TRAIN
9
27
4
5
2
15
12
22
23
11
25
18
1
16
17
3
26
10
8
24
19
FIT
1:1
100%

Артикул

Название

Примечание

Количество

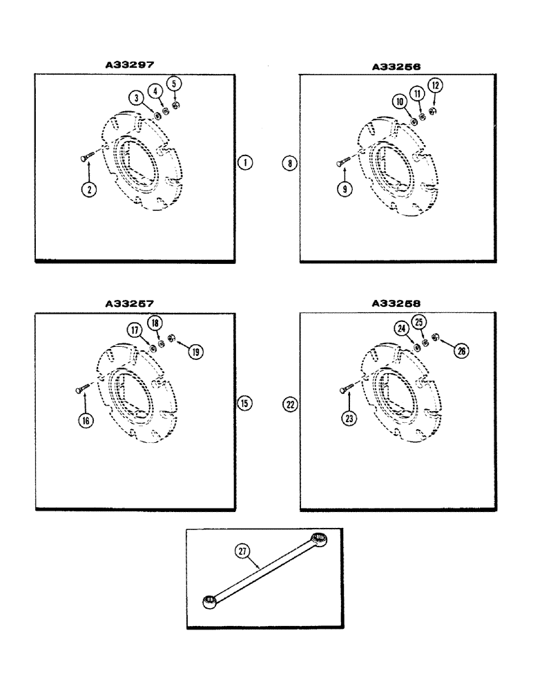
1

A33297M

WEIGHT SET - (For 30" wheels) (Set of 2) (Mach. item) (Use as 1st & additional weights) (140 lbs. ea.) (includes ref. 2 - 5)

1шт.

2

11-1056

BOLT - (5/8 x 3-1/2" N.C. carr.) (UAR) Short NK, 5/8"-11 x 3 1/2", G2

8шт.

2

9602207

CARRIAGE BOLT,Sq Nk, 5/8" - 11 x 4 1/2", Gr 5

BOLT - (5/8 x 4-1/2" N.C. carr.) (UAR)

8шт.

2

433-1096

CARRIAGE BOLT,Sq Nk, 5/8" - 11 x 6", Gr 5

BOLT - (5/8 x 6" N.C. carr.) (UAR)

8шт.

3

95-10

WASHER,5/8"

- (11/16 x 1-3/4 x 9/64")

8шт.

4

92-10

LOCK WASHER,5/8"

WASHER, LOCK, 5/8"

8шт.

5

25-1010

NUT,5/8"-11, G5

8шт.

8

A33256M

WEIGHT SET - (For 34" wheels) (Set of 2) (Mach. item) (140 lbs. ea.) (includes ref. 9 - 12)

1шт.

9

11-1056

BOLT - (5/8 x 3-1/2" N.C. carr.) (UAR) Short NK, 5/8"-11 x 3 1/2", G2

8шт.

9

9602207

CARRIAGE BOLT,Sq Nk, 5/8" - 11 x 4 1/2", Gr 5

BOLT - (5/8 x 4-1/2" N.C. carr.) (UAR)

8шт.

9

11-1088

BOLT (MACHINE)

BOLT - (5/8 x 5-1/2" N.C. carr.) (UAR)

8шт.

10

95-10

WASHER,5/8"

- (11/16 x 1-3/4 x 9/64")

8шт.

11

92-10

LOCK WASHER,5/8"

WASHER, LOCK, 5/8"

8шт.

12

25-1010

NUT,5/8"-11, G5

8шт.

15

A33257M

WEIGHT SET - (For 38" wheels) (Set of 2) (Mach. item) (140 lbs. ea.) (includes ref. 16 - 19)

1шт.

16

411-1064

CARRIAGE BOLT,Sq Nk, 5/8" - 11 x 4", Gr 2

BOLT - (5/8 x 4" N.C. carr.) (UAR)

8шт.

16

11-1080

BOLT - (5/8 x 5" N.C. carr.) (UAR)

8шт.

16

11-1088

BOLT (MACHINE)

BOLT - (5/8 x 5-1/2" N.C. carr.) (UAR)

8шт.

17

95-10

WASHER,5/8"

- (11/16 x 1-3/4 x 9/64")

8шт.

18

92-10

LOCK WASHER,5/8"

WASHER, LOCK, 5/8"

8шт.

19

25-1010

NUT,5/8"-11, G5

8шт.

22

A33258M

WEIGHT SET - additional (Set of 2) (Mach. item) (140 lbs. ea.) (For 34" & 38" wheels) (includes ref. 23 - 26)

1шт.

23

411-1064

CARRIAGE BOLT,Sq Nk, 5/8" - 11 x 4", Gr 2

BOLT - (5/8 x 4" N.C. carr.)

8шт.

24

95-10

WASHER,5/8"

- (11/16 x 1-3/4 x 9/64")

8шт.

25

92-10

LOCK WASHER,5/8"

WASHER, LOCK, 5/8"

8шт.

26

25-1010

NUT,5/8"-11, G5

8шт.

27

A8696

WRENCH - socket, wheel cap bolt

1шт.

Выбрано товаров: 27