Запчасти Case IH 870 (324) - AIR CONDITIONER (09) - CHASSIS/ATTACHMENTS

Схема запчастей Case IH 870 - (324) - AIR CONDITIONER (09) - CHASSIS/ATTACHMENTS
10
51
1
36
46
19
48
39
49
60
54
57
43
9
9
5
20
17
41
53
2
18
40
13
17
21
12
8
42
5
15
60
11
4
16
60
18
43
42
40
56
8
3
55
60
45
4
35
22
7
47
52
50
44
FIT
1:1
100%

Артикул

Название

Примечание

Количество

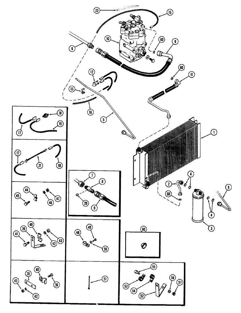
1

A61687

COIL

- condenser

1шт.

2

A61690

TUBE

-, Serial Range: condenser-receiver

1шт.

3

A61688

TANK

RECEIVER - drier

1шт.

4

A61198

O-RING,0.07" Thk x 0.301" ID, -11

"O" RING - receiver, 5/16 x 7/16 x 1/16"

2шт.

5

A61692

TUBE

-, Serial Range: receiver-cab

1шт.

6

A62226

TUBE

- cab to compressor, w/union (See page 308) (1st used trac. ser. no. 8665014)

1шт.

7

A61206

TUBE

- cab to compressor, w/out union (See page 308) (Used prior to trac. ser. no. 8665014)

1шт.

8

A61189

UNION - compressor tube to hose (Used w/A61206 tube) (Used prior to trac. ser. no. 8665014)

1шт.

9

A61207

HOSE

-, Serial Range: cab-compressor

1шт.

10

NSS

NOT SOLD SEPARAT

COMPRESSOR - air conditioning (See Figures 325A & 325E)

1шт.

11

A61208

HOSE ASSY.

HOSE -, Serial Range: compressor-condenser

1шт.

12

A61291

THERMOSTAT

- high temperature

1шт.

13

A61789

CLAMP

- thermostat (Replaces A61191)

1шт.

15

A61755

ELECTRICAL WIRE

WIRE - thermostat to compressor clutch

1шт.

16

A42931

ELECTRICAL WIRE

WIRE - thermostat to cab harness (197" long)

1шт.

17

NSS

NOT SOLD SEPARAT

WIRE - cab to lo-pressure thermostat

1шт.

18

NSS

NOT SOLD SEPARAT

SWITCH - low pressure

1шт.

19

A61756

WIRE - thermostat to lo-pressure thermostat

1шт.

20

NSS

NOT SOLD SEPARAT

PLUG - union

1шт.

21

NSS

NOT SOLD SEPARAT

WIRE - jumper

1шт.

22

A62053

HARNESS

LOOM - wire

1шт.

35

A62254

BRACKET

- air conditioner tube mtg.

1шт.

36

13-48

BOLT,Hex, 1/4" - 20 x 1/2", Gr 5

1шт.

39

A61200

BRACKET - air conditioner tube mtg.

1шт.

40

A61704

CLAMP - air conditioner tubes

2шт.

41

13-414

BOLT,Hex, 1/4" - 20 x 7/8", Gr 5, Full Thd

2шт.

42

92-4

LOCK WASHER,1/4"

WASHER, LOCK, 1/4"

2шт.

43

25-104

NUT,1/4"-20, G5

2шт.

44

A61199

CLIP

- tube

1шт.

45

13-48

BOLT,Hex, 1/4" - 20 x 1/2", Gr 5

1шт.

46

92-4

LOCK WASHER,1/4"

WASHER, LOCK, 1/4"

1шт.

47

25-104

NUT,1/4"-20, G5

1шт.

47

25-104

NUT,1/4"-20, G5

1шт.

48

A7922

CLIP

- clutch lead wire

1шт.

49

13-612

BOLT,Hex, 3/8" - 16 x 3/4", Gr 5, Full Thd

1шт.

50

92-6

LOCK WASHER,3/8"

1шт.

51

L11541

CABLE TIE,203.2mm L, Nylon

CLIP -, Serial Range: wires-tubes

2шт.

52

A62206

BRACKET - air cond. tubes

1шт.

53

49885

CLAMP

CLIP - tube, 5/8"

1шт.

54

49845

CLAMP

CLIP - tube, 3/8"

1шт.

55

13-614

BOLT,Hex, 3/8" - 16 x 7/8", Gr 5, Full Thd

1шт.

56

92-6

LOCK WASHER,3/8"

1шт.

57

25-106

NUT,3/8"-16, G5

- 3/8" N.C. hex

1шт.

60

222-993

GASKET,3/8 Tube, Fl, Copper

1шт.

60

222-994

GASKET,1/2 Tube, Fl, Copper

- flare, copper (For 1/2" tube) 45 degrees

1шт.

60

222-995

SEALING WASHER,15.88mm ID

- flare, copper (For 5/8" tube) 45 degrees

1шт.

Выбрано товаров: 46