Запчасти Case IH 870 (050) - OIL FILTER, (301B) SPARK IGNITION ENGINE (02) - ENGINE

Схема запчастей Case IH 870 - (050) - OIL FILTER, (301B) SPARK IGNITION ENGINE (02) - ENGINE
4
8
6
22
20
14
21
19
17
2
15
3
5
18
23
9
1
16
10
7
13
FIT
1:1
100%

Артикул

Название

Примечание

Количество

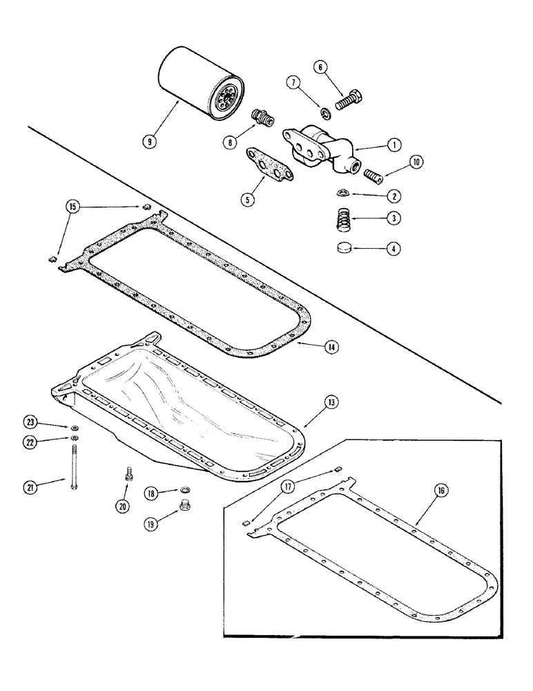
1

A58752

BASE

ASSY. - oil filter (includes ref. 2, 3 & 4)

1шт.

2

A58754

VALVE

- relief, filter

1шт.

3

A58755

FILTER

SPRING - relief valve

1шт.

4

41-1016

PLUG,Cup, 1"

- relief valve, 1" cup type

1шт.

5

A58756

OIL PAN GASKET SET

- filter, Serial Range: base-block

1шт.

6

13-828

BOLT,Hex, 1/2" - 13 x 1-3/4", Gr 5

- 1/2 x 1-3/4" N.C. hex

2шт.

7

92-8

LOCK WASHER,1/2"

2шт.

8

A58757

ADAPTER

-, Serial Range: element-base

1шт.

9

A58758

FILTER, ELEMENT

ELEMENT - filter, oil

1шт.

10

221-23

PLUG

- 1-3/8" sq. sckt. hd. pipe

1шт.

13

A58730

PAN

- oil

1шт.

14

NSS

NOT SOLD SEPARAT

GASKET - oil pan (Order A43005 page 52) (1st used eng. ser. no. 2322601)

1шт.

15

A62402

GASKET

- oil pan corners (1st used eng. ser. no. 2322601)

2шт.

16

NSS

NOT SOLD SEPARAT

GASKET - oil pan (Order A41836 page 53A) (Used prior to eng. ser. no. 2322601)

1шт.

17

A33017

OIL PAN GASKET SET

- oil pan corners (Used prior to eng. ser. no. 2322601)

1шт.

18

A58608

GASKET

- oil pan drain plug

1шт.

19

A14280

PLUG

- oil pan drain

1шт.

20

193-527

WASHER,Hex, 3/8" - 16 x 1 1/4"

BOLT - 3/8 x 1-1/4" N.C. Sems, oil pan

20шт.

21

A57436

BOLT

- 3/8 x 5-3/4" N.C. hex, spec., oil pan

2шт.

22

A22317

WASHER

- copper, 25/64 x 11/16 x 18 ga., oil pan

2шт.

23

A7085

WASHER

- copper, 25/64 x 9/16 x 18 ga., oil pan

2шт.

Выбрано товаров: 21