Запчасти Case IH 870 (014) - OIL COOLER, (336B) DIESEL AND (301B) SPARK IGNITION ENGINES (02) - ENGINE

Схема запчастей Case IH 870 - (014) - OIL COOLER, (336B) DIESEL AND (301B) SPARK IGNITION ENGINES (02) - ENGINE
1
8
11
5
16
2
17
14
15
3
19
13
18
12
10
4
17
9
16
15
8
FIT
1:1
100%

Артикул

Название

Примечание

Количество

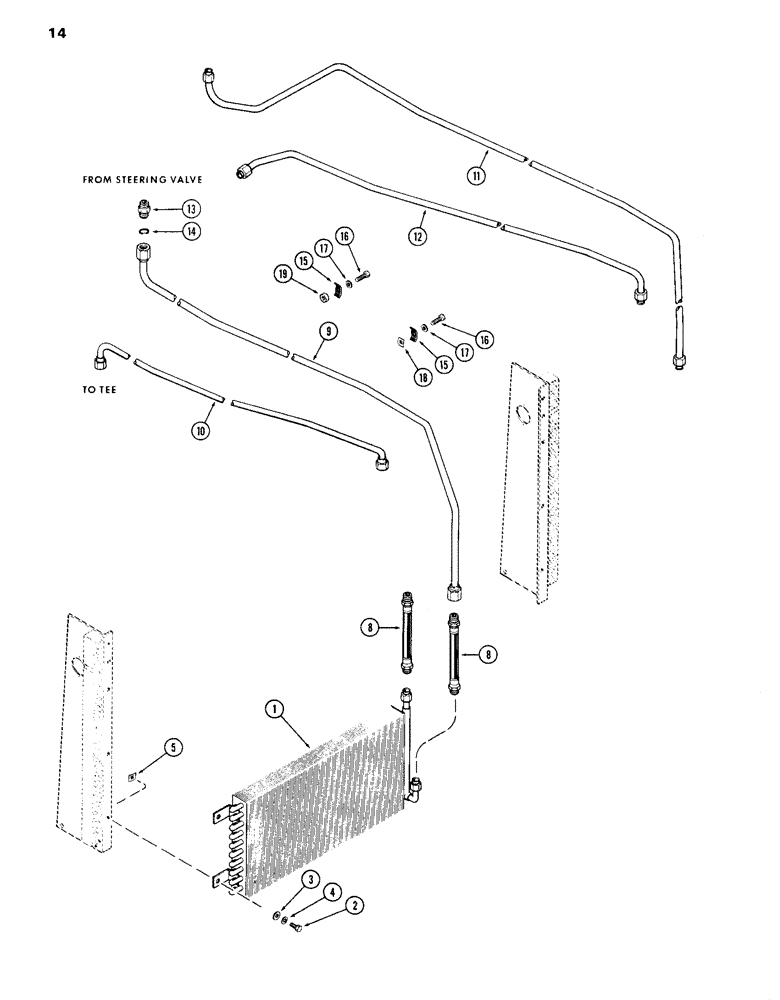
1

A60398

COOLER

- oil

1шт.

2

13-412

BOLT,Hex, 1/4" - 20 x 3/4", Gr 5, Full Thd

4шт.

3

95-4

WASHER,1/4"

- plain, 5/16 x 3/4 x 1/16"

4шт.

4

92-4

LOCK WASHER,1/4"

WASHER, LOCK, 1/4"

4шт.

5

131-611

NUT,Ret, 1/4"-20

- 1/4" Tinnerman

4шт.

8

A60399

HOSE

-, Serial Range: tube-cooler

2шт.

9

A64519

TUBE - oil cooler, upper (1st used trac. ser. no. 8693001)

1шт.

10

A64520

TUBE - oil cooler, upper (1st used trac. ser. no. 8693001)

1шт.

11

A60400

TUBE - oil cooler, upper (used prior to trac. ser. no. 8693001)

1шт.

12

A60401

TUBE - oil cooler, lower (used prior to trac. ser. no. 8693001)

1шт.

13

218-5059

HYD CONNECTOR,3/4"-16, 37 Degree x 3/4"-16, O-Ring

CONNECTOR Assy - 1/2" tube, 3/4" P.T. (Incl. Ref 14)

2шт.

14

218-5006

O-RING,0.087" Thk x 0.644" ID, -908, Cl 6, 90 Duro

"O" RING - 1/2 x 21/32 x 3/32

1шт.

15

A60404

CLIP

- tube mounting

2шт.

16

13-420

BOLT,Hex, 1/4" - 20 x 1-1/4", Gr 5

2шт.

17

195-18

WASHER,1/4"

- plain, 9/32 x 5/8 x 1/16"

2шт.

18

131-611

NUT,Ret, 1/4"-20

- 1/4" Tinnerman

1шт.

19

25-104

NUT,1/4"-20, G5

1шт.

14

218-5006

O-RING,0.087" Thk x 0.644" ID, -908, Cl 6, 90 Duro

"O" RING - 1/2 x 21/32 x 3/32"

1шт.

Выбрано товаров: 18