Запчасти Case IH 870 (259A) - DRAFT CONTROLS (08) - HYDRAULICS

Схема запчастей Case IH 870 - (259A) - DRAFT CONTROLS (08) - HYDRAULICS
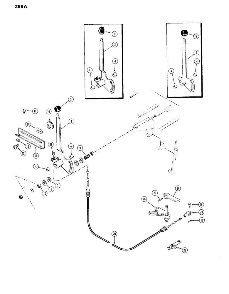
8
4
4
23
3
5
28
12
15
4
20
5
7
16
26
10
4
25
27
2
4
13
6
1
9
24
22
11
21
4
14
FIT
1:1
100%

Артикул

Название

Примечание

Количество

1

A137820

LEVER

ASSY. - hand, D.O.M. (Replaces A63033) (includes ref. 4)

1шт.

2

A63033

LEVER

ASSY. - D.O.M. control (1st used trac. SN8693001) (includes ref. 4)

1шт.

3

A61070

LEVER ASSY. - D.O.M. control (Used prior to trac. SN8693001) (includes ref. 4)

1шт.

4

A59429

BUSHING,15.95mm ID x 19.13mm OD x 12.83mm L

- D.O.M. hand lever

2шт.

5

A137806

KNOB

- lever (rubber)

1шт.

6

A65699

KNOB

- lever (plastic)

1шт.

7

A61069

DISC

- friction, D.O.M. hand lever

2шт.

8

195-2172

WASHER,7/16" x 1 1/4" x .083"

- (7/16 x 1-1/4 x 14 ga.)

2шт.

9

A65583

SPRING

- D.O.M. hand lever (Replaces A26546)

1шт.

10

131-1306

JAM NUT,Jam, 3/8"-16

NUT - 3/8" N.C. hex, jam

2шт.

11

A59273

BRACKET

QUADRANT - hand lever (D.O.M.)

1шт.

12

113-102

BOLT,Hex, 5/16" - 18 x 3/4", Gr 5

Hex, 5/16"-18 x 3/4", G5, Full Thd

2шт.

13

131-113

SPRING NUT,J, Ret, 5/16"-18

- 5/16" N.C. hex

2шт.

14

G15950

STOP

- quadrant, D.O.M. hand lever

1шт.

15

111-317

CARRIAGE BOLT,Short NK, 3/8"-16 x 1", G2

BOLT, CARRIAGE, Short NK, 3/8"-16 x 1", G2

2шт.

16

G15951

NUT

- knurled, D.O.M. hand lever quadrant stop

2шт.

20

A59522

CABLE

- D.O.M. control

1шт.

21

193-1000

NUT,Keps, w/LW,#10-32

- #10 N.F. hex keps., w/ext. skpf. washer

1шт.

22

A61037

BRACKET

- D.O.M. cable, lower

1шт.

23

213-1

ADJUSTABLE CLEVIS,#10-32

YOKE - cable to lower lever (3/16")

1шт.

24

A59521

LEVER

- D.O.M., lower

1шт.

25

141-1

CLEVIS PIN,3/16" x .580"

PIN - clevis, 3/16"

1шт.

26

132-7

COTTER PIN,1/16" x 3/4"

Pin, Split (Cotter), 1/16" x 3/4"

1шт.

27

138-2028

PIN,3/16" x 1 1/4", Coiled

1шт.

28

A32310

LINK

- draft control (Link "C")

1шт.

Выбрано товаров: 25