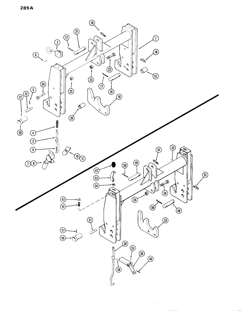
Запчасти Case IH 870 (289A) - QUICK HITCH COUPLER, CATEGORY II (09) - CHASSIS/ATTACHMENTS

Схема запчастей Case IH 870 - (289A) - QUICK HITCH COUPLER, CATEGORY II (09) - CHASSIS/ATTACHMENTS
50
33
37
42
5
19
16
23
49
4
20
47
9
6
21
55
11
41
25
17
34
26
1
54
2
51
39
53
18
12
17
24
38
8
3
56
27
48
36
22
51
35
57
18
15
7
10
32
40
50
FIT
1:1
100%

Артикул

Название

Примечание

Количество

A65708

COUPLER ASSY. - quick hitch (Mach. Item) (Repl. A62872) (includes ref. 1 - 25)

1шт.

1

NSS

NOT SOLD SEPARAT

FRAME - coupler

1шт.

2

A44472

HANDLE

- hitch release

2шт.

3

A44467

ROD

- handle to tripping devices

2шт.

4

A44476

VALVE SPRING

SPRING - release rod

2шт.

5

138-94

LOCK PIN,3/16" x 7/8", Slotted

PIN - roll, 3/16 x 1-1/4"

2шт.

6

138-2028

PIN,3/16" x 1 1/4", Coiled

2шт.

7

A44468

LEVER

- lower lock (R.H.)

1шт.

8

A44469

LEVER

- lower lock (L.H.)

1шт.

9

132-93

COTTER PIN,3/16" x 1 1/4"

Pin, Split (Cotter), 3/16" x 1 1/4"

2шт.

10

A44470

LEVER

- lower trip ratchet (R.H.)

1шт.

11

A44471

LEVER

- lower trip ratchet (L.H.)

1шт.

12

A44473

PIN

- trip ratchet lever pin

2шт.

15

A43542

SLEEVE

- lower draft arm pin

2шт.

16

A43540

AXLE PIN

PIN - draft arm, lower

2шт.

17

132-202

COTTER PIN,3/8" x 2 1/2"

Pin, Split (Cotter), 3/8" x 2 1/2"

3шт.

18

T50113

PIN

- clinch, draft arm pin

3шт.

19

A44475

LUG

- upper hitch

1шт.

20

A44474

SLEEVE

- upper draft arm pin

1шт.

21

A43541

PIN

- draft arm, upper

1шт.

22

113-716

BOLT,Hex, 3/4" - 10 x 3", Gr 5

2шт.

23

129-108

NUT,3/4"-10, G5

2шт.

24

13-856

BOLT,Hex, 1/2" - 13 x 3-1/2", Gr 5

2шт.

25

129-105

NUT,Hex, 1/2" - 13, Gr 5

2шт.

26

T32995

ADAPTER

- coupler (for Cat. II implements) (1-1/8" I.D.)

2шт.

27

138-188

LOCK PIN,7/16" x 1 1/2", Slotted

PIN, 7/16" x 1-1/2", slotted

2шт.

A62872

COUPLER ASSY. - quick hitch (Mach. Item) (Order A65708) (includes ref. 32 - 42 and 47 - 55)

1шт.

32

NSS

NOT SOLD SEPARAT

FRAME - coupler

1шт.

33

A43543

LUG - upper link attachment

1шт.

34

113-716

BOLT,Hex, 3/4" - 10 x 3", Gr 5

2шт.

35

129-108

NUT,3/4"-10, G5

2шт.

36

A43537

LEVER - trip, latch lug

2шт.

37

A43539

PIN - lever pivot

2шт.

38

A43538

ROD ASSY. - lock, trip lever (includes ref. 39)

2шт.

39

138-92

LOCK PIN,3/16" x 3/4", Slotted

PIN, 3/16" x 3/4", Slotted

2шт.

40

132-312

COTTER PIN,3/16" x 1 1/4"

PIN, SPLIT (COTTER), 3/16" x 1 1/4"

2шт.

41

A30083

VALVE SPRING

SPRING - lock rod

2шт.

42

195-533

WASHER,1/2", SAE

- plain, 17/32 x 1-1/16 x 3/32"

2шт.

47

A65699

KNOB

- lock rod (Replaced A65541 & A62078)

2шт.

48

A43540

AXLE PIN

PIN - draft arm to coupler (1-1/8" x 4-3/4")

2шт.

49

A43541

PIN

- upper link to coupler (1" x 5")

1шт.

50

132-202

COTTER PIN,3/8" x 2 1/2"

Pin, Split (Cotter), 3/8" x 2 1/2"

3шт.

51

T50113

PIN

- cotter, hairpin

3шт.

NSS

NOT SOLD SEPARAT

KIT - locking latch (order individual parts) (includes ref. 53 & 54)

1шт.

53

A43092

CLIP

- lock

2шт.

54

25-148

JAM NUT,Jam, 1/2"-13, G5

- jam, 1/2" NC hex

2шт.

55

138-94

LOCK PIN,3/16" x 7/8", Slotted

PIN, 3/16" x 7/8", Slotted

2шт.

56

T32995

ADAPTER

- coupler (for Cat. II implement) (1-1/8" I.D.)

2шт.

57

138-188

LOCK PIN,7/16" x 1 1/2", Slotted

PIN, 7/16" x 1-1/2", slotted

2шт.

Выбрано товаров: 49